在前面的文章中有介绍过这款JUSTG主机商,有提供南非和俄罗斯两个机房VPS主机,现在也有新增一个日本软银线路机房的VPS主机。当然看主机商是英文界面,实际上是国人创办的,这个我们如果遇到很多的主机商都这样子的。一来是希望做全球生意的,二来有包装成英文界面,感觉高大上,实际上我们要说明应该是国人服务商。新增的日本机房有提供半价活动,500M带宽起步,9.99美元半价+。

这款日本软银VPS主机采用的是KVM虚拟,SSD阵列,500Mbps带宽,自带一个IPv4地址,三网软银线路。如果有需要可以增加IPv4,1个3美元,2个6美元。
| 内存 | CPU | 硬盘 | 流量 | 带宽 | 价格 | 选择 |
| 512M | 1核 | 10G | 500G/月 | 500M | $9.99/月 | 链接 |
| 1G | 2核 | 20G | 1T/月 | 500M | $19.99/月 | 链接 |
| 2G | 3核 | 40G | 2T/月 | 500M | $29.99/月 | 链接 |
| 4G | 4核 | 80G | 3T/月 | 500M | $39.99/月 | 链接 |
| 8G | 5核 | 160G | 4T/月 | 500M | $49.99/月 | 链接 |
| 16G | 6核 | 240G | 5T/月 | 500M | $89.99/月 | 链接 |
| 24G | 7核 | 320G | 6T/月 | 500M | $119.99/月 | 链接 |
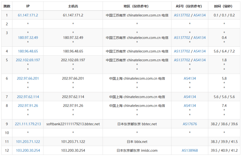
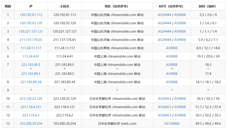
日本机房测试IP:103.200.30.254
这里,我们简单的测试性能。

从全球PING测试节点可以看到,亚洲节点速度还是比较好的,尤其是我们国内的速度访问还是比较低的。

测试电信节点路由去程,走的是202.97节点。

联通节点可以看到直接从上海219节点去日本的。

移动节点,也是从上海221.183节点出去的。整体的速度和节点还是比较好的,毕竟算是比较好的软银节点线路。
投上你的一票

康维主机测评-网站SEO优化







