我们网友对于七牛的产品应该不算陌生,商家算是在国内较早提供云存储、CDN的服务商之一,而且老左在之前的文章中也有介绍过他们家的云存储相关活动。比如新注册用户每月拥有10GB存储和10GB流量,对于一般的个人网站是够用的。与此同时,七牛云商家从上个月开始尝试推出云服务器产品。
从用户角度考虑,毕竟在使用云存储、CDN,其他云解决方案的时候,还是有用户需要用到云主机产品的,所以有提供云主机产品算是同类的周边产品补充。这就是我们所谓的产品生态。老左其实在之前也有看到商家新上线云主机的时候有发布促销活动,新老用户初次使用云服务器可以低至9.9元的体验,或者企业用户免费体验一个月。在开始的时候记得个人可以1元体验的。
在这篇文章中,老左准备体验下他们家华东地区(上海)云服务器的产品,包括几个常规的数据参数整理。
第一、七牛云官方网站
从产品上看应该是与阿里有合作通道的,数据中心包括国内、国外多个机房。在这篇文章中,老左测试上海机房2核、4GB内存、2M带宽的产品。
第二、Ping速度测试

毕竟是国内机房,速度肯定没有问题。
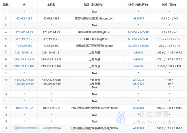
第三、路由追踪数据

毕竟在国内的机房节点,肯定是比较友好的。

随机测试一下美国节点的路由,不过一般我们很少用国内机房面向海外用户。如果是海外用户的话还是选择海外机房比较友好。
第四、配置信息
CPU 型号 : Intel(R) Xeon(R) Gold 6149 CPU @ 3.10GHz CPU 核心数 : 2 CPU 频率 : 3100.002 MHz 总硬盘大小 : 40.0 GB (1.6 GB Used) 总内存大小 : 3790 MB (176 MB Used) SWAP大小 : 0 MB (0 MB Used) 开机时长 : 2 days, 15 hour 15 min 系统负载 : 0.01, 0.03, 0.05 系统 : CentOS 7.4.1708 架构 : x86_64 (64 Bit) 内核 : 3.10.0-693.2.2.el7.x86_64 虚拟化平台 : kvm
第五、IO硬盘读写
硬盘I/O (第一次测试) : 108 MB/s 硬盘I/O (第二次测试) : 109 MB/s 硬盘I/O (第三次测试) : 109 MB/s
第六、国内节点下载
Node Name Upload Speed Download Speed Latency 襄阳电信 1.70 Mbit/s 0.00 Mbit/s 000.000 ms 昆明电信 2.55 Mbit/s 114.95 Mbit/s 7.047 ms 沈阳联通 2.26 Mbit/s 109.22 Mbit/s 56.611 ms 西安联通 2.57 Mbit/s 109.60 Mbit/s 47.424 ms 上海联通 2.26 Mbit/s 103.88 Mbit/s 4.627 ms 重庆联通 0.00 Mbit/s 0.00 Mbit/s 000.000 ms 西安移动 2.26 Mbit/s 110.28 Mbit/s 56.057 ms 宁波移动 2.39 Mbit/s 93.06 Mbit/s 136.053 ms 成都移动 0.84 Mbit/s 0.00 Mbit/s 000.000 ms
毕竟国内的云服务器带宽有限,如果是用来做下载用途的,那速度肯定一般。所以这里只测到国内节点的简单下载测速,不过如果我们土豪可以直接升级带宽或者以流量计费模式。
第八、跑分测试记录

总结,以上这篇文章是老左对于七牛云服务器上海机房的简单测试体验。既然他们家有推出云主机产品,其实我们以后有在使用它们其他产品的时候可以直接并入到体系中。
投上你的一票

康维主机测评-网站SEO优化

