亚马逊云(Amazon Web Services,简称 AWS)是全球云计算市场的领导者,自 2006 年推出以来,凭借其全面的服务体系、强大的全球基础设施、领先的技术创新和深厚的行业积累,持续占据全球云计算市场份额首位,为数百万企业和开发者提供包括计算、存储、数据库、人工智能、物联网、安全等在内的一站式云服务,是全球企业数字化转型和上云的首选平台之一。
虽然如今不缺少云服务商和产品,但是面向企业或者生产业务用的云产品,我们还是建议尽量的选择主流的老牌的服务商。对于亚马逊云,对于新客的个人和企业也都有免费福利。比如有提供免费12个月的指定款云服务器EC2、三个月的轻量服务器、免费12个月的S3存储、永久免费的CDN服务等等上百款云体验产品。
对于我们基础业务用到的云服务器EC2服务器,我们可以看到有提供全球几十个云服务器机房,尤其是近几年的东南亚的电商出海业务,我们较多的用到香港云服务器。在这篇文章中,我们准备体验这款免费12个月的t2.micro 实例的云服务器。如果我们还没有申请且有申请资格的也可以申请。
亚马逊云EC2开通:亚马逊云EC2免费开通
这里我们在申请完毕账户后就可以去申请开通EC2服务器,我把开通和测评过程记录。

在开通香港EC2服务器之前,我先要确定要开通的机房地区。在右上角可以看到这些地区,如果我们有些地区没有放行的话可以全部放行申请即可在这个列表看到。

完毕设置机房之后,我们在搜索EC2看到 EC2服务器开通的界面。

如果我们看到的是英文,你也可以右上角切换成中文,然后准备启动实例。

根据提示,我们设置名称,然后设置系统和配置的免费支持的系统。

一定要选择免费的实例,这样才可以体验免费的试用资格。

与其他不同的,亚马逊云产品是用的密钥登录,我们需要创建一个密钥下载到本地,后面用SSH登录用密钥链接,不要用密码。且如果我这里设置的是Ubuntu系统镜像,用户名是 ubuntu,登录SSH后,我如果需要用到root用户,需要提前将设置重置root密码后再su root切换过去。

对于香港云服务器的防火墙安全组,我们可以默认即可,后面再对于安全组设置放行端口。

开通后,我们可以看到服务器的配置IP地址,后面就可以去登录SSH连接后准备测试机器。

这里我用PING测试工具检测的全球节点的延迟测试,可以看到稳定性相当高的,没有超时问题。
然后开始测试这台香港VPS的去程路由。
电信去程:

联通去程:

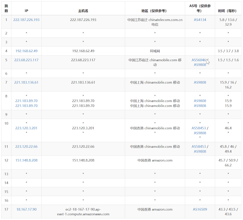
移动去程:

我们可以看到这台香港云服务器产品,虽然不是我们所谓的CN2精品网络,但是应付出海外贸业务还是绰绰有余的,稳定性也是相当好的。

这里是测试的当前香港EC2服务器的配置、硬件数据。这里我要说一下的,默认开通EC2服务器的时候是8GB存储,我们要自己手动设置添加存储或者后续扩展,免费云服务器有30GB存储。

对于当前香港云服务器的IP地址的流媒体支持情况。

三网回程线路的测试。

然后我们再测试IP的干净度。
总结一下,对于这台我用的香港免费VPS主机而言,还是可以应付我们大部分的基础云业务的。如果我们还没有申请的,可以看看是否符合资格且申请体验。毕竟现在有免费这么久的云产品还是很难得的,尤其是这样的亚马逊这样的品牌服务商。
投上你的一票

康维主机测评-网站SEO优化

