老左昨天有记录到edgeNAT服务商有新推出香港HGC家宅双ISP原生IP的VPS主机,适合有需要流媒体或者社交平台的远程办公用途。在这篇文章中简单的测评他们的这款香港家宅VPS的性能参数。
推荐阅读

edgeNAT 新增香港HGC家庭住宅双ISP IP地址VPS主机
edgeNAT,一个小众的国内云服务商,有提供韩国、香港、美国CN2优化线路的云服务器和独立服务器。这里看到有新增香港家庭双ISP IP的云服务器主机。拥有500M带宽,支持Win和Linux系统可选,解锁常用的NF、Disney+、Ama […]
更新日期:2025/3/4
阅读全文
我们先看看他们的香港HGC云服务器的全球PING速度。

我们可以看到国内和亚洲节点的速度还是相当可以的,而且没有丢包。
然后我们看看他们的服务器IP的质量,是否干净。

我们可以看到他们的IP还是 很干净的,包括解锁的流媒体,而且还是原生IP。

这里我们在用脚本测试一下支持的流媒体平台。
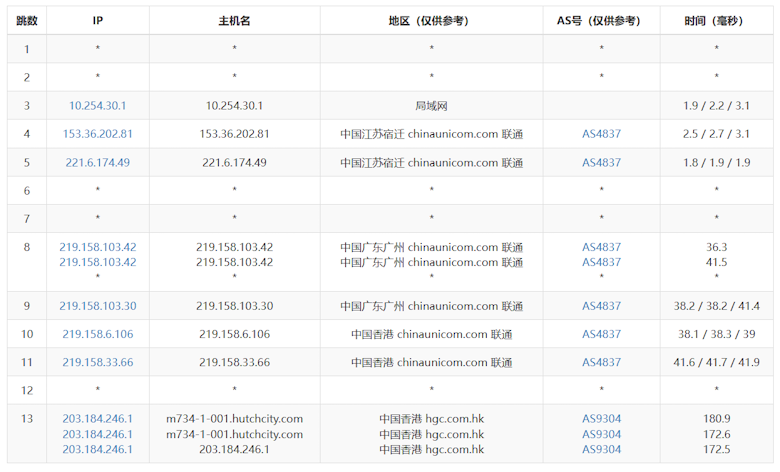
最后,我们简单测试国内三网的去程。
电信去程:

我们可以看到是从202.97节点去香港的。
联通去程:

移动去程:

总之,我们可以看到edgeNAT服务商的香港HGC云服务器的性能还是不错的,适合我们有需要香港家宅IP的选择。
推荐阅读

便宜香港VPS商家有哪个可选?五个小众便宜香港云服务器VPS
便宜香港VPS商家有哪个可选?由于香港机房的速度优势基本上和内地机房的速度相当,所以深受用户喜欢。但是最近几年我们看到国内的一些服务商陆续提价,腾讯云香港服务器已经将近千元,于是很多网友开始找找有没有CN2优化线路且性价比较高的香港云服务器 […]
更新日期:2024/10/14
阅读全文
投上你的一票