Lightlayer 服务商我们应该是熟悉的,有提供全球多个机房的云服务器、独立服务器等产品,这次他们推出一款美国圣何塞机房的特价VPS,可选CN2优化线路、普通标准线路、国际带宽线路,优惠后低至年付10.9美元,适合有需要特价低价的VPS,库存有限。
| 机房 | CPU | 内存 | 硬盘 | 流量 | 带宽 | 促销/年 | 链接 |
| 圣何塞 | 1核 | 1G | 50G SSD | 1T | 1Gbps国际 | $10.9/年 | 购买 |
| 圣何塞 | 1核 | 1G | 50G SSD | 1T | 1Gbps普通 | $19.9/年 | 购买 |
| 圣何塞 | 1核 | 1G | 50G SSD | 1T | 1Gbps优化 | $29.9/年 | 购买 |
我们可以看到有三个线路可选,如果我们有需要的可以根据实际选择。
三个机房的测试IP:
优化(Premium):128.241.250.254
标准(Standard):128.241.252.254
国际(Global):128.241.254.254
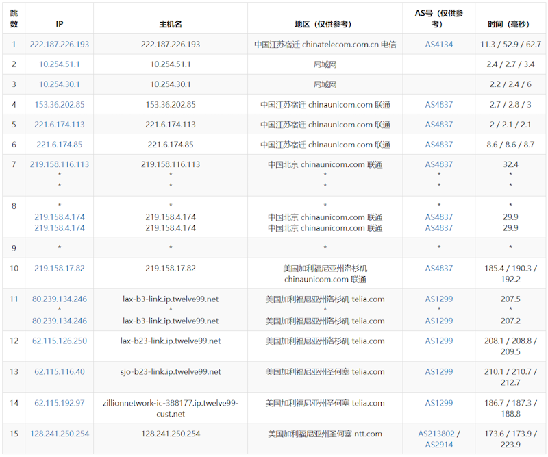
这里,我们简单看看优化线路路由。

随机测试优化线路电信路由去程,可以看到的是走的59.43优化网络。

联通节点的去程测试。

本地我电信的PING测试,速度还是比较优秀的。
投上你的一票

康维主机测评-网站SEO优化








