SaltyFish,一个小众的海外主机产品,有提供德国、美国等机房的云服务器VPS主机,其中德国VPS采用的是CN2 GIA优化线路。对于欧洲VPS机房而言有优化CN2 GIA线路的还是不多的,而且 SaltyFish 主机商的德国VPS居然是有2.5Gbps大带宽的,还是有很大的竞争力。
| 套餐 | CPU | 内存 | SSD | 带宽/流量 | 价格 | 购买 |
| fra.p1.mini | 1核 | 1G | 15G | 2.5Gbps/1T | $7.8/月 | 链接 |
| fra.p1.micro | 1核 | 2G | 20G | 2.5Gbps/2T | $15/月 | 链接 |
| fra.p1.medium | 2核 | 4G | 40G | 2.5Gbps/4T | $30/月 | 链接 |
如果是用季度以上方案可以用到八折优惠券:FRA-P-LDV6GKNWH4
我们看看三网去程。
电信去程:

联通去程:

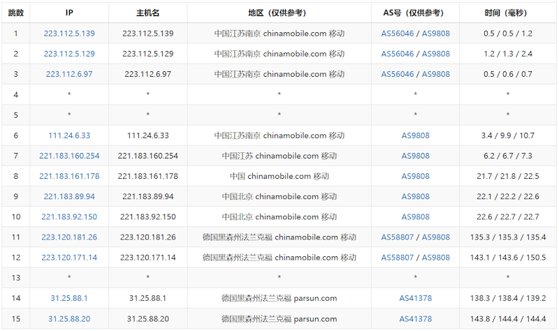
移动去程:

我们可以看到三网均是直连线路。
投上你的一票

康维主机测评-网站SEO优化








