今天看到80VPS主机商有新增马来西亚VPS主机套餐,这里开通一台看看性能。配置上面5M带宽起步不限制流量,默认1个独立IP,不同的配置再送的独立IP不同,16G内存方案有赠送8个独立IP。
| 套餐配置 | 独立IP | 价格 | 选择购买 |
|---|---|---|---|
| 1G内存2核30G SSD | 1 | 90元/月 | 链接 |
| 2G内存4核50G SSD | 1 | 180元/月 | 链接 |
| 4G内存6核80G SSD | 2 | 360元/月 | 链接 |
| 8G内存8核120G SSD | 4 | 700元/月 | 链接 |
| 16G内存10核220G SSD | 8 | 1300元/月 | 链接 |
同时,还有三款年付套餐可选。
| 套餐配置 | 带宽 | 价格 | 选择购买 |
|---|---|---|---|
| 双核 1GB 20GB | 4M | 299元/年 | 链接 |
| 四核 2GB 40GB | 5M | 599元/年 | 链接 |
| 四核 4GB 80GB | 10M | 999元/年 | 链接 |
这里我们也开通一台机器看看性能。

本地的PING测试 可以看到基本上在80ms左右。

全球节点的PING测试,可以看到基本上没有丢包的问题,亚洲的速度也是比较稳定的。
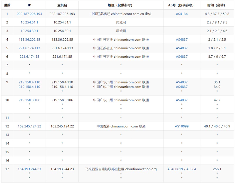
然后看看三网去程。
电信节点:

联通节点:

移动节点:

我们可以看到三网去程中,电信还走的优化线路,移动和联通走的是香港节点出海到马来西亚的。有朋友要问的,他们节点是否原生IP,官方告知并非原生IP。

这里是这台机器的硬件配置性能。

流媒体检测可以看到大部分的流媒体平台都是支持的。

三网的回程测试,可以看到电信走的是CN2 GIA网络,联通4837,移动是CMIN2精品网络。
1/5 – (1 票)

康维主机测评-网站SEO优化








