80VPS,一个主营国内国外独立服务器、站群服务器, 及常规VPS的云服务商家。以前老左记得他们家的产品特点就是拥有众多的数据中心,最高的时候达到20-30个机房,后来随着市场的变化精简。目前商家保有原有的VPS业务之外,还有独立服务器和站群服务器,在这里看到他们家的洛杉矶MC机房的站群服务器,拥有8个C段,232个独立IP。

其中主推的这款MC机房站群服务器,E3-1220 8C段的每月900元,还是比较有性价比的(选择套餐)。
站群主机不允许任何滥用,如账户下滥用超过3次则不再允许购买新机,单台服务器滥用超过3次,主机不允许续费,严重者直接下架。
这里,我们简单测试看看。

本地电信的PING测速可以看到平均150ms左右,还是比较稳定的。

全球节点的PING延迟可以看到基本没有丢包问题。
这里我们看看三网的去程:
电信去程:

移动去程:

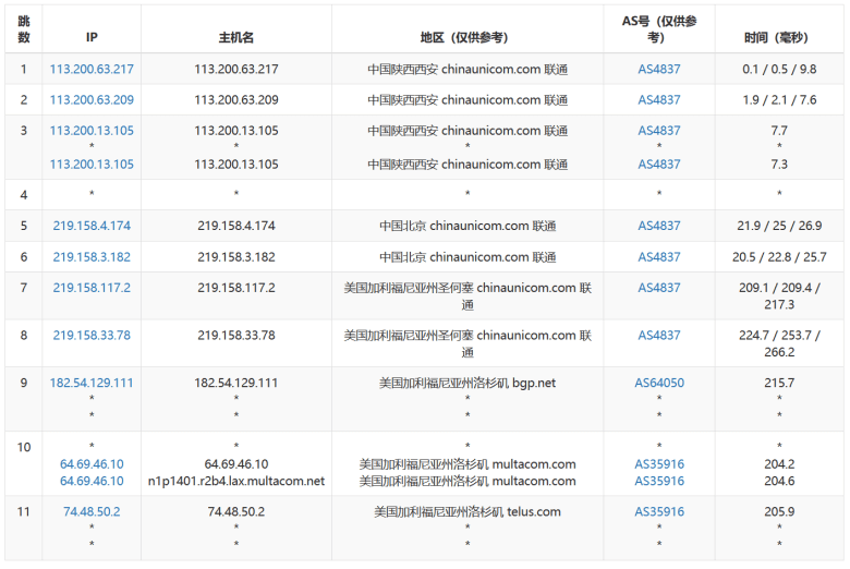
联通去程:

可以看到,三网均是直连的,稳定性也是比较高。如果需要多IP站群美国服务器的,可以选择。
投上你的一票

康维主机测评-网站SEO优化



