JuHost,一个新成立的香港主机商。目前有提供100M带宽的香港BGP直连VPS主机产品。在前面我们也有介绍到起步配置4.99美元每月,且当前折扣后2.99每月。毕竟是新商家,我们选择可以月付试试。商家给的配置还是比较高的100M带宽起步1TB每月流量,根据需要可以升级流量或者是新换新的IP地址,在这篇文章中老左准备亲自测试看看他们家的机器。
这里我们先整体看看商家的机器配置情况。

包括可以看到随机节点的下载和上传速度。IO读写能力还是比较好的。

PING速度延迟率都还不错,丢包基本没有。看到香港机房在我们国内节点速度基本上还是保持50ms左右的。

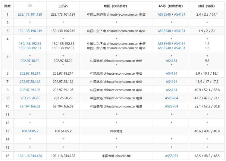
这里我们可以看到电信去程走的是CTGNet节点。

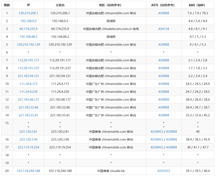
这里是移动节点去程。

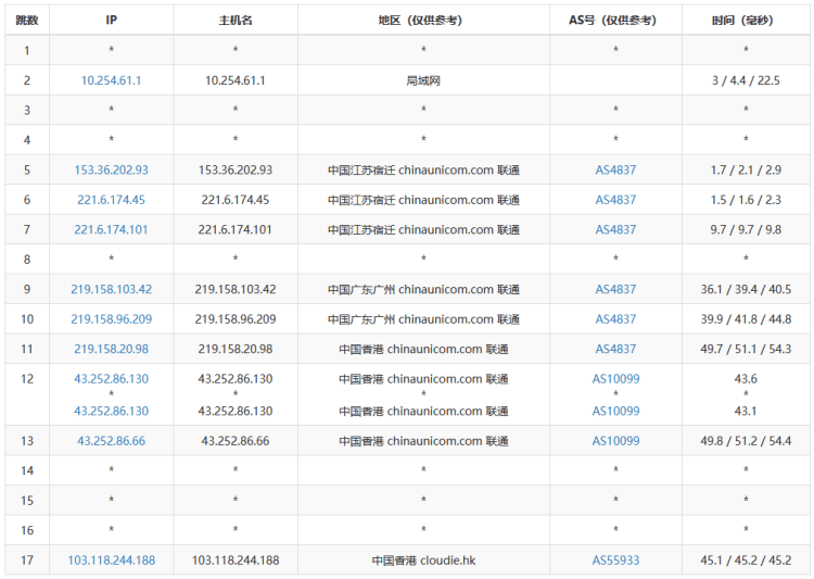
联通节点去程,直连联通香港节点。

电信回程。

联通回程。

移动回程。
从线路上和价格上,JuHost这款新产品还是有点优势的,如果我们有需要香港VPS的可以试试。
投上你的一票

康维主机测评-网站SEO优化


