华纳云有提供美国服务器,数据中心采用的是美国洛杉矶T3+数据中心,物理距离距我们还是比较近的,线路上是电信CN2、联通、移动三线直连中国大陆,CN2大带宽高速回国,平均延时约130-160ms。而且有赠送20G DDoS防御,带宽默认是50M独享带宽。

租用华纳云美国服务器的优势:
1、美国服务器位于洛杉矶数据中心,T3+IDC机房评定标准, 具有冗余设备和容错能力, 提供99.9%可用性!机房拥有顶级DDoS防御,优越的DDoS探测、保护和过滤,支持T级防护。机房拥有BGP国际多线网络, CN2、联通、移动点对点直连带宽,线路优质。
2、美国服务器多种配置方案可供选择,支持按需定制配置,支持Windows和Linux多操作系统,用户可自主选择,IP数量和带宽大小支持自定义扩展,默认50M CN2带宽,最高可享1G大带宽,下单就赠送20G ddos防御。
3、邮箱注册即可购买,1小时快速交付机器,支持硬件上架、更换、故障快速排查等服务,支持24h工单,设备定制。
华纳云美国服务器套餐推荐:
| 处理器 | 内存 | 硬盘 | 带宽 | 防御 | 价格 | 购买 |
| E5-2660 V2 | 16G | 500G SSD | 50M | 20G | 688/月 | 链接 |
| E5-2660 V2 | 32G | 500G SSD | 50M | 20G | 888/月 | 链接 |
| E5-2660 V2*2 | 64G | 500G SSD | 50M | 20G | 1288/月 | 链接 |
| E5-2660 V2*2 | 64G | 500G SSD*2 | 50M | 20G | 1488/月 | 链接 |
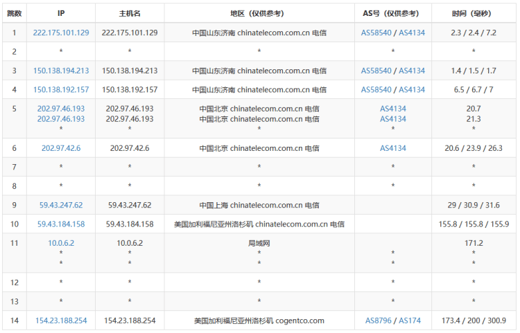
网络测试ip:154.23.188.254
我们简单测试下线路速度。

这里看看我本地电脑的PING速度。

全球随机节点的PING速度测试。丢包还是比较少的。

随机电信的去程看看是不是优化CN2,确实看到的是59.43节点。
投上你的一票

康维主机测评-网站SEO优化

