Tmhhost 国内的主机商老左在之前的文章中也有几次介绍到,根据商家的说法目前商家ISP和ICP等手续也全部办妥,可以大胆的开启业务。包括老左也有认识到国内的其他商家也在陆续的办理手续,看来主机行业是要越来越规范。这次看到Tmhhost 商家有新增香港CN2 GIA 三网优化线路,电信、联通、移动 全部走CN2 GIA。
在这篇文章中,老左先简单的分享他们的这次活动产品。这几天等工作不忙再去入手一台机器测试实际的性能,毕竟实际的回程走向只能有服务器才可以测试,没有服务器的时候只能测试去程走向。

第一、Tmhhost 香港服务器方案
Tmhhost 这次提供的香港CN2 GIA 主机,采用的是三网回程走cn2 gia、去程电信走CN2、联通和移动直连,KVM虚拟,纯SSD,不限流量,1G内存的不支持Windows系统。
| CPU | 内存 | 硬盘 | 带宽 | 价格 | 购买 |
| 1 | 1GB | 40GB | 3Mbps | 45元/月 | 购买查看 |
| 2 | 2GB | 60GB | 3Mbps | 90元/月 | 购买查看 |
| 4 | 4GB | 80GB | 5Mbps | 180元/月 | 购买查看 |
| 4 | 8GB | 80GB | 5Mbps | 360元/月 | 购买查看 |
我们可以看到起步3M带宽,默认1GB内存是不能安装Windows系统的,其他都是可以的。
第二、香港服务器测试IP地址
这里商家提供官方的测试IP,在这里老左就简单的测试,后面我实际购买后再详细评测。
香港CN2 GIA:160.116.57.57
这里我们测试看看。
1、PING速度测试

2、电信路由去程

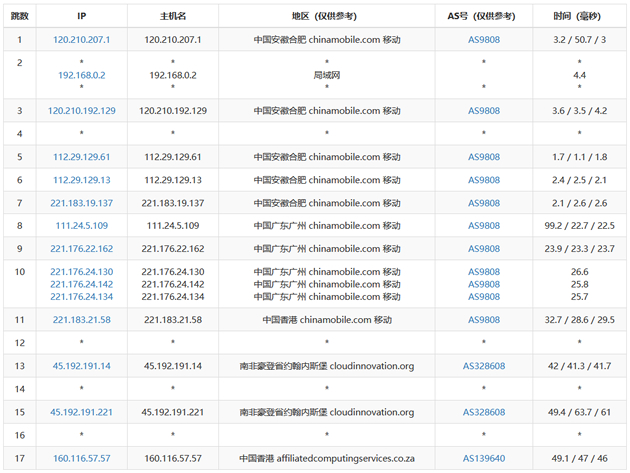
3、移动路由去程

总结,以上是Tmhhost 商家新增香港CN2 GIA 三网优化的云服务器(VPS主机产品),同时商家也有提供美国洛杉矶 cera 机房高防CN2 GIA线路云服务器,包括镇江BGP 高防服务器。
投上你的一票

康维主机测评-网站SEO优化







