老左在今年七八月份的时候有过初次接触到Megalayer商家的香港服务器,那时候正好有网友在寻找香港服务器,于是通过几个可选方案中有正好体验到一次。Megalayer商家应该算是一个新商家,如果没有挖掘错误的话应该是去年成立的,前几天看到Megalayer商家有新增美国独立服务器以及据说后面也有新增VPS主机,所以正好这里有一台网友新开的测试机,借用过来评测一下。
去年才开始的时候Megalayer默认独立服务器的IP地址是只有一个的,后来有增加默认三个IP地址,这个对于有需要多个IP地址分离项目不同IP解析的还是有较高性价比的。今天先不管配置,有需要了解配置的可以参考”Megalayer香港服务器配置一览及E3-1230 8GB服务器评测记录“之前有记录,配置以实际为准。
第一、PING速度测试

目前是晚上,测试的IPIP默认节点的延迟PING速度。
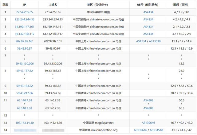
第二、路由去程
1、电信

2、移动

第三、香港服务器配置信息

第四、IO读写和下载测速

以上简单对于Megalayer香港服务器测试记录,等这个同学后面安装宝塔面板之后再测试下宝塔面板自带的性能测试,目前他没安装我也不好测试。
投上你的一票

康维主机测评-网站SEO优化








