TmhHost 商家老左在六月份的时候有初次接触过这个商家,商家成立有这么四五年时间,主要还是提供亚洲节点的云服务器产品。看到TmhHost 商家有新增日本CN2 VPS主机,服务器托管在zenlayer东京机房,线路是电信双向CN2、联通去程NTT+回程CN2线路,以及移动线路是双向直连。
服务器的配置是固定带宽限制,不显示流量,可以安装Windows等系统。毕竟国内商家中基本上都是Linux和Windows系统支持的,对于有需要WIN系统选择国内商家可选机会多。

第一、日本CN2云服务器配置
日本VPS主机采用的是KVM架构,SSD固态硬盘,支持windows和Linux系统。
- CPU:1核
- 内存:1GB
- 硬盘:20GB
- 流量:不限制
- 端口:3Mbps
- 架构:KVM
- IP数:1独立IP
- 价格:35元/月(日本CN2)
- CPU:2核
- 内存:2GB
- 硬盘:40GB
- 流量:不限制
- 端口:3Mbps
- 架构:KVM
- IP数:1独立IP
- 价格:70元/月(日本CN2)
我们可以看到商家还有香港CN2、韩国CN2、美国洛杉矶CN2 GIA等线路方案,大大小时十几个数据中心机房可以选择。
第二、TmhHost 日本CN2 测试IP
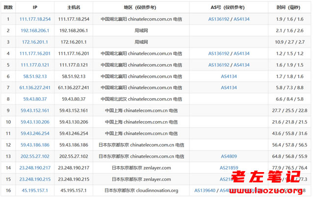
在这篇文章中,老左先测试下官方提供的IP地址(45.195.157.1)速度和线路,下周老左去开一台测试机实际测试下速度和性能。

然后我们看看随机电信路由。

投上你的一票

康维主机测评-网站SEO优化








