老左对于HostDare商家之前也是有不少篇幅的记录的,商家背景是国外的众多个人服务商之一,主要面向的应该是针对我们国内的消费者推出的低价年付套餐,再到目前的CN2 GIA优化线路产品,确实在之前几年中一直在跟随用户需求和市场变化改变。对于商家产品而言,有自身的优势,也有一些不足。老左也看到有一些网友站长的网站是放在上面的,但是我个人建议任何个人服务商,当然也包括企业服务商,我们都需要定期备份数据。
在这篇文章中,好不容易看到HostDare洛杉矶CN2 GIA优化线路补货。这里老左准备今天对于这家服务器的CN2 GIA优化线路进行详细的评测,因为目前看到不少商家提供CN2 GIA线路服务器比较少,而且由于特殊原因居然大部分商家也缺货或者涨价。当然,仅仅是评测,我们选择的时候自行考虑。
第一、HostDare CN2 GIA部分配置
最近一段时间,我们也都看到不少商家洛CN2 GIA线路要么涨价,要么缺货,甚至有类似HostDare商家一样基础方案都改成年付方案。确实对于个人用户来说,首次成本会增加不少。
- CPU:1核心
- 内存:756MB
- 硬盘:35GB
- 流量:600GB
- 带宽:50Mbps
- 架构:KVM
- IP数:1独立IP
- 价格:$49.99/年(购买)
- CPU:2核心
- 内存:1.5GB
- 硬盘:75GB
- 流量:1TB
- 带宽:65Mbps
- 架构:KVM
- IP数:1独立IP
- 价格:$76.99/年(购买)
以上是两个HostDare基础的洛杉矶CN2 GIA套餐方案,均需要年付才可以,当然也有其他月付、半年方案,均是比较高配和高价预算成本的。
第二、HostDare CN2 GIA评测
在这篇文章中,老左实战演示洛杉矶CN2 GIA的配置以及线路情况。看看实际的性能到底如何,当然这些评测均是只能在演示上的数据而已,实际使用过程还是需要不同的项目实战体验为准。
1、Ping 延迟速度

2、路由去程测试
A – 电信测试

B – 移动测试

C – 联通测试

3、服务器配置信息

4、IO和上传速度

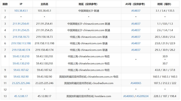
5、回程路由测试
A – 电信回程

B – 移动回程

C – 联通回程

总结,我们可以看到HostDare洛杉矶CN2 GIA服务器三网去程都是CN2线路,联通移动回程不是CN2。
投上你的一票

康维主机测评-网站SEO优化








