Hostodo商家老左在以前几年是有接触和使用过的,好像我在Hostodo账户中还有一台年付12美元的洛杉矶VPS主机一直开着,过几天有机会测试看看性能如何。这不今天收到Hostodo的邮件看到商家有新增NVMe KVM VPS主机产品。这个是一个什么产品呢?NVMe实际上就是固态硬盘的一种,目前有拉斯维加斯和迈阿密两个机房可以选择,最低折扣有年付14.99美元。
NVMe固态,看着有点像SATA固态,M.2固态,实际上NVMe固态指的并不是一种接口,而是一种规范。NVM Express(NVMe),或称非易失性内存主机控制器接口规范(Non-Volatile Memory express),,是一个逻辑设备接口规范。他是与AHCI(串行ATA高级主控接口/高级主机控制器接口)类似的、基于设备逻辑接口的总线传输协议规范(相当于通讯协议中的应用层),用于访问通过PCI-Express(PCIe)总线附加的非易失性内存介质,虽然理论上不一定要求 PCIe 总线协议。(介绍文章参考英睿达官网)

Hostodo商家VPS主机支持支付宝付款,采用KVM架构,我们看看NVMe固态硬盘的部分方案和优惠券。
第一、Hostodo NVMe部分方案
这里,Hostodo商家推出NVMe三款年付优惠方案,有拉斯维加斯和迈阿密2个机房可以选择,支持三天不满意退款。
- 内存:1024MB
- 硬盘:12GB NVMe
- 流量:4TB
- 端口:1Gbps
- 架构:KVM
- IP数:1独立IP
- 价格:$20.00/年
- 优惠码:EMAILNVME1024
- 机房:拉斯维加斯 | 迈阿密
Hostodo从商家体量上看还是比较小的,但是还算不错一直坚持这么多年还在,且目前是采用的KVM架构和SolusVM管理,而且官方UI也有变化。上面是目前有NVMe硬盘的2个基础套餐和优惠码。
第二、Hostodo商家测试IP地址
拉斯维加斯IP:45.59.126.243
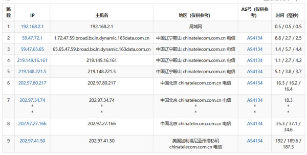
第三、Hostodo机房PIING测试数据

这是随机的PING速度。

路由去程测试。
总结,以上简单的测试Hostodo官方提供的拉斯维加斯机房速度,后面我们也准备买一台测试看看。
投上你的一票

康维主机测评-网站SEO优化






