老左手上有一台anyNode商家的256MB内存的KVM VPS已经最后提醒是否续约,当然我肯定不准备要的,这不在让他到期结束之前还是发挥余热写一篇速度评测记录,一来是好久没有接触这个主机商,以后可能也不准备选择,并不是商家如何不好,而是一般用不到这么多商家产品,而来是之前老左有看到有同学提到这个商家洛杉矶线路走的CN2 GIA,我只记得以前是可以更换优化线路的,是不是CN2 GIA线路准备测试看看。
在写这篇文章之前,老左还查看这个商家的几个KVM VPS套餐发现都缺货状态,不清楚是真用户喜欢还是其他原因,我们也就先不关心这个。目前老左准备评测的anyNode VPS主机是年付12美元的套餐,看似好像稀缺,但是也没有什么用就不要了。
第一、PING速度测试
目前老左测试商家PING节点速度是在晚上。

第二、配置信息参数
这里我这台机器是256MB配置的,曾经在hostigation时代还是需要靠夜里抢购的。

第三、IO读写能力测试

第四、三网下载上传
这里老左用工具测试anynode三网节点上传和下载测速。

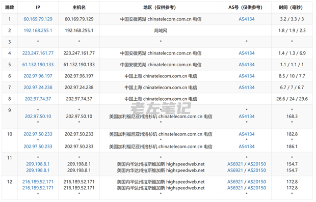
第五、去程路由测试
我们看看是否走CN2 GIA。

从速度上看,还是能用的,目前手上这台年付12美元如果是玩玩还是不错。可以看到并非是CN2 GIA线路。
投上你的一票

康维主机测评-网站SEO优化


