BGPTO商家我们可能有些网友是知道的,是我们熟悉的KVMLA老板和其他人合办的一个以独立服务器为主的商家品牌,其中包括新加坡、中国香港、日本等亚洲数据中心为主的服务器。最近到新年来临之际,看到不少商家活动也减少,老 左也没有多少内容可以更新,正好前几天有网友提到需要独立服务器的,这里BGPTO商家有推出新加坡CN2独立服务器,有需要的可以试试。
目前,看到有提供10M带宽不限制流量,且IP为五个的新加坡服务器,以及还有一款需要预约定制的独立服务器,需要到一月中旬才能上架。

第一、服务器部分方案
- CPU:E3-1230v3
- 内存:8GB
- 硬盘:2TB
- 流量:不限制
- 带宽:10Mbps
- IP数:5独立IP
- 机房:新加坡
- 价格:$93/月(购买)
- CPU:E5-2630Lv2
- 内存:32GB
- 硬盘:480G SSD
- 流量:不限制
- 带宽:10Mbps
- IP数:5独立IP
- 机房:新加坡
- 价格:$112.5/月(购买)
这款两款新加坡独立服务器后者双路E5-2630Lv2服务器在18号开始上线, 现在可以提前定制服务器, 大内存和M.2 SSD以及带宽都可以选择,可以使用优惠码:Y4N2B5GQPA,七五折优惠。
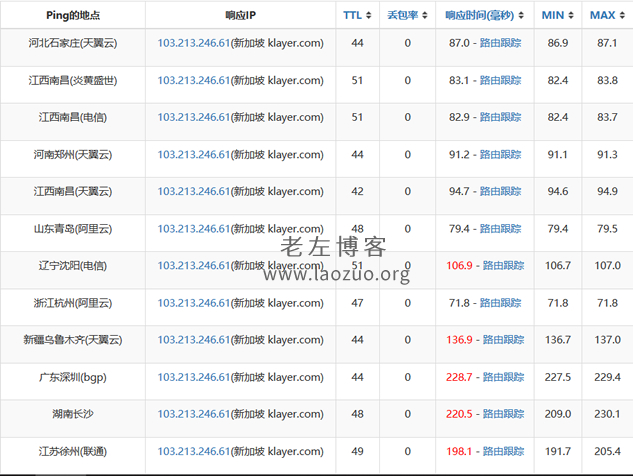
第二、测试IP地址
新加坡:103.213.246.61
PING速度测试:

这里老 左(LAOZUO.ORG)申请开通一台测试机后后面再测试实际的体验性能,因为从以前的一些机器我们可以看到有些商家服务器性能配置不错,但是建站等项目体验一般,最直接的体验还是搭建成项目后体验速度。
投上你的一票

康维主机测评-网站SEO优化






