今天是国庆节,首先老 左祝福祖国和广大网友节日快乐。目前阿里云商家提供的云产品基本上涵盖我们需要的和一些我们不需要的,对于云服务器我们可以看到有独立虚拟主机、ECS云服务器、弹性裸金属服务、轻量应用服务器等,对于有一定经验的网友选择不难,但是有些新手网友选择服务器都首先看价格。比如我们有看到轻量应用服务器中国香港机房低至24元每月起步,于是大家都去选择,实际在使用后发现速度并不如期望的那样。
中国香港轻量服务器回程都是 CN2,去程电信是 NTT,同时联通、移动直连。所以,在速度和稳定性上是不如ECS服务器直连香港机房的,这个也是便宜的原因。今天早上老.左也在等待大阅兵直播节目,闲着也是闲着,就利用这个时间详细的对于阿里云轻量服务器香港机房进行线路的测试。
阿里云轻量服务器相关文章:
1、阿里云轻量应用服务器香港机房月24元/30M方案体验测试
第一、轻量服务器香港机房PING测试

从PING速度测试看感觉速度还不错,可能很多人都会被这样的测试迷惑。因为有些主机商确实PING速度不错,但是在实际使用的时候会有点卡顿,没有实际看到的速度流程。在之前老 左有体验过基础套餐的性能,在这里我就不测试,这篇主要是测试线路。
第二、随机电信节点线路路由测试

这里我们可以看到电信节点是走NTT线路的,早上我们看到PING数据基本差异不大因为白天没什么感觉,但是晚上就很明显,有很多节点地区是PING速度超过100.
第三、随机移动节点路由测试

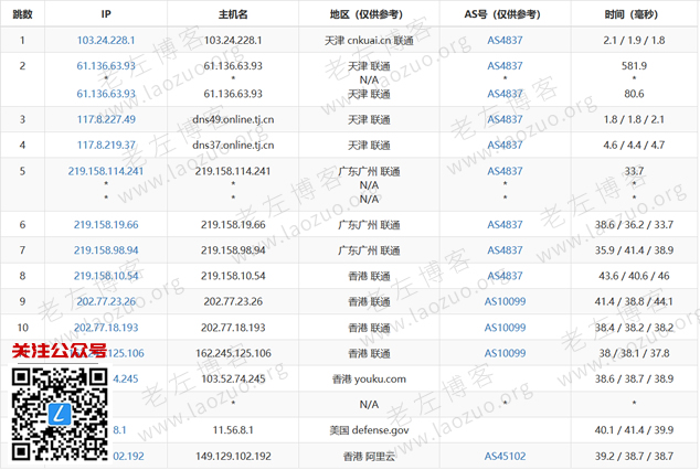
第四、联通节点路由追踪测试

总结,阿里云目前轻量应用服务器从价格上确实是比ECS服务器便宜,而且带宽配置宽裕很多,但是实际上电信线路是走NTT去程的,回程还是CN2,如果我们需要建站普通网站是可以用,如果你对速度要求苛刻的,建议还是选择传统ECS服务器。
投上你的一票

康维主机测评-网站SEO优化








