在之前的”RamNode新品OpenStack云服务器平台开通及主机方案设置“文章中,老左也有看到RamNode商家目前新开通的机器都是基于OpenStack云服务器产品,而且类似我们熟悉的Linode、Vultr商家可以采用小时计费模式,可以自定义镜像,价格上和以前的套餐都是差不多的,可以说比以前更加灵活。
从最近的变更推送邮件可以看到商家会对以前的产品进行变动。比如将原来的OpenVZ迁移至OpenVZ 7。老左有开通一台洛杉矶OpenStack云服务器,准备亲自测试看看他们的新环境产品性能和速度如何。RamNode商家还是比较低调的商家。
第一、PING速度测试

这里我选择的是洛杉矶机房,相对物理距离和线路会好一些。
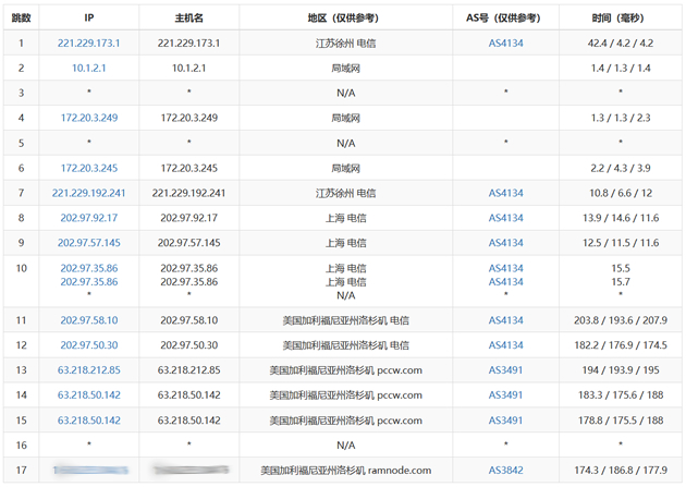
第二、路由追踪回程

这里选择电信节点测试下路由,移动和联通速度稍微比电信差一些。
第三、配置信息

第四、随机节点下载测速

以上是开通的Ramnode新架构面板的洛杉矶服务器性能测试。这里有一个小技巧,直接设置无SSH KEYS还无法进入,一定要设置一个SSH KEYS才可以登录远程。
投上你的一票

康维主机测评-网站SEO优化

