青果网络,一家国内的主机商 ,主要提供腾讯云、景安快云、天翼云云主机产品的分销,当然也有自有产品,包括青果云产品目前包括泉州移动、泉州电信CN2、日本大阪软银机房产品。以前老左有接触到他们家的产品中拨号VPS是他们家以前主打的产品,有需要拨号VPS的可以选择。
在周末的时候商家告知有新增加大阪软银线路的云主机产品,这里要到一台测试机简单测试。这应该是老左第一次介绍他们家的产品。(不清楚他家的实力如何,但是可以看到他们家2字符域名确实让我们喜欢域名的朋友羡慕)
第一、PING速度测试

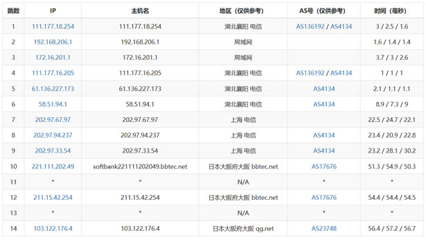
第二、路由线路回程
1、电信

2、移动

第三、配置信息及IO读写

第四、随机国内节点下载速度

第五、宝塔跑分测试

投上你的一票

康维主机测评-网站SEO优化


