海星云,一家国内的商家应该也是最近几年成立的,从信息介绍看是国内的一个小团队建立的。商家有提供美国、日本、香港、新加坡、荷兰等多个机房VPS主机业务,服务器采用KVM虚拟化,支持Windows或Linux。老左看到其商家选择机器可以选择流量计费或者是带宽计费模式,这里入手一台美国圣何塞机房机器进行简单的测试。
从介绍上看,美国圣何塞机房提供单个 IP 20G 免费高防保护,接入中国电信 AS4134 骨干网直连、中国联通直连,自营机柜和硬件设备,企业级 SSD Raid10 架构。不管说的多么厉害,直接看看机器性能如何。
第一、海星云圣何塞VPS配置
- CPU:1核心
- 内存:2GB
- 硬盘:30GB SSD
- 流量:不限制
- 端口:8Mbps
- 架构:KVM
- 系统:Linux/Windows
- IP数:1独立IP
- 价格:55.25元/年(查看)
- CPU:1核心
- 内存:4GB
- 硬盘:30GB SSD
- 流量:不限制
- 端口:10Mbps
- 架构:KVM
- 系统:Linux/Windows
- IP数:1独立IP
- 价格:63.75元/年(查看)
以上是海星云圣何塞机房的部分配置,可以使用hxkvm优惠码八折优惠。同时还有日本、新加坡、香港等多个机房可以选择。
第二、圣何塞测试IP
IP:23.236.68.219 (非原生IP,均有商家广播IP)
第三、圣何塞VPS测试记录
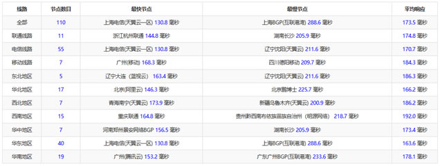
1、PING速度测试

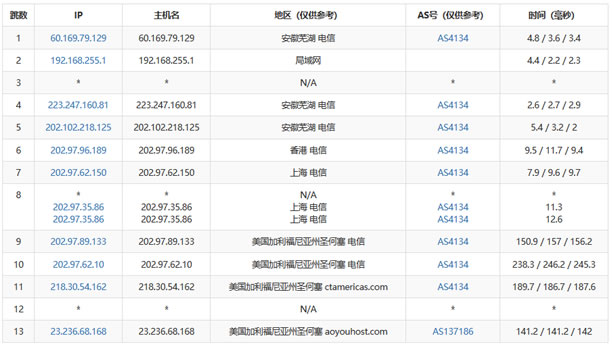
2、路由测试

这里测试的是电信路由回程,看到服务器的IP记录有傲游商家的信息,两者商家之间有关联?
3、配置和IO读写

4、随机国内节点下载测速

5、随机国内节点回程

总结,以上是老左对于海星云商家美国圣何塞机房的服务器简单测试。对于实际的使用过程还需要看服务、稳定性,以及售后。如果有用过的网友可以留言评价。
投上你的一票

康维主机测评-网站SEO优化




