在前一段时间,老左就看到阿里云有慢慢在推进轻量应用服务器,那时候我还和同事和网友在说,阿里云的产品部署特别让人费解,很多产品都相互冲突,而且名称太多不容易找到。原来他们的目的在此,应该是单独的轻量应用服务器做大带宽国内和海外机房的,这不前天有上线香港机房。
虽然线路上是回程CN2,但是在价格上确实可能会给行业内刷新新的低度。因为老左并没有接触和涉及主机这块业务,不清楚真正的成本是多少,难道之前我们看到的成本还有很大的下探空间?很多人提到阿里慢慢增加大带宽海外主机,包括香港机房,可能会给行业带来新的冲击。
但是,个人觉得也不一定,毕竟他们也有他们的优势和缺点。前天老左就直接下单了一台香港轻量云服务器,因为担心会缺货,其实今天看看还是有库存的,估摸着阿里云就准备这么长久下去。在这篇文章中,老左准备简单的测试看看这款香港轻量云服务器。
第一、基本配置情况
- CPU:1核
- 内存:1GB
- 硬盘:25GB SSD
- 流量:1TB
- 端口:30Mbps
- 架构:KVM
- IP数:1独立IP
- 系统:Linux/Windows
- 价格:24元/月(查看)
- CPU:1核
- 内存:2GB
- 硬盘:50GB SSD
- 流量:2TB
- 端口:30Mbps
- 架构:KVM
- IP数:1独立IP
- 系统:Linux/Windows
- 价格:34元/月(查看)
因为存在可能的不确定性,老左延迟两天发布的就是看看网友的评论。看到有的说可以接受,有的说速度带宽并不是这样,总之我们需要建议短期测试,不要一次性购买太长时间。
第二、PING速度测试

这里是早上测试的速度,好像之前看他们晚上测试的速度应该是稍微差一些。
第三、配置信息
CPU 型号 : Intel(R) Xeon(R) Platinum 8163 CPU @ 2.50GHz CPU 核心数 : 1 CPU 频率 : 2500.002 MHz 总硬盘大小 : 25.5 GB (2.5 GB Used) 总内存大小 : 992 MB (124 MB Used) SWAP大小 : 0 MB (0 MB Used) 开机时长 : 0 days, 0 hour 1 min 系统负载 : 0.26, 0.07, 0.02 系统 : Ubuntu 16.04.3 LTS 架构 : x86_64 (64 Bit) 内核 : 4.4.0-93-generic 虚拟化平台 : kvm
第四、IO硬盘读写
硬盘I/O (第一次测试) : 132 MB/s 硬盘I/O (第二次测试) : 139 MB/s 硬盘I/O (第三次测试) : 139 MB/s
第五、海外节点下载测速

第六、国内节点下载测速

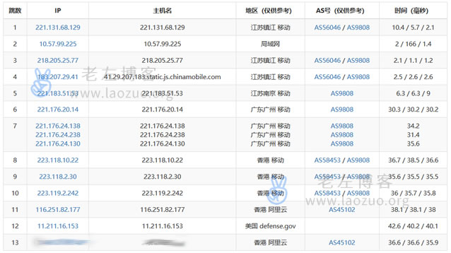
第七、路由测试情况
1、电信

2、移动

总结,这里我们可以看到电信线路走的是NTT,这个线路我们应该比较熟悉有好几个服务商是有这个线路的。白天还可以用,晚上速度是比较慢的。不清楚阿里以后会不会调整,如果调整的话,那岂不是…。在轻量应用服务器中,看后台界面应该以建站和项目为主用途的,有好几个应用可以安装,与我们常见的ECS不同。后面老左再看看其他功能,要不买了一个月岂不是浪费了。
投上你的一票

康维主机测评-网站SEO优化








