RAKSmart商家我们还算是比较熟悉的,由华人创办的美国主机商以提供VPS、独立服务器、站群服务器为主。根据老左对于他们家的认知,之前一直以提供圣何塞机房独立服务器较多,虽然他们家也有VPS主机,但是一直并没有作为主要产品,且在去年开始新增圣何塞CN2线路VPS,那时候也有进行简单的测试体验。
去年也新增香港机房独立服务器,对于独立服务器而言一般的用户是用不上的,选择VPS主机较多。这次有机会索要到一台香港机房独立服务器E3-1230进行简单的测试体验。这里顺带说下他们家的机器管理还是比较严格,一般用来做网站用途的。
这篇文章中,老左只是简单对于RAKSmart香港机房独立服务器简单测试体验,如果有用过他们家这款独立服务器生产环境的可以告知和留言实际的体验情况。
第一、基本配置
- CPU:E3-1230
- 内存:16GB
- 硬盘:1T HDD
- 流量:不限制
- 带宽:5Mbps
- IP数:2独立IP
- 系统:Linux
- 价格:900元/月(购买)
使用优惠码”HKe3pro100bM6Ky7“优惠100元,原价是1000元每月。一般普通用户是用不上独立服务器的,对于有服务器需要的用户可以选择尝试,且建议月付。因为我很少用服务器,也很少对比过其他商家香港服务器,所以只能简单测试实际当前服务器性能数据。
第二、PING速度测试

第三、路由跟踪测试
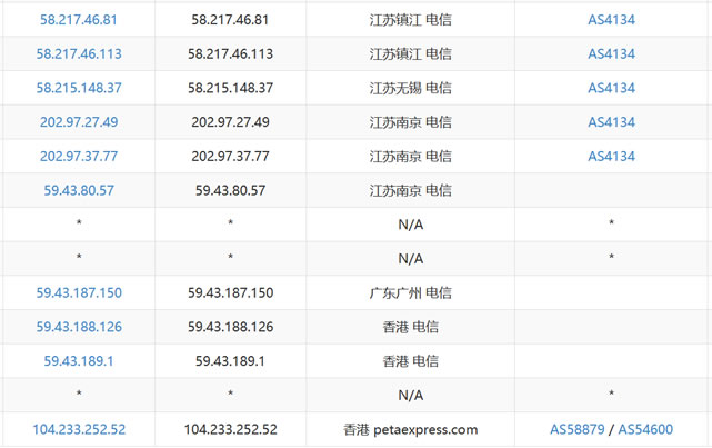
1、电信路由测试

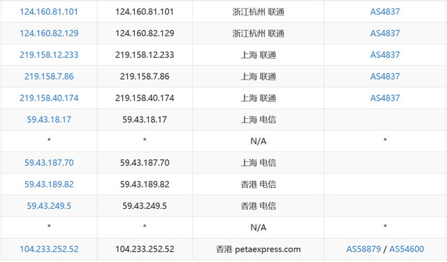
2、联通路由测试

第四、配置、IO、随机国内下载

第五、下载文件测试
1、下载QQ文件

2、FTP下载到本地

总结,以上是老左简单对于RAKSMART商家香港机房独立服务器测试。如果有用过他们家服务器的朋友可以给予评论留言,以及如果有其他好的服务器可以推荐。
投上你的一票

康维主机测评-网站SEO优化






