影速科技,一家国内的主机提供商,老左也是第一次接触这个服务商,根据官方的介绍是从2011年注册且开始运营,但是实际上域名WHOIS信息是从2014年新注册的,或许之前是用的其他域名。这个商家的特点在于提供的数据中心还比较多,提供美国、欧洲、亚洲等全球十多个数据中心。
在这篇文章中,老左根据提供的这台香港VPS进行简单的测评,所有的信息仅仅是当前这台VPS实际的数据,具体我们如果有需要选择可以根据实际的测试数据为准,如果有用过这家机器的可以留言给予老左和其他网友提供参考建议。
第一、影速科技官网网站
官网地址:www.yingsoo.com
第二、香港VPS测试IP地址
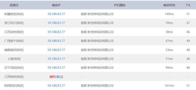
IP:59.188.83.77
第三、香港VPS主机PING速度测试

第四、MTR路由追踪

第五、配置、IO、随机下载

以上是老左简单对于这个商家香港VPS(新世界机房)的测试,第一次接触这个商家,如果有用过这个商家的给予点评。他们家的机器价格不便宜,机房还是蛮多的。
投上你的一票

康维主机测评-网站SEO优化

