GigsGigsCloud商家VPS主机产品老左在前一段时间有发布过一篇他们家的促销活动,对于产品价格是比较便宜。比如非直连线路的香港OpenVZ低至2美元月费,以及KVM架构直连香港线路,从价格上是比较便宜的,这次双12商家也推出相应的活动,有不少用户在选择,也有不少用户抱怨。
单从价格角度看,GigsGigsCloud VPS主机是比较便宜的,对于普通的折腾和使用还是可以,我们也不要期望的太高。这里老左要提到的是商家申请退款不会退款到我们支付账户,而是退款到商家账户用于再消费,所以对于想体验后退款的用户要谨慎。
目前,GigsGigsCloud商家有Openvz香港线路并非直连,别看这价格便宜就以为捡到便宜,目前直连的是KVM香港,这次双12活动是相应的9折和8折活动。
第一、GigsGigsCloud部分方案
- CPU:1核心CPU
- 内存:512MB
- 硬盘:30GB
- 流量:500GB
- 端口:100Mbps
- 架构:OpenVZ
- IP数:1独立IP
- 系统:Linux
- 价格:$2.00/月(购买)
- CPU:1核心CPU
- 内存:512MB
- 硬盘:20GB
- 流量:500GB
- 端口:100Mbps
- 架构:KVM
- IP数:1独立IP
- 系统:Linux
- 价格:$3.80/月(购买)
这次双12活动期间,OpenVZ方案Cloudlet C, Cloudlet B可以使用1212-OPENVZ享受9折优惠;KVM架构的Cloudlet KVM方案使用1212-KVM享受8折优惠。
第二、GigsGigsCloud机房测试IP
Cloud Class: 43.251.157.204
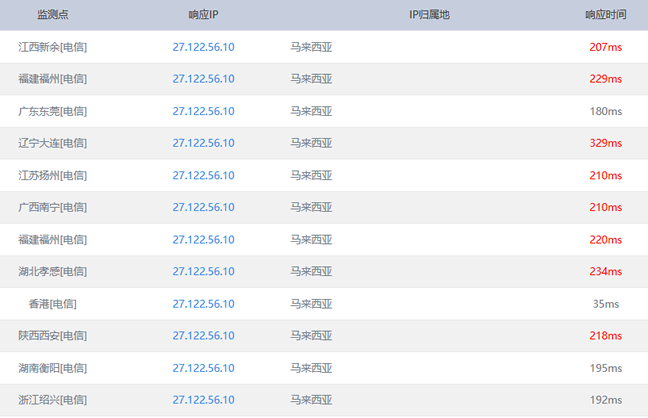
Cloud Basic: 27.122.56.10
Cloud KVM(HongKong): 43.239.159.7
Cloud KVM(Singapore) : 27.122.58.7
第三、Ping测试比较
1、OpenVZ香港非直连线路

2、KVM香港线路

总结,从PING速度体验看,以及路由追踪看,KVM线路速度是比OVZ好很多。但是根据很多用户的使用反馈,在使用过程中可能会有所波动,我们用户选择的时候要谨慎,而且申请退款不会到支付账户,只是在网站后台账户,对于任何便宜VPS毕竟要记得一分钱一分货,我们在使用任何VPS的时候要回头想想成本多少,得到的稳定和性价比是否对得起成本。
投上你的一票

康维主机测评-网站SEO优化








