创梦网络,一家国内的主机提供商,主要以服务器租用业务为主,其中机房包括贵州、镇江、南通、香港等,老左记得在之前也有分享分享过他们家的贵州机房的服务器产品。在上月底的时候看到小夜有发布他们家的产品促销活动,老左跟商家提到需要一台测试看看,看看镇江电信 机房的配置产品以及性能如何。
在这篇文章中,老左将根据手上的这台镇江电信机房的服务器测试体验且记录下来,因为老左较多的还是使用VPS或者虚拟主机等低端产品,服务器的实际使用项目不多,这里记录的仅仅是关于当前这台产品测试数据,并不代表永久的参数。
第一、官方网站
官网:www.50vm.com
第二、基本配置信息
- CPU:L5630*2
- 内存:16GB
- 硬盘:120GB SSD
- 流量:不限制
- 端口:10Mbps
- IP数:1独立IP
- 系统:Linux/Windows
- 价格:300元/月
- CPU:L5630*2
- 内存:16GB
- 硬盘:120GB SSD
- 流量:不限制
- 端口:20Mbps
- IP数:1独立IP
- 系统:Linux/Windows
- 价格:360元/月
以上两个配置方案数据中心位于镇江电信,需要使用GAOPEIZJ6ZHE优惠码享受6折后的价格。这个商家的LOGO做的真丑,随便网上生成一个都比他们好看,严重影响强迫心理的我。
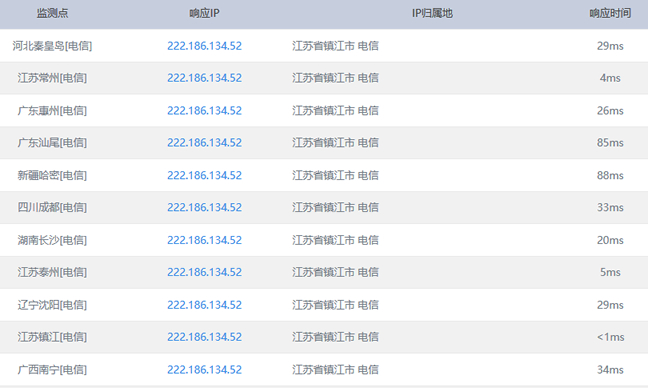
第三、测试IP
IP:222.186.134.52
第四、Ping速度测试

第五、基本配置信息

第六、IO硬盘读写、下载测试

总结,这里因为是国内的机器,所以下载速度测试找到一个QQ软件拖下来测试速度。如果有用过他们家服务器的朋友可以留言给予网友和老左一些参考,以上我仅仅是针对这台机器测试的。
投上你的一票

康维主机测评-网站SEO优化







