61VPS乐易网络,一家国内的主机提供商在去年的时候发布过一篇他们6周年的促销活动以及评测文章。这几天看到他们的7周年活动,以及要到一台测试机准备通过这篇文章体验速度。对于这家VPS商家老左接触也有一年多时间,不过实际长期项目并没有使用,用的时候也仅仅是短期的有些项目的测试。
这次活动有推出几款方案,数据中心有香港和洛阳机房,购买的时候可以使用777优惠码享受7折优惠。在这里,老左准备体验下他们的香港VPS性能。
第一、乐易网络官网
网站:www.61vps.com
第二、香港VPS套餐方案
- CPU:3核心
- 内存:2GB
- 硬盘:30GB SSD
- 流量:不限制
- 端口:2Mbps
- 架构:Xen
- IP数:1独立IP
- 价格:55元/月
- CPU:3核心CPU
- 内存:4GB
- 硬盘:40GB raid10
- 流量:不限制
- 端口:2Mbps
- 架构:Xen
- IP数:1独立IP
- 价格:84元/月
以上是部分61VPS商家香港VPS主机方案,使用777可以7折优惠,同时也有洛阳机房。
第三、香港VPS IP地址
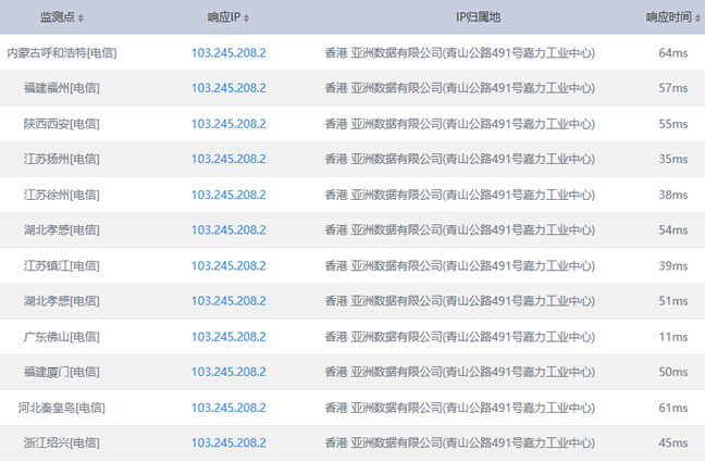
IP:103.245.208.2
第四、Ping速度测试

第五、路由追踪测试

第六、配置、IO、随机节点下载

总结,61VPS商家的香港VPS主机简单体验,PING速度还是不错的。如果有用过的网友可以留言看看对于商家的评价。
投上你的一票

康维主机测评-网站SEO优化

