如今双11活动竞争的异常惨烈,无论是买衣服、包包,还是各种零食活动,除了双11之外每年各大商家还会炮制出来各种的促销噱头。以前几千每年等着双11促销活动,而如今我们依旧看的很淡,因为基本上每个月都有各种节日和活动出现,没有必要凑热闹,但我们可以看热闹。
同样的,对于主机商来说也会有各种双11活动,比如阿里云在预告活动中有充值返券,双11当天特定机型半价活动,以及景安如火如荼的买一年送一年活动,同样我们也不要忘记还有腾讯云昨天大家在讨论的腾讯云服务器CVM半价(3年半价),以及云数据库最低3折活动。

从最近的各大主机商的活动价格看,相比平时是优惠很多,对于有需要购买国内云服务器的用户而言,最近应该是可以购买的。在这篇文章中,老左一起来看看腾讯云服务器CVM的购买过程以及折扣活动,同时看看基础方案的测评信息。
第一、腾讯云服务器CVM购买和优惠过程
1、CVM官网
腾讯云服务器CVM:www.qcloud.com
2、选择地域和机型

目前腾讯云服务器CVM拥有广州、上海、北京、香港、新加坡、多伦多几个机房,然后可以根据不同的配置选择机型,最低是1G内存起步,20GB硬盘(以前是8GB的)。
3、选择镜像系统

这里有Linux和Windows镜像,我常用Linux。
4、选择存储网络、带宽和年限
默认有云硬盘和本地硬盘,且可以根据需要扩展数据盘。默认带宽最低是1Mbps,可以根据需要升级购买。

目前的活动就是三年半价,云数据库是三年3折,昨天晚上和一个网友聊天他果断购买一台三年数据库。
第二、腾讯云服务器CVM测评信息记录
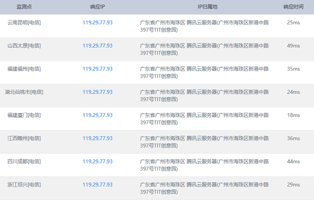
1、Ping速度测试

2、基本配置信息记录

3、IO硬盘读写测试

4、路由追踪测试

追踪到LINODE 日本的测试。
第三、腾讯云服务器CVM选择和使用总结
1、从价格上 看,这次双11活动在国内的几家国内主流商家中算是比较便宜的(3年便宜),反正各有说好坏的,具体自己把握。
2、毕竟带宽是有限的,默认1Mbps带宽如果是用来搭建网站还是没有多大问题的,如果是大流量且大型站点,则带宽需要升级。
3、目前默认Linux硬盘是20GB,比以前的8GB多了一些,默认的普通的网站也是足够的,也没有必要购买数据盘。
投上你的一票

康维主机测评-网站SEO优化

