好优网络(kaivps)一家国内的主机提供商,老左记得在8月份的时候有评测过他们家的美国VPS主机,根据官方的说法已经从业有不少时间,不过老左是一个比较注重用户体验的。无论产品如何,他们家的网站UI和LOGO等着实的让我不是很满意,这个希望商家以后陆续的改进一些。
最近他们家又上线香港沙田VPS主机产品,同样的丢了一台测试机过来,跑了几天后老左准备根据这台测试机进行简单的参数和性能的测试。一来是体验这款产品,二来如果有用户使用过这个商家和产品的,麻烦多留言看看,给予我以后以及其他用户选择参考。
PS:老左以下的针对kaivps香港VPS测评仅仅在当前这台机器的性能参数展现,不代表商家所有的机器和服务。
第一、好优网络官方网站
官网网站:www.kaivps.com
第二、商家提供的测试IP地址
香港IP:118.184.15.5/118.184.43.5
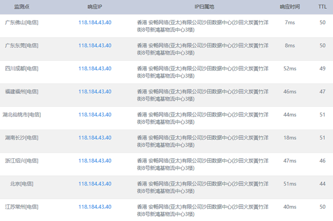
第三、Ping速度测试

第四、配置信息和随机下载速度

总结,与我们见到的其他香港机房一样,速度是没得说的,毕竟物理距离近。但是实际的性能和商家服务体验需要在使用中才能知道。如果有长期使用过这家产品的,可以留言给大家参考。
投上你的一票

康维主机测评-网站SEO优化

