HostKvm,同属于LocVPS旗下的VPS主机品牌,以Kvm VPS为主的产品架构品牌,目前提供洛杉矶MC、香港PangNet/沙田电信线路的Kvm架构VPS、香港PangNet Xen架构VPS。在当前国内商家香港机房竞争激烈的同时,我们可以看到配置较高的香港VPS价格也比较便宜。比如HostKvm提供特价香港沙田KVM VPS主机2GB内存配置月付69元。
第一、HostKvm VPS部分配置
- 机房:香港沙田
- CPU:2核心CPU
- 内存:2048MB
- 硬盘:40GB HDD+Raid10
- 流量:不限制
- 端口:3Mbps(特惠网段)
- 架构:KVM
- IP数:1独立IP
- 价格:69元/月(购买)
- 机房:香港PangNet
- CPU:2核心CPU
- 内存:1024MB
- 硬盘:20GB HDD+Raid10
- 流量:不限制
- 端口:3Mbps
- 架构:KVM
- IP数:1独立IP
- 价格:54元/月(购买)
如果我们选择的是香港KVM邦联机房,可以使用pangnet60off优惠码享受4折优惠,其他所有机房可以使用50OFF享受半价优惠。
第二、HostKVM机房测试IP
香港邦联 Test IP:103.238.226.129
香港沙田 Test IP:118.193.216.194(直链网段)
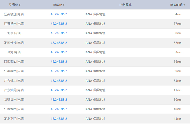
香港沙田 Test IP:45.248.85.2(特惠网段)
洛杉矶MC Test IP:23.236.78.1
第三、HostKVM Ping速度测试

第四、路由追踪线路

投上你的一票

康维主机测评-网站SEO优化








