8云科技,有一家国内主机提供商,有提供香港、美国机房VPS、服务器等产品。根据公司的介绍应该是有几年的主机、服务器运维经验,老左也是初次接触这个服务商,且索要到一台测试机进行一段时间的测试。在这篇文章中,将对其香港新世界VPS主机进行数据、性能体验的测试数据记录。
老左分享的任何商家只能确保当前记录文章是亲自体验过的,不能确保永久的稳定以及左右商家的运维和管理,所以,建议我们选择服务商的时候可以作为参考,但要主要数据备份,以及任何不熟悉的商家最好月付方式。
第一、8云科技官方网站
官网地址:www.8xen.com
第二、香港新世界测试IP
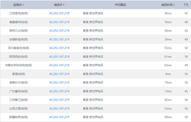
IP地址:43.255.107.219
第三、Ping速度测试

第四、基本配置和在线率测试

第五、随机节点下载速度测试

第六、MTR路由追踪测试及线路

总结,以上仅仅是老左根据这台测试机记录出来的数据,开通一周没有出现宕机问题。如果有用过这家机器的可以留言告知相关性能体验。
投上你的一票

康维主机测评-网站SEO优化

