创梦网络,一家国内的主机提供商,提供国内较多机房的独立服务器产品,其中包括镇江电信、南通电信、贵州电信等等机房,同时也有香港VPS主机等产品。老左在之前有一篇博文中有提到过他们贵州电信服务器的简单测评,在这篇文章中要分享的是他们家镇江电信独立服务器的活动信息。
第一、镇江独立服务器配置
- CPU:Intel I3-3240
- 内存:4GB DDR3
- 硬盘:120GB SSD
- 流量:不限制
- 端口:10Mbps
- IP数:1独立IP
- 价格:288元/月
- CPU:L5630*2
- 内存:16GB ECC
- 硬盘:120GB SSD
- 流量:不限制
- 端口:20Mbps
- IP数:1独立IP
- 价格:450元/月
默认官方基础配置是350月付,购买之前联系客服说看到博文,可以优惠至288元/月。目前镇江电信机房服务器默认支持10Gbps防护,同时官方也有其他数十个可选择机房。
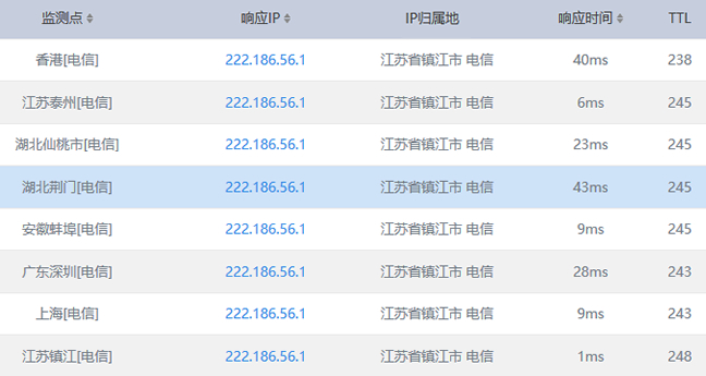
第二、镇江电信测试IP
IP:222.186.56.1
第三、Ping速度测试

投上你的一票

康维主机测评-网站SEO优化

