世纪互联,一家国内的IDC提供商,根据其介绍应该成立有几年时间,之前应该是一直在域名注册、虚拟主机等基础业务上(从后台面板可以看到用的星外面板,早年虚拟主机商都用这样的面板居多)。目前商家也有开始提供香港VPS主机业务。
在这篇文章中,老左将简单体验这个服务商提供的香港VPS主机基础配置和性能速度,因为我也是初次对接触这个商家,所以只能单纯的对于当前测试的VPS主机做一个记录文章。任何商家可能成立时间比较久,但是我们用户在选择上也需要谨慎。如果需要体验VPS主机可以建议月付或者定期备份。
第二、香港VPS测试IP/探针
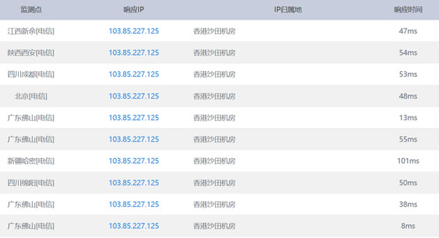
香港VPS主机IP:103.85.227.125
探针测试地址:103.85.227.125/tz.php
第三、PING速度测试

第四、MTR路由跟踪测试

第五、IO、随机节点下载测速

投上你的一票

康维主机测评-网站SEO优化

