指南针(ZNZNET),一个国内主机提供商,老左在之前的博文中也有提到过很多次,有提供美国、香港等地区机房的XEN架构VPS主机产品服务。虽然在很多时候这个商家也受到不少用户的争议,但是从商家的运营时间看,在国内还是比较长的,其中用户也算是比较多。
今天有看到商家推出香港沙田VPS主机产品,2Mbps带宽,月费用低至35元,个人认为还是比较适合建站用途的,商家禁止用于一些不良和违反规定的用途。PS:如果我们初次使用任何商家,建议还是月付体验,以及建站做好数据备份工作。
第一、指南针香港沙田VPS方案
- CPU:2核心
- 内存:512MB
- 硬盘:20GB
- 流量:不限制
- 端口:2Mbps
- 架构:XEN
- IP数:1独立IP
- 系统:Linux / Windows
- 价格:35元/月(购买)
- CPU:2核心
- 内存:1024MB
- 硬盘:40GB
- 流量:不限制
- 端口:8Mbps
- 架构:XEN
- IP数:3独立IP
- 系统:Linux / Windows
- 价格:59元/月(购买)
虽然商家提供异地备份服务,但是我们用户使用的时候也需要自己做好数据备份,毕竟我们在选择便宜VPS主机的时候,网站数据安全更重要。如果年付方案赠送3个月。
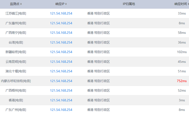
第二、指南针香港沙田IP
IP:121.54.168.254
第三、香港沙田Ping速度测试

投上你的一票

康维主机测评-网站SEO优化

