乐翼云,一家国内VPS主机提供商,提供采用XEN架构、IdcSystem管理面板的香港云VPS主机、服务器产品。官方提供了一台测试机,老左准备用这台测试机简单看下这款香港VPS主机的性能、速度等常规的参考项目。从产品的介绍看,商家产品管理还是比较严格,不能从业用于不良用途,一经发现可能会暂停机器。
第一、官方网站
官网:www.leyiyun.com
第二、香港测试IP
IP:45.118.254.254
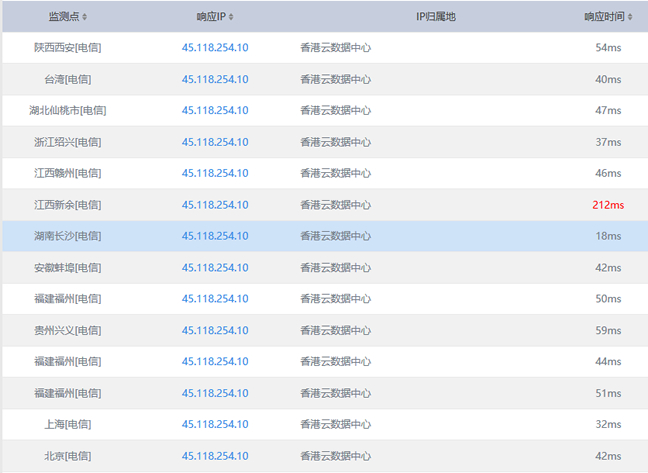
第三、Ping速度测试

第四、基本配置信息

第五、IO硬盘读写测试

总结,这个商家老左也是第一次遇到,如果有用过的朋友可以分享实用经验,这样可以给其他有看到的网友一些参考。
投上你的一票

康维主机测评-网站SEO优化

