四五互联,一家国人主机提供商,提供虚拟主机、域名、VPS云主机、服务器产品。根据官方自己的介绍是从2008年成立且运营至今的,尤其是独立服务器业务包括美国、香港等机房,在两周左右的时候官方要求老左发布他们的香港沙田机房服务器测试信息,所以当时让开了一台测试机。
根据官方的活动,目前沙田独立服务器特价机首月100元(续费350元)、4GB内存、5Mbps端口、250GB硬盘,根据官方提供的机器,老左根据惯例进行简单的测评。因为我之前都没有使用过他们家的机器,最好是有用过他们家机器的网友留言评论,这样即便有需要用到的网友也可以参考选择。
第一、官方网站地址
官网:www.ssf.cc
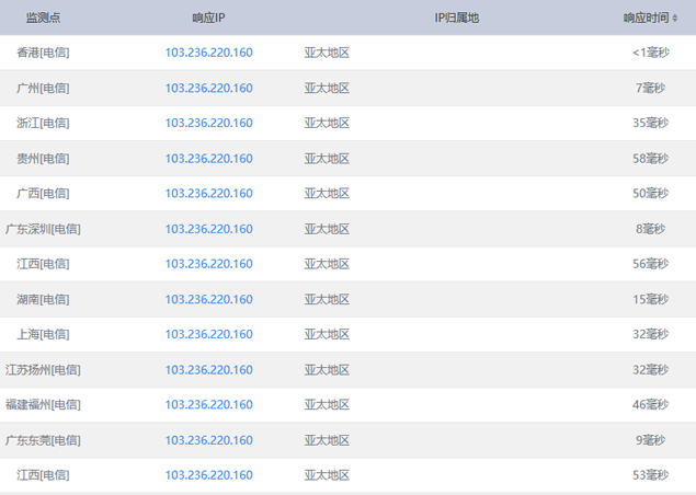
第二、香港沙田测试IP
IP地址:103.236.220.160
第三、Ping速度测试

第四、配置、IO测试

第五、CPU参数信息

总结,以上是关于这款新接触到的国内香港沙田主机提供商的简单测试,仅仅是这台测试机的数据反馈,并不代表老左使用的性能。如果有用过的朋友可以反馈留言。
投上你的一票

康维主机测评-网站SEO优化

