创梦网络,国内的一家主机提供商有提供美国、香港、国内云VPS,虚拟主机,以及独立服务器产品业务。根据官方的描述已经有创办几年时间,商家联系老左提供了一台测试机且机房是贵州电信机房,准备利用这台机器体验这款机器的性能和稳定性。
在之前的接触到的服务器产品中,很少有遇到国内的独服,一来是很少有需要用到,二来是服务器暂时还没有需要用到,毕竟一般的用户也没有需要用到。顺带说一下:这款国内服务器仅仅是老左的测试体验,对于我们用户是否有需要使用自行选择和鉴别。
第一、官方网站
第二、测试IP
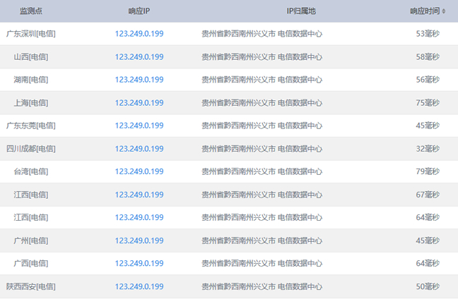
IP:123.249.0.199
第三、PING速度测试

第四、硬盘、内存、CPU配置

五、IO硬盘读写性能测试

总结,这台测试机器是贵州电信服务器,从速度体验上肯定没有问题毕竟是国内的机器,但是我们都清楚国内的机器都需要BEIAN,不过应该是不需要接入的。如果有用过的朋友可以留言看看,因为对于这个商家老左也是第一次接触。
投上你的一票

康维主机测评-网站SEO优化

