Hostigation VPS主机提供商我们很多朋友都不是太陌生(主站界面其丑无比),虽然作为一个ONE MEN服务商能坚持到今天已经很不容易,虽然这些年大部分周边的产品价格都有所下降且Hostigation的价格优势不再明显,虽然之前也时不时有一些促销活动,但是并不是很明显有优势。
这次Hostigation 老板在LET发布10周年促销活动,1GB KVM方案 洛杉矶QN机房月费仅需要5美元,虽然不能说是多么吸引人的价格,但是比之前的产品费用还是有一定的吸引力的。
第一、Hostigation 10周年特价机方案(已经无货)
- 核心:2核CPU
- 内存:1024MB
- 硬盘:25G SSD/RAID10
- 流量:1TB
- 端口:100Mbps
- 架构:KVM
- IP数:1独立IP
- 价格:$5/月(购买)
这款Hostigation特价机原价月费是15美元的,这次10周年使用10YEAR优惠码才可以月费5美元,且提供10G/15M的ddos防护服务,活动时间有限,库存售完为止,刚才老左看了一下还有货。
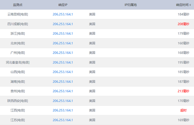
第二、Hostigation测试IP
洛杉矶IP:206.253.164.1
第三、PING速度测试

投上你的一票

康维主机测评-网站SEO优化







