ReCloud马来西亚VPS套餐见《ReCloud马来西亚VPS,250Mbps动态/TMNET商宽,原生IP,解锁超多流媒体NF spofity kkbox steam等》,站长昨天选购了商家一台马来西亚机器,配置是4C4G TMNET商宽 250M,并进行了性能评测,这里把相关测评结果展示如下。ReCloud马来西亚 | TMNet | 一期 马来西亚4C4G TMNET商宽 250M 原生静态IP VPS测评分享。
ReCloud马来西亚VPS基本参数,4C4G,IO在210MB/s左右
----------------------------------------------------------------------
CPU Model : Intel(R) Xeon(R) CPU E5-2680 v2 @ 2.80GHz
CPU Cores : 4 Cores 2799.996 MHz x86_64
CPU Cache : 16384 KB
CPU Flags : AES-NI Enabled & VM-x/AMD-V Disabled
OS : Debian GNU/Linux 11 (64 Bit) KVM
Kernel : 5.10.0-8-amd64
Total Space : 1.8 GB / 20.0 GB
Total RAM : 74 MB / 3930 MB (935 MB Buff)
Total SWAP : 0 MB / 0 MB
Uptime : 0 days 7 hour 22 min
Load Average : 0.30, 0.09, 0.15
TCP CC : cubic
Organization : AS4788 TM Net, Internet Service Provider
Location : Batang Berjuntai / MY
Region : Selangor
----------------------------------------------------------------------
Stream Media Unlock :
Netflix : Yes (Region: MY)
YouTube Premium : Yes (Region: MY)
YouTube CDN : Kuala Lumpur
BiliBili China : No
----------------------------------------------------------------------
I/O Speed( 1.0GB ) : 180 MB/s
I/O Speed( 1.0GB ) : 226 MB/s
I/O Speed( 1.0GB ) : 224 MB/s
Average I/O Speed : 210.0 MB/s
----------------------------------------------------------------------
看下是不是原生静态IP,country显示是马来西亚,所以是马来西亚原生IP

ReCloud马来西亚VPS三网Ping测试

ReCloud马来西亚VPS丢包率测试

ReCloud马来西亚VPS通过Speedtest.net看国内外节点速度
----------------------------------------------------------------------
Node Name Upload Speed Download Speed Latency
Speedtest.net 167.53 Mbit/s 209.86 Mbit/s 7.21 ms
Shanghai CT 1.85 Mbit/s 7.56 Mbit/s 144.32 ms
Guangzhou 5G CT 0.67 Mbit/s 1.26 Mbit/s 317.80 ms
Nanjing 5G CT 153.22 Mbit/s 5.10 Mbit/s 230.83 ms
TianJin 5G CT 1.56 Mbit/s 2.32 Mbit/s 128.69 ms
Shanghai 5G CU 168.71 Mbit/s 18.51 Mbit/s 356.13 ms
Nanjing CU 75.46 Mbit/s 5.21 Mbit/s 329.46 ms
Shanghai 5G CM 104.93 Mbit/s 21.95 Mbit/s 76.64 ms
Yinchuan CM 130.95 Mbit/s 175.53 Mbit/s 101.30 ms
----------------------------------------------------------------------
Node Name Upload Speed Download Speed Latency
Hong Kong CN 136.38 Mbit/s 93.16 Mbit/s 45.07 ms
Macau CN 134.35 Mbit/s 62.27 Mbit/s 92.25 ms
Taiwan CN 131.35 Mbit/s 7.30 Mbit/s 102.60 ms
Singapore SG 150.94 Mbit/s 120.07 Mbit/s 11.67 ms
Tokyo JP 126.70 Mbit/s 129.19 Mbit/s 92.76 ms
Seoul KR 153.11 Mbit/s 34.69 Mbit/s 215.18 ms
Los Angeles US 148.80 Mbit/s 4.92 Mbit/s 231.87 ms
France FR 20.25 Mbit/s 1.21 Mbit/s 186.90 ms
----------------------------------------------------------------------
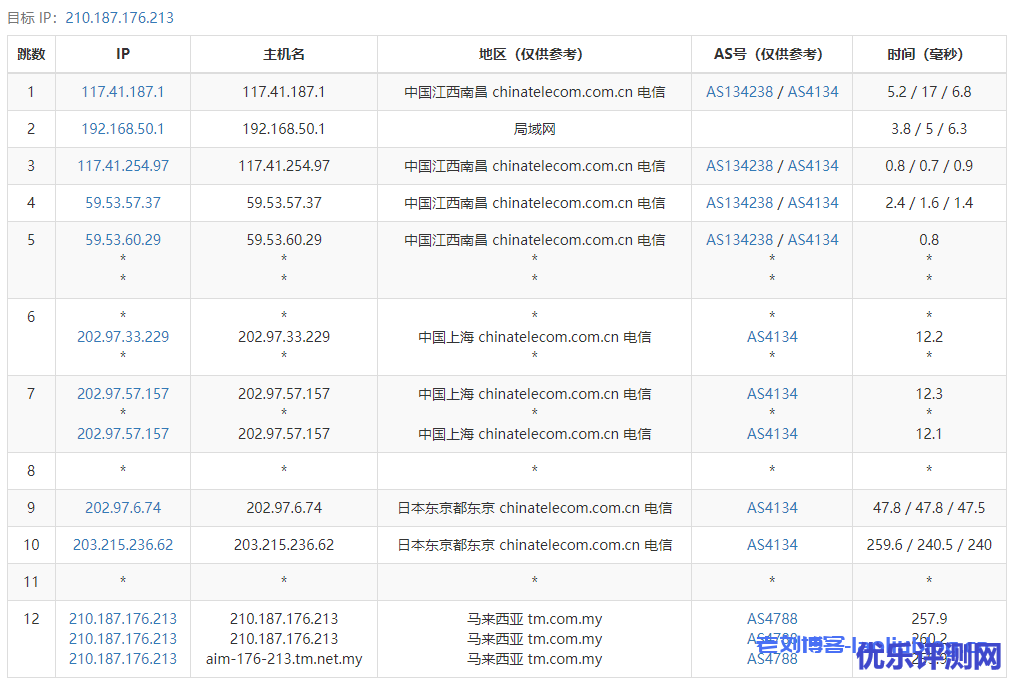
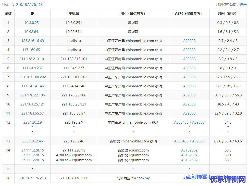
ReCloud马来西亚VPS路由去程跟踪测试
电信去程

联通去程

移动去程

ReCloud马来西亚VPS路由回程跟踪测试
Traceroute to China, Guangzhou CT (TCP Mode, Max 30 Hop)
============================================================
traceroute to 113.108.209.1 (113.108.209.1), 30 hops max, 32 byte packets
1 10.110.1.1 0.37 ms * LAN Address
2 10.233.72.4 3.93 ms * LAN Address
3 10.55.74.57 17.73 ms * LAN Address
4 10.55.135.53 14.87 ms * LAN Address
5 10.55.48.58 8.83 ms * LAN Address
6 10.55.208.215 14.01 ms * LAN Address
7 202.97.4.81 99.89 ms AS4134 Singapore, ChinaTelecom
8 202.97.61.153 109.72 ms AS4134 China, Guangdong, Guangzhou, ChinaTelecom
9 *
10 *
11 113.108.209.1 119.88 ms AS4134 China, Guangdong, Guangzhou, ChinaTelecom
Traceroute to China, Shanghai CT (TCP Mode, Max 30 Hop)
============================================================
traceroute to 180.153.28.5 (180.153.28.5), 30 hops max, 32 byte packets
1 10.110.1.1 0.48 ms * LAN Address
2 10.233.72.4 4.18 ms * LAN Address
3 10.55.74.83 15.33 ms * LAN Address
4 10.55.135.53 14.23 ms * LAN Address
5 10.55.100.40 10.17 ms * LAN Address
6 10.55.209.34 12.50 ms * LAN Address
7 202.97.4.81 99.77 ms AS4134 Singapore, ChinaTelecom
8 *
9 202.97.50.194 112.34 ms AS4134 China, Shanghai, ChinaTelecom
10 *
11 61.152.24.229 139.37 ms AS4812 China, Shanghai, ChinaTelecom
12 *
13 101.95.225.34 147.70 ms AS4811 China, Shanghai, ChinaTelecom
14 101.227.255.34 124.24 ms AS4812 China, Shanghai, ChinaTelecom
15 180.153.28.5 117.38 ms AS4812 China, Shanghai, ChinaTelecom
Traceroute to China, Beijing CT (TCP Mode, Max 30 Hop)
============================================================
traceroute to 180.149.128.9 (180.149.128.9), 30 hops max, 32 byte packets
1 10.110.1.1 0.53 ms * LAN Address
2 10.233.72.4 4.27 ms * LAN Address
3 10.55.74.81 11.98 ms * LAN Address
4 10.55.135.53 12.24 ms * LAN Address
5 10.55.48.56 11.99 ms * LAN Address
6 10.55.209.34 18.31 ms * LAN Address
7 202.97.4.81 103.20 ms AS4134 Singapore, ChinaTelecom
8 *
9 202.97.12.193 123.88 ms AS4134 China, Shanghai, ChinaTelecom
10 *
11 202.97.97.217 141.93 ms AS4134 China, Beijing, ChinaTelecom
12 36.110.247.66 137.63 ms AS23724 China, Beijing, ChinaTelecom
13 36.110.251.57 156.74 ms AS23724 China, Beijing, ChinaTelecom
14 *
15 180.149.128.9 134.21 ms AS23724 China, Beijing, ChinaTelecom
Traceroute to China, Guangzhou CU (TCP Mode, Max 30 Hop)
============================================================
traceroute to 210.21.4.130 (210.21.4.130), 30 hops max, 32 byte packets
1 10.110.1.1 2.33 ms * LAN Address
2 10.233.72.4 2.60 ms * LAN Address
3 10.55.74.83 17.34 ms * LAN Address
4 10.55.39.190 14.10 ms * LAN Address
5 10.55.100.118 9.14 ms * LAN Address
6 10.55.100.60 14.07 ms * LAN Address
7 65.49.109.189 67.80 ms AS6939 Singapore, he.net
8 184.104.198.210 89.73 ms AS6939 Japan, Osaka, he.net
9 184.104.197.110 229.50 ms AS6939 United States, he.net
10 184.104.197.61 232.53 ms AS6939 United States, he.net
11 72.52.93.38 327.78 ms AS6939 United States, California, Los Angeles, he.net
12 219.158.98.49 342.79 ms AS4837 China, Guangdong, Guangzhou, ChinaUnicom
13 219.158.103.25 341.84 ms AS4837 China, Guangdong, Guangzhou, ChinaUnicom
14 219.158.8.117 340.58 ms AS4837 China, Guangdong, Guangzhou, ChinaUnicom
15 120.83.0.54 365.56 ms AS17816 China, Guangdong, Guangzhou, ChinaUnicom
16 120.80.175.70 348.29 ms AS17622 China, Guangdong, Guangzhou, ChinaUnicom
17 *
18 *
19 *
20 *
21 *
22 *
23 *
24 *
25 *
26 *
27 *
28 *
29 *
30 *
Traceroute to China, Shanghai CU (TCP Mode, Max 30 Hop)
============================================================
traceroute to 58.247.8.158 (58.247.8.158), 30 hops max, 32 byte packets
1 10.110.1.1 1.28 ms * LAN Address
2 10.233.72.4 3.02 ms * LAN Address
3 10.55.74.83 12.36 ms * LAN Address
4 10.55.64.164 13.91 ms * LAN Address
5 10.55.50.53 13.50 ms * LAN Address
6 10.55.100.60 14.85 ms * LAN Address
7 *
8 184.104.198.210 90.01 ms AS6939 Japan, Osaka, he.net
9 184.104.197.110 233.46 ms AS6939 United States, he.net
10 184.104.197.61 235.58 ms AS6939 United States, he.net
11 72.52.93.38 346.01 ms AS6939 United States, California, Los Angeles, he.net
12 219.158.96.29 308.11 ms AS4837 China, Guangdong, Guangzhou, ChinaUnicom
13 219.158.111.221 358.35 ms AS4837 China, Shanghai, ChinaUnicom
14 219.158.113.122 315.41 ms AS4837 China, Shanghai, ChinaUnicom
15 *
16 *
17 58.247.221.178 424.26 ms AS17621 China, Shanghai, ChinaUnicom
18 139.226.225.22 362.39 ms AS17621 China, Shanghai, ChinaUnicom
19 58.247.8.153 368.99 ms AS17621 China, Shanghai, ChinaUnicom
20 *
21 *
22 *
23 *
24 *
25 *
26 *
27 *
28 *
29 *
30 *
Traceroute to China, Beijing CU (TCP Mode, Max 30 Hop)
============================================================
traceroute to 123.125.99.1 (123.125.99.1), 30 hops max, 32 byte packets
1 10.110.1.1 0.56 ms * LAN Address
2 10.233.72.4 4.47 ms * LAN Address
3 10.55.74.57 17.50 ms * LAN Address
4 10.55.68.57 18.41 ms * LAN Address
5 10.55.100.230 7.09 ms * LAN Address
6 10.55.100.60 16.02 ms * LAN Address
7 65.49.109.189 75.26 ms AS6939 Singapore, he.net
8 184.104.198.210 86.95 ms AS6939 Japan, Osaka, he.net
9 184.104.197.110 235.80 ms AS6939 United States, he.net
10 184.104.197.61 232.14 ms AS6939 United States, he.net
11 72.52.93.38 369.15 ms AS6939 United States, California, Los Angeles, he.net
12 219.158.98.153 344.29 ms AS4837 China, Guangdong, Guangzhou, ChinaUnicom
13 219.158.115.157 334.41 ms AS4837 China, Beijing, ChinaUnicom
14 219.158.16.69 359.01 ms AS4837 China, Beijing, ChinaUnicom
15 219.158.5.157 359.71 ms AS4837 China, Beijing, ChinaUnicom
16 *
17 219.232.11.138 365.14 ms AS4808 China, Beijing, ChinaUnicom
18 61.148.158.106 389.68 ms AS4808 China, Beijing, ChinaUnicom
19 61.135.113.158 367.78 ms AS4808 China, Beijing, ChinaUnicom
20 *
21 123.125.99.1 376.27 ms AS4808 China, Beijing, ChinaUnicom
Traceroute to China, Guangzhou CM (TCP Mode, Max 30 Hop)
============================================================
traceroute to 120.196.212.25 (120.196.212.25), 30 hops max, 32 byte packets
1 10.110.1.1 3.06 ms * LAN Address
2 10.233.72.4 3.71 ms * LAN Address
3 10.55.74.83 13.78 ms * LAN Address
4 10.55.68.57 13.98 ms * LAN Address
5 10.55.100.122 10.17 ms * LAN Address
6 10.55.209.34 13.84 ms * LAN Address
7 27.111.228.228 52.28 ms AS132602 Singapore, equinix.com
8 *
9 *
10 *
11 221.183.25.118 57.16 ms AS9808 China, Guangdong, Guangzhou, ChinaMobile
12 221.176.22.105 51.83 ms AS9808 China, Guangdong, Guangzhou, ChinaMobile
13 111.24.5.173 55.53 ms AS9808 China, Guangdong, Guangzhou, ChinaMobile
14 111.24.5.210 58.28 ms AS9808 China, Guangdong, Guangzhou, ChinaMobile
15 211.136.249.109 55.35 ms AS56040 China, Guangdong, Guangzhou, ChinaMobile
16 120.198.205.85 61.61 ms AS56040 China, Guangdong, Guangzhou, ChinaMobile
17 211.139.180.106 90.44 ms AS56040 China, Guangdong, Guangzhou, ChinaMobile
18 120.196.212.25 60.87 ms AS56040 China, Guangdong, Guangzhou, ChinaMobile
Traceroute to China, Shanghai CM (TCP Mode, Max 30 Hop)
============================================================
traceroute to 221.183.55.22 (221.183.55.22), 30 hops max, 32 byte packets
1 10.110.1.1 0.60 ms * LAN Address
2 10.233.72.4 24.42 ms * LAN Address
3 10.55.74.59 14.15 ms * LAN Address
4 10.55.135.51 15.27 ms * LAN Address
5 10.55.100.122 9.58 ms * LAN Address
6 10.55.209.47 12.48 ms * LAN Address
7 *
8 *
9 *
10 *
11 *
12 *
13 *
14 *
15 *
16 *
17 *
18 *
19 *
20 *
21 *
22 *
23 *
24 *
25 *
26 *
27 *
28 *
29 *
30 *
Traceroute to China, Beijing CM (TCP Mode, Max 30 Hop)
============================================================
traceroute to 211.136.25.153 (211.136.25.153), 30 hops max, 32 byte packets
1 10.110.1.1 0.49 ms * LAN Address
2 10.233.72.4 3.01 ms * LAN Address
3 10.55.74.81 12.43 ms * LAN Address
4 10.55.64.162 12.75 ms * LAN Address
5 10.55.100.230 7.47 ms * LAN Address
6 10.55.209.34 22.08 ms * LAN Address
7 27.111.228.228 16.24 ms AS132602 Singapore, equinix.com
8 *
9 *
10 *
11 *
12 *
13 *
14 111.24.17.158 86.64 ms AS9808 China, Beijing, ChinaMobile
15 *
16 211.136.66.121 87.65 ms AS56048 China, Beijing, ChinaMobile
17 *
18 211.136.95.226 92.53 ms AS56048 China, Beijing, ChinaMobile
19 *
20 *
21 211.136.25.153 84.25 ms AS56048 China, Beijing, ChinaMobile
Traceroute to China, Beijing Dr.Peng Network IDC Network (TCP Mode, Max 30 Hop)
============================================================
traceroute to 211.167.230.100 (211.167.230.100), 30 hops max, 32 byte packets
1 10.110.1.1 0.53 ms * LAN Address
2 10.233.72.4 3.51 ms * LAN Address
3 10.55.74.59 18.67 ms * LAN Address
4 10.55.39.150 13.57 ms * LAN Address
5 10.55.100.230 6.16 ms * LAN Address
6 10.55.100.60 17.72 ms * LAN Address
7 65.49.109.189 124.69 ms AS6939 Singapore, he.net
8 184.104.198.210 89.57 ms AS6939 Japan, Osaka, he.net
9 184.104.197.110 233.48 ms AS6939 United States, he.net
10 184.104.197.61 233.15 ms AS6939 United States, he.net
11 72.52.93.38 368.77 ms AS6939 United States, California, Los Angeles, he.net
12 219.158.96.29 347.66 ms AS4837 China, Guangdong, Guangzhou, ChinaUnicom
13 219.158.111.213 297.23 ms AS4837 China, Beijing, ChinaUnicom
14 219.158.3.49 302.42 ms AS4837 China, Beijing, ChinaUnicom
15 *
16 *
17 202.106.193.38 405.95 ms AS4808 China, Beijing, ChinaUnicom
18 61.149.212.242 346.75 ms AS4808 China, Beijing, ChinaUnicom
19 *
20 124.205.97.138 334.18 ms AS4808 China, Beijing, DRPENG
21 218.241.254.234 319.95 ms AS4808 China, Beijing, DRPENG
22 218.241.245.158 356.56 ms AS4808 China, Beijing, DRPENG
23 *
24 211.167.230.100 353.43 ms AS17964 China, Beijing, DRPENG
----------------------------------------------------------------------
ReCloud马来西亚VPS FIO测试硬盘读写
fio Disk Speed Tests (Mixed R/W 50/50):
---------------------------------
Block Size | 4k (IOPS) | 64k (IOPS)
------ | --- ---- | ---- ----
Read | 3.94 MB/s (987) | 54.45 MB/s (850)
Write | 3.97 MB/s (993) | 54.97 MB/s (858)
Total | 7.92 MB/s (1.9k) | 109.43 MB/s (1.7k)
| |
Block Size | 512k (IOPS) | 1m (IOPS)
------ | --- ---- | ---- ----
Read | 81.34 MB/s (158) | 87.99 MB/s (85)
Write | 85.66 MB/s (167) | 93.85 MB/s (91)
Total | 167.01 MB/s (325) | 181.84 MB/s (176)
ReCloud马来西亚VPS iperf3针对欧美的节点的数据测试
iperf3 Network Speed Tests (IPv4):
---------------------------------
Provider | Location (Link) | Send Speed | Recv Speed
| | |
Clouvider | London, UK (10G) | 179 Mbits/sec | 4.04 Mbits/sec
Online.net | Paris, FR (10G) | busy | busy
WorldStream | The Netherlands (10G) | 170 Mbits/sec | 126 Mbits/sec
WebHorizon | Singapore (400M) | 193 Mbits/sec | 283 Mbits/sec
Clouvider | NYC, NY, US (10G) | 159 Mbits/sec | 60.6 Mbits/sec
Velocity Online | Tallahassee, FL, US (10G) | 137 Mbits/sec | 6.06 Mbits/sec
Clouvider | Los Angeles, CA, US (10G) | 155 Mbits/sec | 66.4 Mbits/sec
Iveloz Telecom | Sao Paulo, BR (2G) | busy | 4.51 Mbits/sec
ReCloud马来西亚VPS Unixbench跑分看下综合性能
------------------------------------------------------------------------
Benchmark Run: Thu Apr 07 2022 10:15:37 - 10:43:28
4 CPUs in system; running 4 parallel copies of tests
Dhrystone 2 using register variables 48026226.4 lps (10.0 s, 7 samples)
Double-Precision Whetstone 8709.8 MWIPS (8.5 s, 7 samples)
Execl Throughput 3558.8 lps (29.9 s, 2 samples)
File Copy 1024 bufsize 2000 maxblocks 229010.9 KBps (30.0 s, 2 samples)
File Copy 256 bufsize 500 maxblocks 61742.8 KBps (30.0 s, 2 samples)
File Copy 4096 bufsize 8000 maxblocks 677114.3 KBps (30.0 s, 2 samples)
Pipe Throughput 1255736.4 lps (10.0 s, 7 samples)
Pipe-based Context Switching 143631.2 lps (10.0 s, 7 samples)
Process Creation 8161.4 lps (30.0 s, 2 samples)
Shell Scripts (1 concurrent) 7303.4 lpm (60.0 s, 2 samples)
Shell Scripts (8 concurrent) 1044.2 lpm (60.1 s, 2 samples)
System Call Overhead 940585.3 lps (10.0 s, 7 samples)
System Benchmarks Index Values BASELINE RESULT INDEX
Dhrystone 2 using register variables 116700.0 48026226.4 4115.4
Double-Precision Whetstone 55.0 8709.8 1583.6
Execl Throughput 43.0 3558.8 827.6
File Copy 1024 bufsize 2000 maxblocks 3960.0 229010.9 578.3
File Copy 256 bufsize 500 maxblocks 1655.0 61742.8 373.1
File Copy 4096 bufsize 8000 maxblocks 5800.0 677114.3 1167.4
Pipe Throughput 12440.0 1255736.4 1009.4
Pipe-based Context Switching 4000.0 143631.2 359.1
Process Creation 126.0 8161.4 647.7
Shell Scripts (1 concurrent) 42.4 7303.4 1722.5
Shell Scripts (8 concurrent) 6.0 1044.2 1740.4
System Call Overhead 15000.0 940585.3 627.1
========
System Benchmarks Index Score 958.3
======= Script description and score comparison completed! =======
ReCloud马来西亚VPS流媒体解锁测试
** 测试时间: Thu 07 Apr 2022 12:22:17 PM EDT
** 正在测试IPv4解锁情况
--------------------------------
** 您的网络为: TM Net (210.187.*.*)
============[ Multination ]============
Dazn: Yes (Region: MY)
HotStar: Yes (Region: MY)
Disney+: No
Netflix: Yes (Region: MY)
YouTube Premium: Yes (Region: MY)
Amazon Prime Video: Yes (Region: MY)
TVBAnywhere+: Yes
iQyi Oversea Region: MY
Viu.com: Yes (Region: MY)
YouTube CDN: Kuala Lumpur
Netflix Preferred CDN: Associated with [TM Net] in [Kuala Lumpur ]
Steam Currency: MYR
=======================================
当前主机不支持IPv6,跳过...

康维主机测评-网站SEO优化
