ReCloud美国西雅图NTT套餐详情:ReCloud美国西雅图NTT,美国原生IP,电信/联通直连 移动绕港,300-500Mbps带宽,解锁奈飞/迪士尼等流媒体,ReCloud美国西雅图NTT Small 美国 | 西雅图NTT | 一期 2核2G内存500Mbps带宽(原生IP)VPS测评分享。
ReCloud官网:https://oneprovide.net
ReCloud美国西雅图NTT Small基本参数,硬盘I/O差不多在308.3MB/s
----------------------------------------------------------------------
CPU Model : Intel(R) Xeon(R) CPU E5-2697 v2 @ 2.70GHz
CPU Cores : 2 Cores 2699.996 MHz x86_64
CPU Cache : 30720 KB
CPU Flags : AES-NI Enabled & VM-x/AMD-V Disabled
OS : CentOS 7.6.1810 (64 Bit) KVM
Kernel : 3.10.0-957.1.3.el7.x86_64
Total Space : 2.1 GB / 15.0 GB
Total RAM : 62 MB / 1837 MB (928 MB Buff)
Total SWAP : 0 MB / 0 MB
Uptime : 0 days 3 hour 44 min
Load Average : 0.34, 3.15, 2.83
TCP CC : cubic
----------------------------------------------------------------------
Stream Media Unlock :
Netflix : Originals Only
YouTube Premium : Yes (Region: US)
YouTube CDN : Seattle
BiliBili China : No
----------------------------------------------------------------------
I/O Speed( 1.0GB ) : 225 MB/s
I/O Speed( 1.0GB ) : 310 MB/s
I/O Speed( 1.0GB ) : 390 MB/s
Average I/O Speed : 308.3 MB/s
----------------------------------------------------------------------
ReCloud美国西雅图NTT Small Speedtest.net国内外节点测速:
----------------------------------------------------------------------
Node Name Upload Speed Download Speed Latency
Speedtest.net 201.12 Mbit/s 437.85 Mbit/s 0.21 ms
Shanghai CT 1.59 Mbit/s 406.52 Mbit/s 120.58 ms
Nanjing 5G CT 3.97 Mbit/s 357.13 Mbit/s 116.59 ms
TianJin 5G CT 0.72 Mbit/s 327.43 Mbit/s 135.38 ms
Shanghai 5G CU 0.60 Mbit/s 440.10 Mbit/s 182.98 ms
Nanjing CU 8.60 Mbit/s 99.47 Mbit/s 162.45 ms
Shanghai 5G CM 44.57 Mbit/s 474.96 Mbit/s 262.01 ms
Yinchuan CM 2.98 Mbit/s 297.56 Mbit/s 193.58 ms
Nanjing 5G CM 8.97 Mbit/s 11.51 Mbit/s 285.03 ms
----------------------------------------------------------------------
Node Name Upload Speed Download Speed Latency
Hong Kong CN 113.66 Mbit/s 419.89 Mbit/s 157.84 ms
Macau CN 9.76 Mbit/s 383.17 Mbit/s 142.19 ms
Taiwan CN 137.34 Mbit/s 471.25 Mbit/s 189.85 ms
Singapore SG 145.07 Mbit/s 346.72 Mbit/s 170.45 ms
Tokyo JP 15.60 Mbit/s 361.90 Mbit/s 239.27 ms
Seoul KR 13.10 Mbit/s 281.86 Mbit/s 112.18 ms
Los Angeles US 215.69 Mbit/s 323.71 Mbit/s 29.22 ms
France FR 58.38 Mbit/s 292.05 Mbit/s 139.96 ms
----------------------------------------------------------------------
ReCloud美国西雅图NTT Small宝塔跑分:
安装花费4分钟
Congratulations! Installed successfully!
==================================================================
外网面板地址: http://104.249.174.178:8888/3760dc53
内网面板地址: http://104.249.174.178:8888/3760dc53
username: tjqgcrgy
password: 1ce8eeca
If you cannot access the panel,
release the following panel port [8888] in the security group
若无法访问面板,请检查防火墙/安全组是否有放行面板[8888]端口
==================================================================
Time consumed: 4 Minute!
[root@ntttesting ~]#
宝塔跑分6653

ReCloud美国西雅图NTT Small是不是原生IP测试:
BGP.HE.NET测试下来机器IP的Country显示的是US,说明是美国原生IP

ReCloud美国西雅图NTT Small三网Ping测试:

ReCloud美国西雅图NTT Small丢包率测试:

ReCloud美国西雅图NTT Small FIO测试硬盘读写:
fio Disk Speed Tests (Mixed R/W 50/50):
---------------------------------
Block Size | 4k (IOPS) | 64k (IOPS)
------ | --- ---- | ---- ----
Read | 26.11 MB/s (6.5k) | 139.26 MB/s (2.1k)
Write | 26.13 MB/s (6.5k) | 139.99 MB/s (2.1k)
Total | 52.24 MB/s (13.0k) | 279.26 MB/s (4.3k)
| |
Block Size | 512k (IOPS) | 1m (IOPS)
------ | --- ---- | ---- ----
Read | 171.48 MB/s (334) | 168.79 MB/s (164)
Write | 180.59 MB/s (352) | 180.03 MB/s (175)
Total | 352.07 MB/s (686) | 348.82 MB/s (339)
ReCloud美国西雅图NTT Small iperf3针对欧美的节点的数据测试:
iperf3 Network Speed Tests (IPv4):
---------------------------------
Provider | Location (Link) | Send Speed | Recv Speed
| | |
Clouvider | London, UK (10G) | 49.9 Mbits/sec | 150 Mbits/sec
Online.net | Paris, FR (10G) | 50.5 Mbits/sec | 150 Mbits/sec
WorldStream | The Netherlands (10G) | busy | busy
WebHorizon | Singapore (400M) | 71.7 Mbits/sec | 201 Mbits/sec
Clouvider | NYC, NY, US (10G) | 150 Mbits/sec | 346 Mbits/sec
Velocity Online | Tallahassee, FL, US (10G) | 119 Mbits/sec | 333 Mbits/sec
Clouvider | Los Angeles, CA, US (10G) | 14.3 Mbits/sec | 396 Mbits/sec
Iveloz Telecom | Sao Paulo, BR (2G) | 40.8 Mbits/sec | 83.9 Mbits/sec
ReCloud美国西雅图NTT Small流媒体解锁情况测试:
** 测试时间: Sun Apr 3 09:19:22 EDT 2022
** 正在测试IPv4解锁情况
--------------------------------
** 您的网络为: Kirino (104.249.*.*)
============[ Multination ]============
Dazn: No
HotStar: Yes (Region: US)
Disney+: Yes (Region: US)
Netflix: Originals Only
YouTube Premium: Yes
Amazon Prime Video: Yes (Region: US)
TVBAnywhere+: Yes
iQyi Oversea Region: US
Viu.com: No
YouTube CDN: Seattle, WA
Netflix Preferred CDN: Associated with [Kirino] in [Seattle, WA ]
Steam Currency: USD
=======================================
===========[ North America ]===========
FOX: Yes
Hulu: Yes
ESPN+:[Sponsored by Jam] Yes
Epix: No
Starz: Yes
HBO Now: Failed (Network Connection)
HBO Max: Yes
BritBox: Yes
NBA TV: Yes
Fubo TV: Yes
Sling TV: Yes
Pluto TV: Yes
Acorn TV: Yes
SHOWTIME: Yes
encoreTVB: No encoreTVB: ->
CineMax Go: Yes
Funimation: Yes (Region: US)
Discovery+: Yes
Paramount+: Yes
Peacock TV: Yes
---CA---
CBC Gem: No
Crave: No
=======================================
当前主机不支持IPv6,跳过...
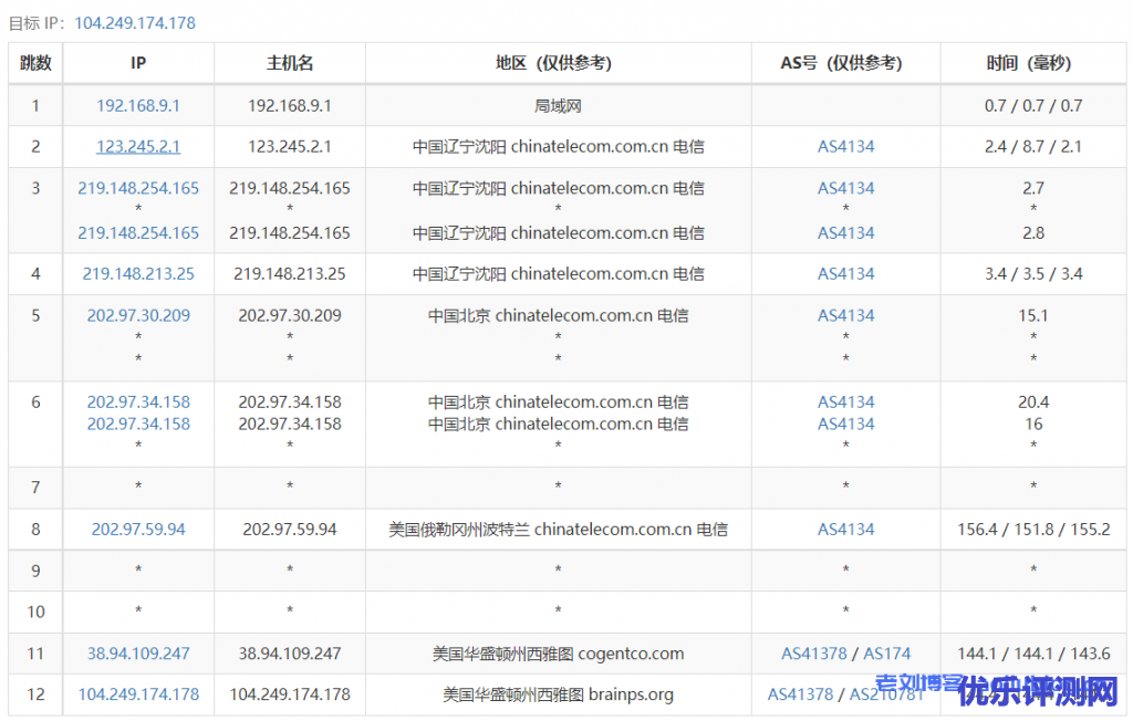
ReCloud美国西雅图NTT Small去程路由跟踪测试:
电信去程

联通去程

移动去程

ReCloud美国西雅图NTT Small回程路由跟踪测试:
Traceroute to China, Guangzhou CT (TCP Mode, Max 30 Hop)
============================================================
traceroute to 113.108.209.1 (113.108.209.1), 30 hops max, 32 byte packets
1 *
2 10.4.0.2 0.63 ms * LAN Address
3 10.1.0.0 28.37 ms * LAN Address
4 218.30.54.141 6.59 ms AS4134 United States, Oregon, Portland, ChinaTelecom
5 202.97.71.1 133.50 ms AS4134 China, Guangdong, Guangzhou, ChinaTelecom
6 202.97.12.26 144.06 ms AS4134 China, Guangdong, Guangzhou, ChinaTelecom
7 202.97.94.129 141.93 ms AS4134 China, Guangdong, Guangzhou, ChinaTelecom
8 *
9 113.108.209.1 152.22 ms AS4134 China, Guangdong, Guangzhou, ChinaTelecom
Traceroute to China, Shanghai CT (TCP Mode, Max 30 Hop)
============================================================
traceroute to 180.153.28.5 (180.153.28.5), 30 hops max, 32 byte packets
1 *
2 10.4.0.2 0.80 ms * LAN Address
3 10.1.0.0 1.18 ms * LAN Address
4 218.30.54.141 9.92 ms AS4134 United States, Oregon, Portland, ChinaTelecom
5 *
6 202.97.90.30 112.54 ms AS4134 China, Shanghai, ChinaTelecom
7 *
8 61.152.24.213 144.60 ms AS4812 China, Shanghai, ChinaTelecom
9 *
10 101.95.225.38 133.73 ms AS4811 China, Shanghai, ChinaTelecom
11 101.227.255.46 125.51 ms AS4812 China, Shanghai, ChinaTelecom
12 180.153.28.5 132.54 ms AS4812 China, Shanghai, ChinaTelecom
Traceroute to China, Beijing CT (TCP Mode, Max 30 Hop)
============================================================
traceroute to 180.149.128.9 (180.149.128.9), 30 hops max, 32 byte packets
1 *
2 10.4.0.2 1.06 ms * LAN Address
3 10.1.0.0 10.36 ms * LAN Address
4 218.30.54.141 11.31 ms AS4134 United States, Oregon, Portland, ChinaTelecom
5 *
6 *
7 *
8 *
9 *
10 180.149.128.9 146.66 ms AS23724 China, Beijing, ChinaTelecom
Traceroute to China, Guangzhou CU (TCP Mode, Max 30 Hop)
============================================================
traceroute to 210.21.4.130 (210.21.4.130), 30 hops max, 32 byte packets
1 *
2 10.4.0.2 0.86 ms * LAN Address
3 10.1.0.0 10.80 ms * LAN Address
4 104.225.97.253 0.70 ms AS36236 United States, Washington, Seattle, netactuate.com
5 76.74.1.185 1.21 ms AS3257 United States, Washington, gtt.net
6 89.149.180.38 23.50 ms AS3257 United States, California, San Jose, gtt.net
7 173.205.62.82 194.41 ms AS3257 United States, California, San Jose, gtt.net
8 219.158.116.237 192.95 ms AS4837 China, Shanghai, ChinaUnicom
9 219.158.8.173 178.28 ms AS4837 China, Shanghai, ChinaUnicom
10 219.158.7.129 194.28 ms AS4837 China, Shanghai, ChinaUnicom
11 *
12 120.82.0.158 176.29 ms AS17816 China, Guangdong, Guangzhou, ChinaUnicom
13 120.80.170.254 194.46 ms AS17622 China, Guangdong, Guangzhou, ChinaUnicom
14 *
15 *
16 *
17 *
18 *
19 *
20 *
21 *
22 *
23 *
24 *
25 *
26 *
27 *
28 *
29 *
30 *
Traceroute to China, Shanghai CU (TCP Mode, Max 30 Hop)
============================================================
traceroute to 58.247.8.158 (58.247.8.158), 30 hops max, 32 byte packets
1 *
2 10.4.0.2 3.56 ms * LAN Address
3 10.1.0.0 3.78 ms * LAN Address
4 104.225.97.253 0.49 ms AS36236 United States, Washington, Seattle, netactuate.com
5 76.74.1.185 2.57 ms AS3257 United States, Washington, gtt.net
6 89.149.180.38 22.70 ms AS3257 United States, California, San Jose, gtt.net
7 219.158.39.105 219.62 ms AS4837 United States, California, San Jose, ChinaUnicom
8 219.158.97.177 214.41 ms AS4837 China, Shanghai, ChinaUnicom
9 219.158.6.185 219.82 ms AS4837 China, Shanghai, ChinaUnicom
10 219.158.8.209 167.20 ms AS4837 China, Shanghai, ChinaUnicom
11 *
12 139.226.228.46 191.13 ms AS17621 China, Shanghai, ChinaUnicom
13 139.226.225.22 210.94 ms AS17621 China, Shanghai, ChinaUnicom
14 58.247.8.153 218.54 ms AS17621 China, Shanghai, ChinaUnicom
15 *
16 *
17 *
18 *
19 *
20 *
21 *
22 *
23 *
24 *
25 *
26 *
27 *
28 *
29 *
30 *
Traceroute to China, Beijing CU (TCP Mode, Max 30 Hop)
============================================================
traceroute to 123.125.99.1 (123.125.99.1), 30 hops max, 32 byte packets
1 *
2 10.4.0.2 0.90 ms * LAN Address
3 10.1.0.0 5.60 ms * LAN Address
4 104.225.97.253 0.72 ms AS36236 United States, Washington, Seattle, netactuate.com
5 76.74.1.185 3.47 ms AS3257 United States, Washington, gtt.net
6 89.149.180.38 30.07 ms AS3257 United States, California, San Jose, gtt.net
7 173.205.62.86 174.81 ms AS3257 gtt.net
8 219.158.6.5 155.73 ms AS4837 China, Shanghai, ChinaUnicom
9 219.158.6.209 179.55 ms AS4837 China, Shanghai, ChinaUnicom
10 219.158.7.133 190.61 ms AS4837 China, Shanghai, ChinaUnicom
11 *
12 125.33.186.26 167.34 ms AS4808 China, Beijing, ChinaUnicom
13 125.33.187.218 187.79 ms AS4808 China, Beijing, ChinaUnicom
14 124.65.194.50 190.22 ms AS4808 China, Beijing, ChinaUnicom
15 61.135.113.158 162.64 ms AS4808 China, Beijing, ChinaUnicom
16 *
17 123.125.99.1 199.13 ms AS4808 China, Beijing, ChinaUnicom
Traceroute to China, Guangzhou CM (TCP Mode, Max 30 Hop)
============================================================
traceroute to 120.196.212.25 (120.196.212.25), 30 hops max, 32 byte packets
1 *
2 10.4.0.2 0.76 ms * LAN Address
3 10.1.0.0 8.01 ms * LAN Address
4 104.225.97.253 0.58 ms AS36236 United States, Washington, Seattle, netactuate.com
5 38.142.50.217 0.79 ms AS174 United States, Washington, Seattle, cogentco.com
6 154.54.86.105 19.33 ms AS174 United States, California, San Francisco, cogentco.com
7 154.54.43.70 20.21 ms AS174 cogentco.com
8 154.54.31.189 32.10 ms AS174 United States, California, Los Angeles, cogentco.com
9 154.54.3.70 32.37 ms AS174 United States, California, Los Angeles, cogentco.com
10 38.19.140.98 31.13 ms AS174 United States, California, Los Angeles, cogentco.com
11 223.118.10.17 31.73 ms AS58453 United States, California, Los Angeles, ChinaMobile
12 *
13 221.183.25.122 164.04 ms AS9808 China, Guangdong, Guangzhou, ChinaMobile
14 221.176.24.5 160.76 ms AS9808 China, Guangdong, Guangzhou, ChinaMobile
15 *
16 111.24.14.74 170.24 ms AS9808 China, Guangdong, Guangzhou, ChinaMobile
17 211.136.208.17 169.21 ms AS56040 China, Guangdong, Guangzhou, ChinaMobile
18 211.136.196.226 168.37 ms AS56040 China, Guangdong, Guangzhou, ChinaMobile
19 211.136.196.206 173.95 ms AS56040 China, Guangdong, Guangzhou, ChinaMobile
20 *
21 *
22 *
23 120.196.212.25 170.11 ms AS56040 China, Guangdong, Guangzhou, ChinaMobile
Traceroute to China, Shanghai CM (TCP Mode, Max 30 Hop)
============================================================
traceroute to 221.183.55.22 (221.183.55.22), 30 hops max, 32 byte packets
1 *
2 10.4.0.2 4.60 ms * LAN Address
3 10.1.0.0 5.23 ms * LAN Address
4 104.225.97.253 0.55 ms AS36236 United States, Washington, Seattle, netactuate.com
5 129.250.203.81 0.66 ms AS2914 United States, Washington, Seattle, ntt.com
6 129.250.5.85 2.45 ms AS2914 United States, Washington, Seattle, ntt.com
7 *
8 129.250.3.61 100.87 ms AS2914 Japan, Osaka, ntt.com
9 129.250.2.43 139.12 ms AS2914 China, Hong Kong, ntt.com
10 129.250.5.28 138.34 ms AS2914 China, Hong Kong, ntt.com
11 129.250.6.92 134.35 ms AS2914 China, Hong Kong, ntt.com
12 203.131.241.82 128.69 ms AS2914 China, Hong Kong, ntt.com
13 223.120.2.65 136.79 ms AS58453 China, Hong Kong, ChinaMobile
14 *
15 *
16 *
17 221.183.55.22 173.95 ms AS9808 China, Shanghai, ChinaMobile
Traceroute to China, Beijing CM (TCP Mode, Max 30 Hop)
============================================================
traceroute to 211.136.25.153 (211.136.25.153), 30 hops max, 32 byte packets
1 *
2 10.4.0.2 0.99 ms * LAN Address
3 10.1.0.0 1.48 ms * LAN Address
4 104.225.97.253 0.30 ms AS36236 United States, Washington, Seattle, netactuate.com
5 38.142.50.217 0.95 ms AS174 United States, Washington, Seattle, cogentco.com
6 154.54.0.241 26.17 ms AS174 United States, California, San Francisco, cogentco.com
7 154.54.43.70 23.71 ms AS174 cogentco.com
8 154.54.31.189 32.25 ms AS174 United States, California, Los Angeles, cogentco.com
9 154.54.3.70 32.38 ms AS174 United States, California, Los Angeles, cogentco.com
10 38.104.85.162 385.41 ms AS174 United States, California, Los Angeles, cogentco.com
11 223.120.6.217 377.35 ms AS58453 United States, California, Los Angeles, ChinaMobile
12 *
13 *
14 *
15 *
16 *
17 111.24.2.134 824.69 ms AS9808 China, Beijing, ChinaMobile
18 *
19 *
20 *
21 *
22 *
23 211.136.25.153 702.43 ms AS56048 China, Beijing, ChinaMobile
Traceroute to China, Beijing Dr.Peng Network IDC Network (TCP Mode, Max 30 Hop)
============================================================
traceroute to 211.167.230.100 (211.167.230.100), 30 hops max, 32 byte packets
1 *
2 10.4.0.2 0.86 ms * LAN Address
3 10.1.0.0 6.16 ms * LAN Address
4 104.225.97.253 0.29 ms AS36236 United States, Washington, Seattle, netactuate.com
5 76.74.1.185 1.16 ms AS3257 United States, Washington, gtt.net
6 89.149.180.38 23.21 ms AS3257 United States, California, San Jose, gtt.net
7 173.205.56.178 192.86 ms AS3257 United States, California, San Jose, gtt.net
8 219.158.116.249 187.77 ms AS4837 China, Shanghai, ChinaUnicom
9 219.158.8.185 209.91 ms AS4837 China, Shanghai, ChinaUnicom
10 219.158.8.245 205.36 ms AS4837 China, Shanghai, ChinaUnicom
11 219.158.7.233 193.52 ms AS4837 China, Beijing, ChinaUnicom
12 *
13 61.148.153.190 208.23 ms AS4808 China, Beijing, ChinaUnicom
14 61.149.212.242 199.99 ms AS4808 China, Beijing, ChinaUnicom
15 202.99.1.126 191.20 ms AS4808 China, Beijing, ChinaUnicom
16 218.241.255.86 203.56 ms AS4808 China, Beijing, DRPENG
17 218.241.255.102 204.32 ms AS4808 China, Beijing, DRPENG
18 218.241.245.158 212.27 ms AS4808 China, Beijing, DRPENG
19 *
20 211.167.230.100 205.47 ms AS17964 China, Beijing, DRPENG
----------------------------------------------------------------------
ReCloud美国西雅图NTT Small综合性能测试(Unixbench跑分):
------------------------------------------------------------------------
Benchmark Run: Sun Apr 03 2022 10:18:54 - 10:48:03
2 CPUs in system; running 1 parallel copy of tests
Dhrystone 2 using register variables 21165625.8 lps (10.0 s, 7 samples)
Double-Precision Whetstone 4072.9 MWIPS (9.7 s, 7 samples)
Execl Throughput 2101.2 lps (30.0 s, 2 samples)
File Copy 1024 bufsize 2000 maxblocks 295300.5 KBps (30.0 s, 2 samples)
File Copy 256 bufsize 500 maxblocks 77195.6 KBps (30.0 s, 2 samples)
File Copy 4096 bufsize 8000 maxblocks 891378.9 KBps (30.0 s, 2 samples)
Pipe Throughput 447780.4 lps (10.0 s, 7 samples)
Pipe-based Context Switching 69293.2 lps (10.0 s, 7 samples)
Process Creation 4258.6 lps (30.0 s, 2 samples)
Shell Scripts (1 concurrent) 4215.0 lpm (60.0 s, 2 samples)
Shell Scripts (8 concurrent) 688.5 lpm (60.0 s, 2 samples)
System Call Overhead 459953.0 lps (10.0 s, 7 samples)
System Benchmarks Index Values BASELINE RESULT INDEX
Dhrystone 2 using register variables 116700.0 21165625.8 1813.7
Double-Precision Whetstone 55.0 4072.9 740.5
Execl Throughput 43.0 2101.2 488.7
File Copy 1024 bufsize 2000 maxblocks 3960.0 295300.5 745.7
File Copy 256 bufsize 500 maxblocks 1655.0 77195.6 466.4
File Copy 4096 bufsize 8000 maxblocks 5800.0 891378.9 1536.9
Pipe Throughput 12440.0 447780.4 360.0
Pipe-based Context Switching 4000.0 69293.2 173.2
Process Creation 126.0 4258.6 338.0
Shell Scripts (1 concurrent) 42.4 4215.0 994.1
Shell Scripts (8 concurrent) 6.0 688.5 1147.5
System Call Overhead 15000.0 459953.0 306.6
========
System Benchmarks Index Score 608.7
------------------------------------------------------------------------
Benchmark Run: Sun Apr 03 2022 10:48:03 - 11:17:19
2 CPUs in system; running 2 parallel copies of tests
Dhrystone 2 using register variables 42879297.4 lps (10.0 s, 7 samples)
Double-Precision Whetstone 8256.9 MWIPS (9.8 s, 7 samples)
Execl Throughput 3027.5 lps (29.9 s, 2 samples)
File Copy 1024 bufsize 2000 maxblocks 517750.0 KBps (30.0 s, 2 samples)
File Copy 256 bufsize 500 maxblocks 131358.0 KBps (30.0 s, 2 samples)
File Copy 4096 bufsize 8000 maxblocks 1499725.4 KBps (30.0 s, 2 samples)
Pipe Throughput 895838.1 lps (10.0 s, 7 samples)
Pipe-based Context Switching 131501.2 lps (10.0 s, 7 samples)
Process Creation 9151.7 lps (30.0 s, 2 samples)
Shell Scripts (1 concurrent) 5079.6 lpm (60.0 s, 2 samples)
Shell Scripts (8 concurrent) 699.4 lpm (60.1 s, 2 samples)
System Call Overhead 818064.5 lps (10.0 s, 7 samples)
System Benchmarks Index Values BASELINE RESULT INDEX
Dhrystone 2 using register variables 116700.0 42879297.4 3674.3
Double-Precision Whetstone 55.0 8256.9 1501.2
Execl Throughput 43.0 3027.5 704.1
File Copy 1024 bufsize 2000 maxblocks 3960.0 517750.0 1307.4
File Copy 256 bufsize 500 maxblocks 1655.0 131358.0 793.7
File Copy 4096 bufsize 8000 maxblocks 5800.0 1499725.4 2585.7
Pipe Throughput 12440.0 895838.1 720.1
Pipe-based Context Switching 4000.0 131501.2 328.8
Process Creation 126.0 9151.7 726.3
Shell Scripts (1 concurrent) 42.4 5079.6 1198.0
Shell Scripts (8 concurrent) 6.0 699.4 1165.6
System Call Overhead 15000.0 818064.5 545.4
========
System Benchmarks Index Score 1026.3
======= Script description and score comparison completed! =======
最后贴上ReCloud美国西雅图NTT套餐方案(标红的是本文测试套餐):
电信/联通直连 移动绕港 解锁Disney Plus, HBO Max, HBO Now, ABC, Netflix,Recloud TG群连接:t.me/Recloud888
| 西雅图NTT Mini | 西雅图NTT Special | 西雅图NTT Small | 美西 1C1G2T 轻量用户 |
| 1 vCPU | 2 vCPU | 2 vCPU | 1 vCPU |
| 512M DDR3 RAM | 2048M DDR3 RAM | 2048M DDR3 RAM | 1024M DDR3 RAM |
| 10GB NVME SSD | 15GB NVME SSD | 15GB NVME SSD | 10GB NVME SSD |
| 1000G 双向流量 | 无限流量(预设30T 用完免费重置) | 10000G 双向流量 (5折重置) | 2000G 双向流量 |
| 300Mbps 带宽 | 200Mbps 带宽 | 500Mbps 带宽 | 500Mbps 带宽 |
| 1 IPv4(原生IP) | 1 IPv4(原生IP) | 1 IPv4(原生IP) | 1 IPv4(原生IP) |
| ¥30.00CNY/月 ¥10.00 初装费 |
¥150.00CNY/月 | ¥180.00CNY/月 | ¥80.00CNY/月 |
| 立即订购 | 立即订购 | 立即订购 | 立即订购 |

康维主机测评-网站SEO优化
