ReCloud台湾动态Hinet廉价版套餐参见《 ReCloud台湾动态Hinet廉价版本VPS上架,即时优惠码放送中!原生台湾IP,可选1C1G 500M或1C2G 500M》,ReCloud台湾动态Hinet廉价版本VPS测评,1C1G 500M,台湾原生IP,解锁NETFLIX、动漫如下:
ReCloud官网:https://oneprovide.net,Recloud TG群连接:t.me/Recloud888
ReCloud优惠码:FQAYYMV70Z,¥30.00CNY 一次性 折扣,即时优惠,且仅适用于Hinet廉价版
ReCloud台湾家宽Hinet廉价版本VPS方案:
| hinet廉价版本 1C1G 500M | hinet廉价版本 1C2G 500M |
| 1 vCPU | 1 vCPU |
| 1024M DDR3 RAM | 2048M DDR3 RAM |
| 15GB RAID 5 | 15GB RAID 5 |
| 预设10T 无限制流量 合理使用 | 预设10T 无限制流量 合理使用 |
| 500Mbps 下行峰值带宽 | 500Mbps 下行峰值带宽 |
| 250Mbps 上行峰值带宽 | 250Mbps 上行峰值带宽 |
| 1 动态IPv4(原生台湾IP) | 1 动态IPv4(原生台湾IP) |
| 联系tg:@oneprovide 开通 发工单开通 带上密码 | 联系tg:@oneprovide 开通 发工单开通 带上密码 |
| 群连接:t.me/Recloud888 | 群连接:t.me/Recloud888 |
| ¥129.00CNY每月(优惠后99元) | ¥159.00CNY每月(优惠后129元) |
| 立即订购 | 立即订购 |
ReCloud台湾动态Hinet廉价版VPS基本参数:Intel(R) Xeon(R) CPU E5-2670 v2 @ 2.50GHz,IO磁盘在381.3 MB/s左右,也可以看到流媒体解锁概况。
----------------------------------------------------------------------
CPU Model : Intel(R) Xeon(R) CPU E5-2670 v2 @ 2.50GHz
CPU Cores : 1 Cores 2500.000 MHz x86_64
CPU Cache : 16384 KB
CPU Flags : AES-NI Enabled & VM-x/AMD-V Disabled
OS : CentOS 7.9.2009 (64 Bit) KVM
Kernel : 3.10.0-957.1.3.el7.x86_64
Total Space : 1.9 GB / 15.0 GB
Total RAM : 72 MB / 991 MB (847 MB Buff)
Total SWAP : 0 MB / 0 MB
Uptime : 0 days 2 hour 13 min
Load Average : 0.00, 0.01, 0.05
TCP CC : cubic
Organization : AS3462 Data Communication Business Group
Location : Taipei / TW
Region : Taiwan
----------------------------------------------------------------------
Stream Media Unlock :
Netflix : Yes (Region: TW)
YouTube Premium : Yes (Region: TW)
YouTube CDN : Associated with HINET
BiliBili China : Yes (Region: HongKong/Macau/Taiwan Only)
TikTok : Yes (Region: TW)
iQIYI International : Yes (Region: TW)
----------------------------------------------------------------------
I/O Speed( 1.0GB ) : 375 MB/s
I/O Speed( 1.0GB ) : 399 MB/s
I/O Speed( 1.0GB ) : 370 MB/s
Average I/O Speed : 381.3 MB/s
----------------------------------------------------------------------
Speedtest.net国内外节点测速:
----------------------------------------------------------------------
Node Name Upload Speed Download Speed Latency
Speedtest.net 100.56 Mbit/s 311.05 Mbit/s 1.40 ms
Shanghai CT 1.21 Mbit/s 306.22 Mbit/s 47.33 ms
Nanjing 5G CT 93.72 Mbit/s 302.90 Mbit/s 46.63 ms
Shanghai 5G CU 68.78 Mbit/s 9.43 Mbit/s 116.55 ms
Wu Xi CU 80.35 Mbit/s 257.63 Mbit/s 114.68 ms
Yinchuan CM 87.21 Mbit/s 304.55 Mbit/s 79.07 ms
Nanning CM 99.60 Mbit/s 317.04 Mbit/s 71.20 ms
Chengdu CM 83.14 Mbit/s 323.83 Mbit/s 103.55 ms
----------------------------------------------------------------------
Node Name Upload Speed Download Speed Latency
Hong Kong CN 99.30 Mbit/s 300.22 Mbit/s 24.70 ms
Macau CN 97.25 Mbit/s 301.53 Mbit/s 24.61 ms
Taiwan CN 99.31 Mbit/s 306.11 Mbit/s 2.52 ms
Singapore SG 95.18 Mbit/s 304.78 Mbit/s 49.78 ms
Tokyo JP 41.98 Mbit/s 229.75 Mbit/s 230.29 ms
Seoul KR 91.23 Mbit/s 258.89 Mbit/s 96.30 ms
Los Angeles US 72.21 Mbit/s 273.81 Mbit/s 128.15 ms
Frankfurt DE 46.30 Mbit/s 282.38 Mbit/s 285.61 ms
France FR 54.83 Mbit/s 295.80 Mbit/s 207.96 ms
----------------------------------------------------------------------
路由回程跟踪测试:
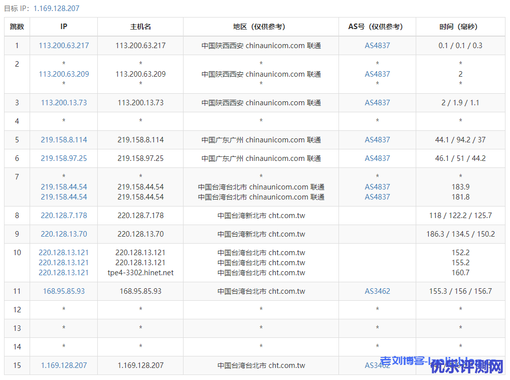
ReCloud台湾动态Hinet廉价版VPS是台湾原生IP:

iperf3针对欧美的节点的数据测试:
fio Disk Speed Tests (Mixed R/W 50/50):
---------------------------------
Block Size | 4k (IOPS) | 64k (IOPS)
------ | --- ---- | ---- ----
Read | 2.43 MB/s (608) | 33.82 MB/s (528)
Write | 2.45 MB/s (613) | 34.16 MB/s (533)
Total | 4.88 MB/s (1.2k) | 67.99 MB/s (1.0k)
| |
Block Size | 512k (IOPS) | 1m (IOPS)
------ | --- ---- | ---- ----
Read | 72.40 MB/s (141) | 92.61 MB/s (90)
Write | 76.24 MB/s (148) | 98.78 MB/s (96)
Total | 148.64 MB/s (289) | 191.39 MB/s (186)
FIO测试硬盘读写:
iperf3 Network Speed Tests (IPv4):
---------------------------------
Provider | Location (Link) | Send Speed | Recv Speed
| | |
Clouvider | London, UK (10G) | 21.1 Mbits/sec | 118 Mbits/sec
Online.net | Paris, FR (10G) | busy | busy
Hybula | The Netherlands (40G) | 58.0 Mbits/sec | 225 Mbits/sec
Uztelecom | Tashkent, UZ (10G) | 76.7 Mbits/sec | 234 Mbits/sec
Clouvider | NYC, NY, US (10G) | 42.7 Mbits/sec | 116 Mbits/sec
Clouvider | Dallas, TX, US (10G) | 18.5 Mbits/sec | 55.4 Mbits/sec
Clouvider | Los Angeles, CA, US (10G) | 69.4 Mbits/sec | 67.5 Mbits/sec
流媒体测试:
** 测试时间: Mon Jul 25 05:55:57 EDT 2022
** 正在测试IPv4解锁情况
--------------------------------
** 您的网络为: Chunghwa Telecom (1.169.*.*)
============[ Multination ]============
Dazn: Yes (Region: TW)
HotStar: No
Disney+: No
Netflix: Yes (Region: TW)
YouTube Premium: Yes (Region: TW)
Amazon Prime Video: Yes (Region: TW)
TVBAnywhere+: Yes
iQyi Oversea Region: TW
Viu.com: No
YouTube CDN: Associated with [HINET]
Netflix Preferred CDN: Associated with [Chunghwa Telecom] in [Taipei ]
Spotify Registration: Yes (Region: TW)
Steam Currency: TWD
=======================================
==============[ Taiwan ]===============
KKTV: Yes
LiTV: Yes
MyVideo: Yes
4GTV.TV: Yes
LineTV.TW: Yes
Hami Video: Yes
CatchPlay+: Yes
HBO GO Asia: Yes (Region: TW)
Bahamut Anime: Yes
Eleven Sports TW: Yes
Bilibili Taiwan Only: Yes
=======================================
当前主机不支持IPv6,跳过...
55个节点网络延迟情况:

丢包率测试:

路由去程跟踪测试:
电信去程

联通去程

移动去程

路由回程跟踪测试:
Traceroute to China, Guangzhou CT (TCP Mode, Max 30 Hop)
============================================================
traceroute to 113.108.209.1 (113.108.209.1), 30 hops max, 32 byte packets
1 *
2 10.110.230.6 0.30 ms * LAN Address
3 10.110.231.1 1.06 ms * LAN Address
4 *
5 168.95.84.30 2.81 ms AS3462 China, Taiwan, Taipei City, cht.com.tw
6 220.128.3.206 2.03 ms * China, Taiwan, cht.com.tw
7 220.128.24.101 6.12 ms * China, Taiwan, Taipei City, cht.com.tw
8 220.128.10.5 2.01 ms * China, Taiwan, cht.com.tw
9 220.128.6.125 2.88 ms * China, Taiwan, Taipei City, cht.com.tw
10 183.91.34.121 34.06 ms * China, Hong Kong, ChinaTelecom
11 202.97.22.125 47.20 ms AS4134 China, Guangdong, Guangzhou, ChinaTelecom
12 *
13 *
14 113.96.5.70 56.84 ms AS4134 China, Guangdong, Guangzhou, ChinaTelecom
15 *
16 113.108.209.1 41.91 ms AS4134 China, Guangdong, Guangzhou, ChinaTelecom
Traceroute to China, Shanghai CT (TCP Mode, Max 30 Hop)
============================================================
traceroute to 180.153.28.5 (180.153.28.5), 30 hops max, 32 byte packets
1 *
2 10.110.230.6 0.29 ms * LAN Address
3 10.110.231.1 1.09 ms * LAN Address
4 *
5 168.95.85.30 1.88 ms AS3462 China, Taiwan, Taipei City, cht.com.tw
6 220.128.4.94 3.02 ms * China, Taiwan, Taipei City, cht.com.tw
7 220.128.25.181 7.04 ms * China, Taiwan, Taipei City, cht.com.tw
8 220.128.11.177 2.02 ms * China, Taiwan, Taipei City, cht.com.tw
9 220.128.6.253 1.96 ms * China, Taiwan, Taipei City, cht.com.tw
10 *
11 *
12 202.97.24.133 66.53 ms AS4134 China, Shanghai, ChinaTelecom
13 61.152.25.221 57.30 ms AS4812 China, Shanghai, ChinaTelecom
14 *
15 *
16 101.227.255.46 62.85 ms AS4812 China, Shanghai, ChinaTelecom
17 *
18 *
19 *
20 *
21 *
22 *
23 *
24 *
25 *
26 *
27 *
28 *
29 *
30 *
Traceroute to China, Beijing CT (TCP Mode, Max 30 Hop)
============================================================
traceroute to 180.149.128.9 (180.149.128.9), 30 hops max, 32 byte packets
1 *
2 10.110.230.6 0.29 ms * LAN Address
3 10.110.231.1 0.94 ms * LAN Address
4 *
5 168.95.85.34 1.79 ms AS3462 China, Taiwan, Taipei City, cht.com.tw
6 *
7 220.128.27.5 4.98 ms * China, Taiwan, Taipei City, cht.com.tw
8 220.128.11.181 1.74 ms * China, Taiwan, Taipei City, cht.com.tw
9 220.128.6.253 1.56 ms * China, Taiwan, Taipei City, cht.com.tw
10 *
11 *
12 202.97.50.221 55.22 ms AS4134 China, Shanghai, ChinaTelecom
13 *
14 *
15 *
16 *
17 *
18 *
19 *
20 *
21 *
22 *
23 *
24 *
25 *
26 *
27 *
28 *
29 *
30 *
Traceroute to China, Guangzhou CU (TCP Mode, Max 30 Hop)
============================================================
traceroute to 210.21.4.130 (210.21.4.130), 30 hops max, 32 byte packets
1 *
2 10.110.230.6 0.30 ms * LAN Address
3 10.110.231.1 0.84 ms * LAN Address
4 *
5 168.95.85.94 8.64 ms AS3462 China, Taiwan, Taipei City, cht.com.tw
6 220.128.4.134 2.45 ms * China, Taiwan, Taipei City, cht.com.tw
7 220.128.25.137 3.59 ms * China, Taiwan, Taipei City, cht.com.tw
8 220.128.11.193 2.41 ms * China, Taiwan, Taipei City, cht.com.tw
9 220.128.6.125 2.66 ms * China, Taiwan, Taipei City, cht.com.tw
10 219.158.44.61 102.37 ms AS4837 China, Guangdong, Guangzhou, ChinaUnicom
11 219.158.97.26 110.54 ms AS4837 China, Guangdong, Guangzhou, ChinaUnicom
12 219.158.8.113 119.61 ms AS4837 China, Guangdong, Guangzhou, ChinaUnicom
13 120.83.0.166 109.76 ms AS17816 China, Guangdong, Guangzhou, ChinaUnicom
14 120.80.122.54 111.75 ms AS17622 China, Guangdong, Guangzhou, ChinaUnicom
15 120.80.175.78 116.18 ms AS17622 China, Guangdong, Guangzhou, ChinaUnicom
16 *
17 *
18 *
19 *
20 *
21 *
22 *
23 *
24 *
25 *
26 *
27 *
28 *
29 *
30 *
Traceroute to China, Shanghai CU (TCP Mode, Max 30 Hop)
============================================================
traceroute to 58.247.8.158 (58.247.8.158), 30 hops max, 32 byte packets
1 *
2 10.110.230.6 0.26 ms * LAN Address
3 10.110.231.1 1.07 ms * LAN Address
4 *
5 168.95.84.34 3.90 ms AS3462 China, Taiwan, Taipei City, cht.com.tw
6 220.128.3.206 1.96 ms * China, Taiwan, cht.com.tw
7 220.128.24.89 3.61 ms * China, Taiwan, Taipei City, cht.com.tw
8 220.128.11.153 1.60 ms * China, Taiwan, Taipei City, cht.com.tw
9 220.128.6.125 1.66 ms * China, Taiwan, Taipei City, cht.com.tw
10 219.158.44.61 84.21 ms AS4837 China, Guangdong, Guangzhou, ChinaUnicom
11 219.158.111.137 119.37 ms AS4837 China, Shanghai, ChinaUnicom
12 219.158.113.134 127.88 ms AS4837 China, Shanghai, ChinaUnicom
13 219.158.113.109 136.17 ms AS4837 China, Shanghai, ChinaUnicom
14 139.226.231.110 135.95 ms AS17621 China, Shanghai, ChinaUnicom
15 139.226.228.46 128.72 ms AS17621 China, Shanghai, ChinaUnicom
16 139.226.225.22 135.72 ms AS17621 China, Shanghai, ChinaUnicom
17 58.247.8.153 175.82 ms AS17621 China, Shanghai, ChinaUnicom
18 *
19 *
20 *
21 *
22 *
23 *
24 *
25 *
26 *
27 *
28 *
29 *
30 *
Traceroute to China, Beijing CU (TCP Mode, Max 30 Hop)
============================================================
traceroute to 123.125.99.1 (123.125.99.1), 30 hops max, 32 byte packets
1 *
2 10.110.230.6 0.30 ms * LAN Address
3 10.110.231.1 1.12 ms * LAN Address
4 *
5 168.95.85.34 48.18 ms AS3462 China, Taiwan, Taipei City, cht.com.tw
6 220.128.4.94 2.05 ms * China, Taiwan, Taipei City, cht.com.tw
7 220.128.27.5 4.84 ms * China, Taiwan, Taipei City, cht.com.tw
8 220.128.11.33 15.55 ms * China, Taiwan, New Taipei City, cht.com.tw
9 220.128.6.125 1.73 ms * China, Taiwan, Taipei City, cht.com.tw
10 219.158.44.61 103.66 ms AS4837 China, Guangdong, Guangzhou, ChinaUnicom
11 219.158.115.121 139.90 ms AS4837 China, Beijing, ChinaUnicom
12 219.158.113.105 134.42 ms AS4837 China, Shanghai, ChinaUnicom
13 *
14 *
15 219.232.11.130 139.37 ms AS4808 China, Beijing, ChinaUnicom
16 61.135.113.158 140.86 ms AS4808 China, Beijing, ChinaUnicom
17 *
18 *
19 *
20 *
21 *
22 *
23 *
24 *
25 *
26 *
27 *
28 *
29 *
30 *
Traceroute to China, Guangzhou CM (TCP Mode, Max 30 Hop)
============================================================
traceroute to 120.196.212.25 (120.196.212.25), 30 hops max, 32 byte packets
1 *
2 10.110.230.6 0.28 ms * LAN Address
3 10.110.231.1 1.09 ms * LAN Address
4 *
5 168.95.84.90 2.41 ms AS3462 China, Taiwan, Taipei City, cht.com.tw
6 220.128.12.122 2.03 ms * China, Taiwan, cht.com.tw
7 220.128.12.69 3.31 ms * China, Taiwan, Taipei City, cht.com.tw
8 220.128.7.41 2.85 ms * China, Taiwan, New Taipei City, cht.com.tw
9 223.119.47.73 29.44 ms AS58453 China, Hong Kong, ChinaMobile
10 223.120.2.53 35.19 ms AS58453 China, Hong Kong, ChinaMobile
11 *
12 221.183.55.70 36.72 ms AS9808 China, Guangdong, Guangzhou, ChinaMobile
13 221.183.25.118 47.75 ms AS9808 China, Guangdong, Guangzhou, ChinaMobile
14 221.176.24.5 37.31 ms AS9808 China, Guangdong, Guangzhou, ChinaMobile
15 111.24.4.229 33.23 ms AS9808 China, Guangdong, Guangzhou, ChinaMobile
16 111.24.14.82 36.40 ms AS9808 China, Guangdong, Guangzhou, ChinaMobile
17 211.136.196.234 58.31 ms AS56040 China, Guangdong, Guangzhou, ChinaMobile
18 211.136.208.121 39.56 ms AS56040 China, Guangdong, Guangzhou, ChinaMobile
19 211.139.180.110 36.89 ms AS56040 China, Guangdong, Guangzhou, ChinaMobile
20 *
21 120.196.212.25 35.96 ms AS56040 China, Guangdong, Guangzhou, ChinaMobile
Traceroute to China, Shanghai CM (TCP Mode, Max 30 Hop)
============================================================
traceroute to 221.183.55.22 (221.183.55.22), 30 hops max, 32 byte packets
1 *
2 10.110.230.6 0.33 ms * LAN Address
3 10.110.231.1 0.89 ms * LAN Address
4 *
5 168.95.84.90 1.78 ms AS3462 China, Taiwan, Taipei City, cht.com.tw
6 220.128.3.206 3.13 ms * China, Taiwan, cht.com.tw
7 220.128.24.89 3.73 ms * China, Taiwan, Taipei City, cht.com.tw
8 220.128.11.165 1.68 ms * China, Taiwan, Taipei City, cht.com.tw
9 220.128.6.253 1.59 ms * China, Taiwan, Taipei City, cht.com.tw
10 211.72.233.145 26.47 ms AS3462 China, Hong Kong, cht.com.tw
11 *
12 *
13 *
14 *
15 221.183.55.22 65.91 ms AS9808 China, Shanghai, ChinaMobile
Traceroute to China, Beijing CM (TCP Mode, Max 30 Hop)
============================================================
traceroute to 211.136.25.153 (211.136.25.153), 30 hops max, 32 byte packets
1 *
2 10.110.230.6 0.31 ms * LAN Address
3 10.110.231.1 1.04 ms * LAN Address
4 *
5 168.95.84.90 1.73 ms AS3462 China, Taiwan, Taipei City, cht.com.tw
6 220.128.3.134 2.12 ms * China, Taiwan, Taipei City, cht.com.tw
7 220.128.26.5 4.34 ms * China, Taiwan, Taipei City, cht.com.tw
8 220.128.11.161 1.96 ms * China, Taiwan, Taipei City, cht.com.tw
9 220.128.6.253 2.72 ms * China, Taiwan, Taipei City, cht.com.tw
10 211.72.233.145 25.10 ms AS3462 China, Hong Kong, cht.com.tw
11 223.120.3.89 24.76 ms AS58453 China, Hong Kong, ChinaMobile
12 *
13 *
14 *
15 221.183.25.201 60.49 ms AS9808 China, Beijing, ChinaMobile
16 *
17 111.24.17.105 63.28 ms AS9808 China, Beijing, ChinaMobile
18 111.24.14.54 64.29 ms AS9808 China, Beijing, ChinaMobile
19 *
20 211.136.67.166 64.19 ms AS56048 China, Beijing, ChinaMobile
21 211.136.67.166 64.90 ms AS56048 China, Beijing, ChinaMobile
22 *
23 *
24 *
25 *
26 211.136.25.153 65.70 ms AS56048 China, Beijing, ChinaMobile
Traceroute to China, Beijing Dr.Peng Network IDC Network (TCP Mode, Max 30 Hop)
============================================================
traceroute to 211.167.230.100 (211.167.230.100), 30 hops max, 32 byte packets
1 *
2 10.110.230.6 0.32 ms * LAN Address
3 10.110.231.1 1.09 ms * LAN Address
4 *
5 168.95.85.94 1.52 ms AS3462 China, Taiwan, Taipei City, cht.com.tw
6 220.128.4.134 1.93 ms * China, Taiwan, Taipei City, cht.com.tw
7 220.128.25.89 5.19 ms * China, Taiwan, Taipei City, cht.com.tw
8 220.128.11.169 41.46 ms * China, Taiwan, Taipei City, cht.com.tw
9 220.128.6.125 2.84 ms * China, Taiwan, Taipei City, cht.com.tw
10 219.158.44.49 127.62 ms AS4837 China, Shanghai, ChinaUnicom
11 219.158.8.173 124.77 ms AS4837 China, Shanghai, ChinaUnicom
12 219.158.8.245 110.23 ms AS4837 China, Shanghai, ChinaUnicom
13 219.158.16.89 126.99 ms AS4837 China, Beijing, ChinaUnicom
14 61.149.203.46 171.62 ms AS4808 China, Beijing, ChinaUnicom
15 61.148.153.190 142.93 ms AS4808 China, Beijing, ChinaUnicom
16 61.149.212.242 109.41 ms AS4808 China, Beijing, ChinaUnicom
17 202.99.1.238 106.28 ms AS4808 China, Beijing, ChinaUnicom
18 218.241.255.86 137.91 ms AS4808 China, Beijing, DRPENG
19 218.241.253.134 144.76 ms AS4808 China, Beijing, DRPENG
20 211.167.230.100 119.24 ms AS17964 China, Beijing, DRPENG
----------------------------------------------------------------------
Finished in : 12 min 57 sec
Timestamp : 2022-07-25 15:26:44 GMT+8
Results : ./superbench.log
----------------------------------------------------------------------
Share result:
· https://browser.geekbench.com/v5/cpu/16224842
· https://www.speedtest.net/result/c/32b17e73-d2b3-43b7-a6ac-ebaaa8f4139d
· https://paste.ubuntu.com/p/zNtpmn5VFC/
----------------------------------------------------------------------
Geekbench 5跑分测试:
Geekbench 5 Benchmark Test:
---------------------------------
Test | Value
|
Single Core | 714
Multi Core | 714
Full Test | https://browser.geekbench.com/v5/cpu/16227170

康维主机测评-网站SEO优化








