ReCloud香港 | HE+HKIX套餐详情:ReCloud新上香港HE+HKIX,香港原生IP,保证解锁流媒体!有香港落地款 BGP – 2c2g 1G 无限流量和香港落地款 BGP -2c4g 2G 无限流量,ReCloud香港 | HE+HKIX (流媒体解锁保证)-香港落地款 BGP – 2c2g 1G 无限流量VPS测评如下:
ReCloud官网:https://oneprovide.net,Recloud TG群连接:t.me/Recloud888
ReCloud优惠码:5CNC4NQK4M,立减40元
既然商家说流媒体解锁保证,那么首先看下ReCloud香港 | HE+HKIX流媒体测试:
** 测试时间: Sat Jul 16 11:38:30 CST 2022
** 正在测试IPv4解锁情况
--------------------------------
** 您的网络为: Anchnet Asia Limited (103.135.*.*)
============[ Multination ]============
Dazn: No
HotStar: No
Disney+: Yes (Region: HK)
Netflix: Yes (Region: HK)
YouTube Premium: Yes (Region: HK)
Amazon Prime Video: Yes (Region: HK)
TVBAnywhere+: No
iQyi Oversea Region: HK
Viu.com: Yes (Region: HK)
YouTube CDN: Atlanta, GA
Netflix Preferred CDN: Frankfurt
Spotify Registration: No
Steam Currency: HKD
=======================================
=============[ Hong Kong ]=============
Now E: Yes
Viu.TV: Yes
MyTVSuper: No
HBO GO Asia: Yes (Region: HK)
BiliBili Hongkong/Macau/Taiwan: Yes
=======================================
当前主机不支持IPv6,跳过...
ReCloud香港 | HE+HKIX (流媒体解锁保证)-香港落地款 BGP – 2c2g 1G 无限流量VPS基本参数:Intel(R) Xeon(R) CPU E5-2680 v3 @ 2.50GHz,IO磁盘在437.0 MB/s左右,也可以看到流媒体解锁概况。
----------------------------------------------------------------------
CPU Model : Intel(R) Xeon(R) CPU E5-2680 v3 @ 2.50GHz
CPU Cores : 1 Cores 2499.996 MHz x86_64
CPU Cache : 16384 KB
CPU Flags : AES-NI Enabled & VM-x/AMD-V Disabled
OS : CentOS 7.6.1810 (64 Bit) KVM
Kernel : 3.10.0-957.1.3.el7.x86_64
Total Space : 5.0 GB / 50.0 GB
Total RAM : 877 MB / 1838 MB (893 MB Buff)
Total SWAP : 8 MB / 1024 MB
Uptime : 10 days 13 hour 26 min
Load Average : 0.41, 0.20, 0.11
TCP CC : cubic
Organization : AS137443 Anchnet Asia Limited
Location : Hong Kong / HK
Region : Central and Western
----------------------------------------------------------------------
Stream Media Unlock :
Netflix : Yes (Region: HK)
YouTube Premium : Yes (Region: HK)
YouTube CDN : Atlanta
BiliBili China : Yes (Region: HongKong/Macau/Taiwan Only)
TikTok : No
iQIYI International : Yes (Region: HK)
----------------------------------------------------------------------
I/O Speed( 1.0GB ) : 454 MB/s
I/O Speed( 1.0GB ) : 509 MB/s
I/O Speed( 1.0GB ) : 348 MB/s
Average I/O Speed : 437.0 MB/s
----------------------------------------------------------------------
看看ReCloud香港 | HE+HKIX (流媒体解锁保证)是不是原生IP,下图可见是香港原生IP:

看看ReCloud香港 | HE+HKIX (流媒体解锁保证),67个节点网络延迟情况:

ReCloud香港 | HE+HKIX (流媒体解锁保证)Speedtest.net国内外节点测速:
----------------------------------------------------------------------
Node Name Upload Speed Download Speed Latency
Speedtest.net 4.79 Mbit/s 17.62 Mbit/s 2.34 ms
Shanghai CT 5.01 Mbit/s 18.68 Mbit/s 30.18 ms
Nanjing 5G CT 4.90 Mbit/s 17.67 Mbit/s 30.49 ms
TianJin 5G CT 4.99 Mbit/s 18.75 Mbit/s 41.95 ms
Shanghai 5G CU 4.88 Mbit/s 18.75 Mbit/s 38.68 ms
Wu Xi CU 5.02 Mbit/s 17.18 Mbit/s 34.81 ms
Nanjing CU 5.12 Mbit/s 19.30 Mbit/s 31.52 ms
Yinchuan CM 4.97 Mbit/s 18.33 Mbit/s 64.56 ms
Nanning CM 5.01 Mbit/s 18.81 Mbit/s 49.13 ms
Beijing CM 5.02 Mbit/s 18.63 Mbit/s 47.30 ms
Chengdu CM 5.02 Mbit/s 19.32 Mbit/s 77.10 ms
----------------------------------------------------------------------
Node Name Upload Speed Download Speed Latency
Hong Kong CN 2.98 Mbit/s 17.60 Mbit/s 1.98 ms
Macau CN 4.96 Mbit/s 19.11 Mbit/s 9.96 ms
Taiwan CN 4.99 Mbit/s 17.96 Mbit/s 27.38 ms
Tokyo JP 5.00 Mbit/s 19.15 Mbit/s 56.62 ms
Seoul KR 5.02 Mbit/s 18.16 Mbit/s 41.61 ms
Los Angeles US 5.07 Mbit/s 20.03 Mbit/s 156.01 ms
Frankfurt DE 5.00 Mbit/s 18.37 Mbit/s 176.50 ms
France FR 3.98 Mbit/s 17.97 Mbit/s 248.74 ms
----------------------------------------------------------------------
ReCloud香港 | HE+HKIX (流媒体解锁保证)FIO测试硬盘读写
fio Disk Speed Tests (Mixed R/W 50/50):
---------------------------------
Block Size | 4k (IOPS) | 64k (IOPS)
------ | --- ---- | ---- ----
Read | 41.29 MB/s (10.3k) | 448.17 MB/s (7.0k)
Write | 41.38 MB/s (10.3k) | 450.53 MB/s (7.0k)
Total | 82.67 MB/s (20.6k) | 898.71 MB/s (14.0k)
| |
Block Size | 512k (IOPS) | 1m (IOPS)
------ | --- ---- | ---- ----
Read | 398.29 MB/s (777) | 368.61 MB/s (359)
Write | 419.46 MB/s (819) | 393.15 MB/s (383)
Total | 817.76 MB/s (1.5k) | 761.76 MB/s (742)
ReCloud香港 | HE+HKIX (流媒体解锁保证)iperf3针对欧美的节点的数据测试:
iperf3 Network Speed Tests (IPv4):
---------------------------------
Provider | Location (Link) | Send Speed | Recv Speed
| | |
Clouvider | London, UK (10G) | 4.36 Mbits/sec | 18.5 Mbits/sec
Online.net | Paris, FR (10G) | 4.86 Mbits/sec | 18.4 Mbits/sec
Hybula | The Netherlands (40G) | busy | 18.9 Mbits/sec
Uztelecom | Tashkent, UZ (10G) | busy | 16.4 Mbits/sec
Clouvider | NYC, NY, US (10G) | 4.61 Mbits/sec | 18.5 Mbits/sec
Clouvider | Dallas, TX, US (10G) | 4.04 Mbits/sec | 15.8 Mbits/sec
Clouvider | Los Angeles, CA, US (10G) | 4.93 Mbits/sec | 18.4 Mbits/sec
ReCloud香港 | HE+HKIX (流媒体解锁保证)丢包率测试:

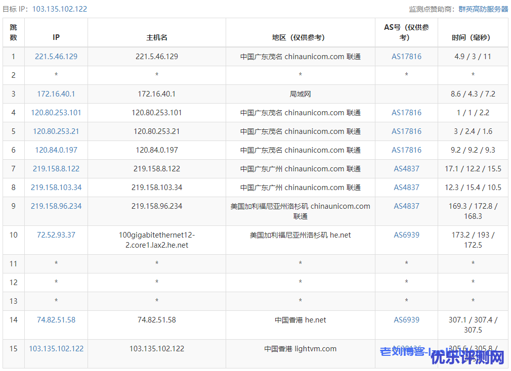
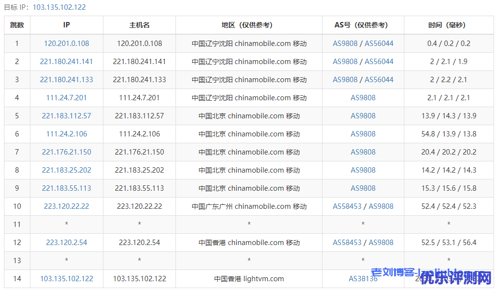
ReCloud香港 | HE+HKIX (流媒体解锁保证)路由去程跟踪测试
电信去程

联通去程

移动去程

ReCloud香港 | HE+HKIX (流媒体解锁保证)路由回程跟踪测试:
Traceroute to China, Guangzhou CT (TCP Mode, Max 30 Hop)
============================================================
traceroute to 113.108.209.1 (113.108.209.1), 30 hops max, 32 byte packets
1 103.135.100.1 2.32 ms AS137443 China, Hong Kong, bgp.sk
2 *
3 10.3.104.1 1.85 ms * LAN Address
4 118.184.22.73 2.12 ms * China, Hong Kong, 51idc.com
5 69.194.166.45 1.81 ms AS23764 China, Hong Kong, ChinaTelecom
6 203.22.178.70 1.94 ms * China, Hong Kong, ChinaTelecom
7 *
8 *
9 *
10 *
11 113.108.209.1 8.52 ms AS4134 China, Guangdong, Guangzhou, ChinaTelecom
Traceroute to China, Shanghai CT (TCP Mode, Max 30 Hop)
============================================================
traceroute to 180.153.28.5 (180.153.28.5), 30 hops max, 32 byte packets
1 103.135.100.1 2.19 ms AS137443 China, Hong Kong, bgp.sk
2 *
3 10.3.104.1 1.76 ms * LAN Address
4 45.192.191.21 1.42 ms * China, Hong Kong, cloudinnovation.org
5 59.43.181.189 1.79 ms * China, Hong Kong, ChinaTelecom
6 59.43.249.26 25.66 ms * China, Shanghai, ChinaTelecom
7 *
8 *
9 *
10 61.152.24.210 27.29 ms AS4812 China, Shanghai, ChinaTelecom
11 124.74.232.242 31.38 ms AS4811 China, Shanghai, ChinaTelecom
12 101.227.255.46 32.21 ms AS4812 China, Shanghai, ChinaTelecom
13 *
14 *
15 *
16 *
17 *
18 *
19 *
20 *
21 *
22 *
23 *
24 *
25 *
26 *
27 *
28 *
29 *
30 *
Traceroute to China, Beijing CT (TCP Mode, Max 30 Hop)
============================================================
traceroute to 180.149.128.9 (180.149.128.9), 30 hops max, 32 byte packets
1 103.135.100.1 2.43 ms AS137443 China, Hong Kong, bgp.sk
2 *
3 10.3.104.1 2.00 ms * LAN Address
4 45.192.191.21 1.31 ms * China, Hong Kong, cloudinnovation.org
5 59.43.186.125 1.91 ms * China, Hong Kong, ChinaTelecom
6 59.43.248.1 35.37 ms * China, Beijing, ChinaTelecom
7 59.43.248.1 42.01 ms * China, Beijing, ChinaTelecom
8 59.43.132.9 36.83 ms * China, Beijing, ChinaTelecom
9 59.43.132.9 37.92 ms * China, Beijing, ChinaTelecom
10 36.110.244.46 40.05 ms AS23724 China, Beijing, ChinaTelecom
11 *
12 *
13 *
14 *
15 *
16 *
17 *
18 *
19 *
20 *
21 *
22 *
23 *
24 *
25 *
26 *
27 *
28 *
29 *
30 *
Traceroute to China, Guangzhou CU (TCP Mode, Max 30 Hop)
============================================================
traceroute to 210.21.4.130 (210.21.4.130), 30 hops max, 32 byte packets
1 103.135.100.1 3.34 ms AS137443 China, Hong Kong, bgp.sk
2 *
3 10.3.104.1 1.84 ms * LAN Address
4 118.184.22.89 1.84 ms * China, Hong Kong, 51idc.com
5 43.252.86.185 3.77 ms AS10099 China, Hong Kong, ChinaUnicom
6 202.77.23.25 7.67 ms AS10099 China, Hong Kong, ChinaUnicom
7 219.158.10.53 5.86 ms AS4837 China, Guangdong, Guangzhou, ChinaUnicom
8 219.158.97.30 11.52 ms AS4837 China, Guangdong, Guangzhou, ChinaUnicom
9 219.158.24.125 12.70 ms AS4837 China, Guangdong, Guangzhou, ChinaUnicom
10 120.83.0.166 12.98 ms AS17816 China, Guangdong, Guangzhou, ChinaUnicom
11 120.80.122.54 14.17 ms AS17622 China, Guangdong, Guangzhou, ChinaUnicom
12 120.80.169.118 11.03 ms AS17622 China, Guangdong, Guangzhou, ChinaUnicom
13 *
14 *
15 *
16 *
17 *
18 *
19 *
20 *
21 *
22 *
23 *
24 *
25 *
26 *
27 *
28 *
29 *
30 *
Traceroute to China, Shanghai CU (TCP Mode, Max 30 Hop)
============================================================
traceroute to 58.247.8.158 (58.247.8.158), 30 hops max, 32 byte packets
1 103.135.100.1 2.22 ms AS137443 China, Hong Kong, bgp.sk
2 *
3 10.3.104.1 1.87 ms * LAN Address
4 118.184.22.89 1.74 ms * China, Hong Kong, 51idc.com
5 162.245.124.169 5.32 ms AS10099 China, Hong Kong, ChinaUnicom
6 43.252.86.129 3.88 ms AS10099 China, Hong Kong, ChinaUnicom
7 219.158.20.97 12.86 ms AS4837 China, Hong Kong, ChinaUnicom
8 219.158.115.125 41.20 ms AS4837 China, Shanghai, ChinaUnicom
9 219.158.6.157 31.49 ms AS4837 China, Shanghai, ChinaUnicom
10 *
11 *
12 58.247.221.178 32.63 ms AS17621 China, Shanghai, ChinaUnicom
13 139.226.225.22 34.56 ms AS17621 China, Shanghai, ChinaUnicom
14 58.247.8.153 50.32 ms AS17621 China, Shanghai, ChinaUnicom
15 *
16 *
17 *
18 *
19 *
20 *
21 *
22 *
23 *
24 *
25 *
26 *
27 *
28 *
29 *
30 *
Traceroute to China, Beijing CU (TCP Mode, Max 30 Hop)
============================================================
traceroute to 123.125.99.1 (123.125.99.1), 30 hops max, 32 byte packets
1 103.135.100.1 2.29 ms AS137443 China, Hong Kong, bgp.sk
2 10.85.42.1 3.78 ms * LAN Address
3 10.3.104.1 1.90 ms * LAN Address
4 118.184.22.89 1.70 ms * China, Hong Kong, 51idc.com
5 43.252.86.185 3.14 ms AS10099 China, Hong Kong, ChinaUnicom
6 202.77.23.25 2.03 ms AS10099 China, Hong Kong, ChinaUnicom
7 219.158.20.97 7.19 ms AS4837 China, Hong Kong, ChinaUnicom
8 219.158.115.157 42.24 ms AS4837 China, Beijing, ChinaUnicom
9 219.158.3.137 46.06 ms AS4837 China, Beijing, ChinaUnicom
10 219.158.5.157 42.65 ms AS4837 China, Beijing, ChinaUnicom
11 202.96.12.14 39.86 ms AS4808 China, Beijing, ChinaUnicom
12 61.148.156.246 43.57 ms AS4808 China, Beijing, ChinaUnicom
13 124.65.194.42 42.86 ms AS4808 China, Beijing, ChinaUnicom
14 61.135.113.158 42.35 ms AS4808 China, Beijing, ChinaUnicom
15 *
16 123.125.99.1 49.54 ms AS4808 China, Beijing, ChinaUnicom
Traceroute to China, Guangzhou CM (TCP Mode, Max 30 Hop)
============================================================
traceroute to 120.196.212.25 (120.196.212.25), 30 hops max, 32 byte packets
1 103.135.100.1 2.21 ms AS137443 China, Hong Kong, bgp.sk
2 *
3 10.3.104.1 1.94 ms * LAN Address
4 45.192.191.13 2.25 ms * China, Hong Kong, cloudinnovation.org
5 223.120.2.117 2.34 ms AS58453 China, Hong Kong, ChinaMobile
6 *
7 *
8 221.183.25.122 7.46 ms AS9808 China, Guangdong, Guangzhou, ChinaMobile
9 221.176.24.205 8.60 ms AS9808 China, Guangdong, Guangzhou, ChinaMobile
10 111.24.14.141 8.92 ms AS9808 China, Guangdong, Guangzhou, ChinaMobile
11 111.24.5.30 9.14 ms AS9808 China, Guangdong, Guangzhou, ChinaMobile
12 211.136.203.18 11.11 ms AS56040 China, Guangdong, Guangzhou, ChinaMobile
13 211.136.196.246 11.76 ms AS56040 China, Guangdong, Guangzhou, ChinaMobile
14 211.136.196.218 13.03 ms AS56040 China, Guangdong, Guangzhou, ChinaMobile
15 211.139.180.106 16.12 ms AS56040 China, Guangdong, Guangzhou, ChinaMobile
16 *
17 *
18 *
19 120.196.212.25 12.49 ms AS56040 China, Guangdong, Guangzhou, ChinaMobile
Traceroute to China, Shanghai CM (TCP Mode, Max 30 Hop)
============================================================
traceroute to 221.183.55.22 (221.183.55.22), 30 hops max, 32 byte packets
1 103.135.100.1 2.54 ms AS137443 China, Hong Kong, bgp.sk
2 *
3 10.3.104.1 1.95 ms * LAN Address
4 45.192.191.13 2.10 ms * China, Hong Kong, cloudinnovation.org
5 *
6 223.120.2.41 3.01 ms AS58453 China, Hong Kong, ChinaMobile
7 *
8 *
9 221.183.55.22 40.97 ms AS9808 China, Shanghai, ChinaMobile
Traceroute to China, Beijing CM (TCP Mode, Max 30 Hop)
============================================================
traceroute to 211.136.25.153 (211.136.25.153), 30 hops max, 32 byte packets
1 103.135.100.1 2.93 ms AS137443 China, Hong Kong, bgp.sk
2 *
3 10.3.104.1 3.25 ms * LAN Address
4 45.192.191.13 1.94 ms * China, Hong Kong, cloudinnovation.org
5 *
6 *
7 *
8 *
9 221.183.46.250 50.87 ms AS9808 China, Beijing, ChinaMobile
10 *
11 111.24.17.105 62.99 ms AS9808 China, Beijing, ChinaMobile
12 *
13 211.136.66.121 48.88 ms AS56048 China, Beijing, ChinaMobile
14 *
15 211.136.67.166 52.88 ms AS56048 China, Beijing, ChinaMobile
16 *
17 *
18 211.136.25.153 49.90 ms AS56048 China, Beijing, ChinaMobile
Traceroute to China, Beijing Dr.Peng Network IDC Network (TCP Mode, Max 30 Hop)
============================================================
traceroute to 211.167.230.100 (211.167.230.100), 30 hops max, 32 byte packets
1 103.135.100.1 2.20 ms AS137443 China, Hong Kong, bgp.sk
2 *
3 10.3.104.1 1.77 ms * LAN Address
4 118.184.22.73 2.06 ms * China, Hong Kong, 51idc.com
5 59.43.248.145 1.46 ms * China, Hong Kong, ChinaTelecom
6 203.22.178.26 1.98 ms * China, Hong Kong, ChinaTelecom
7 *
8 *
9 202.97.42.13 37.95 ms AS4134 China, Beijing, ChinaTelecom
10 219.158.3.65 36.95 ms AS4837 China, Beijing, ChinaUnicom
11 *
12 202.96.13.246 41.42 ms AS4808 China, Beijing, ChinaUnicom
13 61.149.212.242 42.88 ms AS4808 China, Beijing, ChinaUnicom
14 125.33.186.86 36.81 ms AS4808 China, Beijing, ChinaUnicom
15 218.241.255.86 47.70 ms AS4808 China, Beijing, DRPENG
16 202.99.1.234 38.14 ms AS4808 China, Beijing, ChinaUnicom
17 218.241.255.138 42.48 ms AS4808 China, Beijing, DRPENG
18 211.167.230.100 41.88 ms AS17964 China, Beijing, DRPENG
----------------------------------------------------------------------
ReCloud香港 | HE+HKIX (流媒体解锁保证)Geekbench 5跑分测试:
Test | Value
|
Single Core | 712
Multi Core | 709
Full Test | https://browser.geekbench.com/v5/cpu/16039035
最后这里附上ReCloud香港 | HE+HKIX套餐:
禁止敏感(VPN SSR等)字符域名解析,系统24小时扫描。如发现解析则清退且不退款。
| 香港落地款 BGP – 2c2g 1G 无限流量 | 香港落地款 BGP -2c4g 2G 无限流量 |
| 2vCPU | 2vCPU |
| 2048MB DDR3 RAM | 4096MB DDR3 RAM |
| 15GB SSD | 15GB SSD |
| 20T流量(工单重置或联系客服) | 40T流量(工单重置或联系客服) |
| 1G 共享带宽 无大陆速度保证 | 2G 共享带宽 |
| 1 IPv4 (原生ip) | 1 IPv4 (原生ip) |
| 提供内网解锁 | 提供内网解锁 |
| TG群连接:t.me/Recloud888 | TG群连接:t.me/Recloud888 |
| ¥239.00CNY每月 (优惠码:5CNC4NQK4M,使用后199CNY每月) |
¥279.00CNY每月 (优惠码:5CNC4NQK4M,使用后239CNY每月) |
| ¥30.00 初装费 | ¥10.00 初装费 |
| 立即订购 | 立即订购 |
注意,上面表格中优惠码如果失效了也没关系,去TG群里私聊客服,就说老刘博客推荐的,继续享受优惠!

康维主机测评-网站SEO优化








