本文目录
显示
1.
宝塔面板用户福利领取入口
2.
免费Nginx防火墙安装部署
2.1.
宝塔面板免费nginx防火墙安装
2.2.
宝塔面板免费nginx防火墙首页
2.3.
宝塔面板免费nginx防火墙全局配置
2.4.
宝塔面板免费nginx防火墙站点配置
宝塔面板免费Nginx防火墙是宝塔服务器面板为用户提供的免费使用的网站防火墙,仅限 Nginx web服务器使用。暴露在互联网中的各类网站,如果不安装一个防火墙就是在裸奔:面对各种入侵、CC/DDoS攻击、渗透、恶意上传等等,服务器容易被恶意分子打得千疮百孔。所以老刘博客会在本文中分享关于宝塔面板免费nginx防火墙安装使用的图文教程。
宝塔面板用户福利领取入口
宝塔用户,无论新老用户均可获得宝塔官方赠送的3188元优惠券礼包,一键全能部署及管理。同时如果是新注册用户,可以享受0.99元体验1个月专业版的福利。宝塔面板用户福利领取入口>>

免费Nginx防火墙安装部署
这款网站防火墙是第三方开发的,要求必须点我注册宝塔账号,并且在你的宝塔面板上登陆账号后才能安装使用。此防火墙能有效防止sql注入/xss/一句话木马等常见渗透攻击。
在你宝塔面板 >软件商店>第三方应用>Nginx免费防火墙,点击“立即购买”(不用花钱),再点击“安装”,“确定安装”。注意:Nginx免费防火墙,和现有的Nginx的防火墙只能安装一个,支持系统:Centos + 乌班图。
宝塔面板免费nginx防火墙安装

宝塔面板免费nginx防火墙首页
下图是nginx免费防火墙首页,默认开启状态,无需改动。
下面会显示各种攻击有多少次,供检查使用。

宝塔面板免费nginx防火墙全局配置
下图是Nginx免费防火墙的全局配置页面,一般情况下无需设置。如果你发现某些IP频繁攻击,可以考虑手动加入到 IP黑名单中,不过这个IP要先查清楚来路是哪里,如果错误封杀了IP地址,容易导致部分地区无法访问你的网站。

宝塔面板Nginx免费防火墙全局配置相关说明:
继承:全局设置将在站点配置中自动继承为默认值;
优先级:UA白名单> UA黑名单> URL关键词拦截> IP白名单 > IP黑名单 > URL白名单 > URL黑名单 > CC防御 > 禁止国外IP访问 > User-Agent > URI过滤 > URL参数 > Cookie > POST。
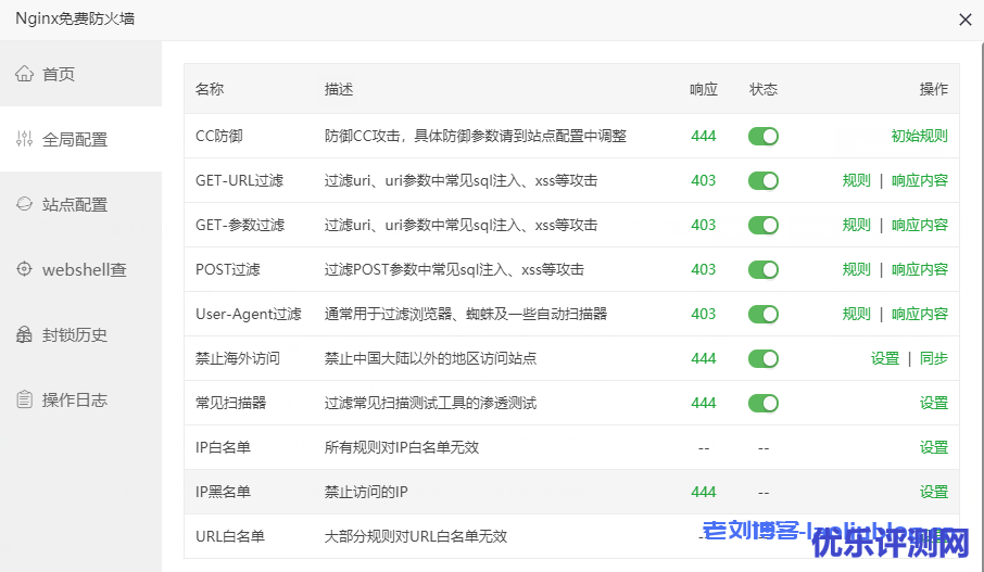
宝塔面板免费nginx防火墙站点配置
下图是Nginx免费防火墙的站点配置页面,此处大部分配置,仅对当前站点有效。有多个站点可以针对每个网站的实际情况具体设置不同规则。
这里注意两点,一是是否禁止海外访问,这个由你的网站访客在哪里决定;二是如果你使用了CDN,就要启动下图中的项目,才能正确获取访客真实IP。使用cdn,不知道真实IP,这个问题也是困扰很多朋友的,之前老刘博客也有介绍过代码查询实现方法《网站使用CDN加速后,怎么查看用户访问的真实IP?》,这里使用Nginx免费防火墙就轻松解决了。

其他页面看看就行,没什么需要设置的。
在老刘前文《免费试用宝塔面板Linux企业版并开启nginx网站防火墙》中有介绍专业版或企业版防火墙使用方法。与专业版或企业版的付费版网站防火墙相比,免费版Nginx防火墙少了很多功能,而且作者说近期不会再更新了,不过现有的功能也够简单防御使用了。
如果你是对服务器防御要求较高或者用于商业行为那么建议还是选择宝塔面板付费防火墙,更好用,能抵御相当多的网络攻击类型,保持服务器平稳运行,感兴趣可以点我直达宝塔服务器面板官方网站领取价值3188元的代金券。

康维主机测评-网站SEO优化








