spinservers怎么样?Spin servers是Majestic Hosting Solutions,LLC旗下站点,主营国外服务器租用和Hybrid Dedicated、Instant Dedicated等,数据中心在美国达拉斯和圣何塞机房。spinservers是第一个也是唯一一个成为综合硬件经销商的主机提供商,当初我们是从硬件开始做起,在即将退租的服务器设备上寻找价值被低估的交易。现在spinservers是世界上最大的二手服务器经销商之一。
最近SpinServers推出了美国圣何塞即时专用服务器,具体参见《spinservers美国圣何塞高配服务器Dual Intel Xeon E5-2650L V3 24核48线程64G内存1.6TB SSD硬盘以及10Gbps端口带宽10TB月流量仅需$109/月》,老刘博客也选了Dual Intel Xeon E5-2650L v3(GTT线路24核64G内存 1.6TB SSD硬盘 10Gbps带宽)进行了性能测评,供朋友们参考。
SpinServers官网:https://www.spinservers.com/
SpinServers美国圣何塞即时专用服务器购买入口:https://www.spinservers.com/dedicated_servers.php
美国圣何塞即时专用服务器Dual Intel Xeon E5-2650L v3购买页面:

此次测评的Dual Intel Xeon E5-2650L v3官方配置说明:

服务器配置信息测试

服务器磁盘读写性能测试

服务器到全球节点测速(含ping值)

服务器到国内节点测速

丢包率测试

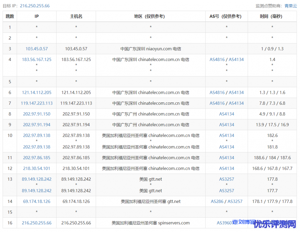
去程路由追踪测试
电信去程路由

移动去程路由

联通去程路由

回程路由追踪测试
---------------------------------------------------------------------- 广州电信 traceroute to 14.215.116.1 (14.215.116.1), 30 hops max, 32 byte packets 1 216.250.254.3 0.24 ms AS396073 United States, California, San Jose, spinservers.com 2 169.254.0.107 0.26 ms * The Local Link 3 169.254.65.1 0.58 ms * The Local Link 4 ae25-302.cr0-pao1.ip4.gtt.net (69.174.18.125) 2.52 ms AS286,AS3257 United States, California, Palo Alto, gtt.net 5 ae6.cr6-sjc1.ip4.gtt.net (89.149.180.78) 1.83 ms AS3257 United States, California, San Jose, gtt.net 6 218.30.54.100 5.80 ms AS4134 United States, California, Los Angeles, ChinaTelecom 7 202.97.86.186 2.95 ms AS4134 China, ChinaTelecom 8 202.97.89.137 173.50 ms AS4134 China, ChinaTelecom 9 202.97.12.30 174.04 ms AS4134 China, ChinaTelecom 10 202.97.94.145 183.35 ms AS4134 China, ChinaTelecom 11 113.96.4.146 184.82 ms AS58466 China, Guangdong, Guangzhou, ChinaTelecom 12 183.2.167.249 177.11 ms AS58466 China, Guangdong, Guangzhou, ChinaTelecom 13 183.56.129.2 193.98 ms AS58466 China, Guangdong, Guangzhou, ChinaTelecom 14 14.215.116.1 177.22 ms AS58466 China, Guangdong, Guangzhou, ChinaTelecom ---------------------------------------------------------------------- 上海电信 traceroute to 101.95.120.109 (101.95.120.109), 30 hops max, 32 byte packets 1 216.250.254.3 0.43 ms AS396073 United States, California, San Jose, spinservers.com 2 169.254.0.107 0.50 ms * The Local Link 3 169.254.65.1 0.41 ms * The Local Link 4 ae25-302.cr0-pao1.ip4.gtt.net (69.174.18.125) 0.99 ms AS286,AS3257 United States, California, Palo Alto, gtt.net 5 ae6.cr6-sjc1.ip4.gtt.net (89.149.180.78) 1.97 ms AS3257 United States, California, San Jose, gtt.net 6 218.30.54.100 4.63 ms AS4134 United States, California, Los Angeles, ChinaTelecom 7 202.97.86.178 6.60 ms AS4134 China, ChinaTelecom 8 202.97.51.205 140.64 ms AS4134 China, ChinaTelecom 9 202.97.12.193 141.77 ms AS4134 China, ChinaTelecom 10 202.97.50.165 151.43 ms AS4134 China, ChinaTelecom 11 61.152.24.29 146.60 ms AS4812 China, Shanghai, ChinaTelecom 12 101.95.120.109 151.68 ms AS4812 China, Shanghai, ChinaTelecom ---------------------------------------------------------------------- 厦门电信 traceroute to 117.28.254.129 (117.28.254.129), 30 hops max, 32 byte packets 1 216.250.254.3 0.26 ms AS396073 United States, California, San Jose, spinservers.com 2 169.254.0.107 0.52 ms * The Local Link 3 169.254.65.1 0.46 ms * The Local Link 4 ae25-302.cr0-pao1.ip4.gtt.net (69.174.18.125) 6.59 ms AS286,AS3257 United States, California, Palo Alto, gtt.net 5 as1299.pao10.ip4.gtt.net (173.205.54.170) 1.11 ms AS286,AS3257 United States, California, Palo Alto, gtt.net 6 palo-b24-link.ip.twelve99.net (62.115.122.168) 1.69 ms AS1299 United States, California, Palo Alto, telia.com 7 chinatelecom-ic307264-sjo-b21.ip.twelve99-cust.net (80.239.132.158) 3.80 ms AS1299 United States, California, San Jose, telia.com 8 59.43.181.153 182.66 ms * China, ChinaTelecom 9 59.43.187.73 197.11 ms * China, ChinaTelecom 10 59.43.138.57 184.18 ms * China, ChinaTelecom 11 59.43.98.26 193.59 ms * China, ChinaTelecom 12 59.43.139.90 186.66 ms * China, ChinaTelecom 13 27.159.81.246 156.52 ms AS133775 China, Fujian, Xiamen, ChinaTelecom 14 27.159.81.202 162.93 ms AS133775 China, Fujian, Xiamen, ChinaTelecom 15 117.25.141.110 188.48 ms AS133775 China, Fujian, Xiamen, ChinaTelecom 16 117.28.254.129 188.37 ms AS133775 China, Fujian, Xiamen, ChinaTelecom ---------------------------------------------------------------------- 重庆联通 traceroute to 113.207.25.138 (113.207.25.138), 30 hops max, 32 byte packets 1 216.250.254.3 0.35 ms AS396073 United States, California, San Jose, spinservers.com 2 169.254.0.107 0.50 ms * The Local Link 3 169.254.65.1 0.49 ms * The Local Link 4 ae25-302.cr0-pao1.ip4.gtt.net (69.174.18.125) 1.03 ms AS286,AS3257 United States, California, Palo Alto, gtt.net 5 ae3.cr5-sjc1.ip4.gtt.net (89.149.180.38) 1.68 ms AS3257 United States, California, San Jose, gtt.net 6 as4837.sjc10.ip4.gtt.net (173.205.62.86) 4.96 ms AS286,AS3257 United States, California, San Jose, gtt.net 7 219.158.102.109 159.69 ms AS4837 China, ChinaUnicom 8 219.158.19.74 158.30 ms AS4837 China, ChinaUnicom 9 219.158.19.81 165.16 ms AS4837 China, ChinaUnicom 10 219.158.106.254 176.49 ms AS4837 China, ChinaUnicom 11 113.207.25.138 174.77 ms AS4837 China, Chongqing, ChinaUnicom ---------------------------------------------------------------------- 成都联通 traceroute to 119.6.6.6 (119.6.6.6), 30 hops max, 32 byte packets 1 216.250.254.3 0.55 ms AS396073 United States, California, San Jose, spinservers.com 2 169.254.0.107 0.53 ms * The Local Link 3 169.254.65.1 0.30 ms * The Local Link 4 ae25-302.cr0-pao1.ip4.gtt.net (69.174.18.125) 1.04 ms AS286,AS3257 United States, California, Palo Alto, gtt.net 5 ae2.cr5-sjc1.ip4.gtt.net (89.149.180.26) 2.26 ms AS3257 United States, California, San Jose, gtt.net 6 as4837.sjc10.ip4.gtt.net (173.205.62.82) 3.92 ms AS286,AS3257 United States, California, San Jose, gtt.net 7 219.158.102.113 160.55 ms AS4837 China, ChinaUnicom 8 219.158.19.86 155.97 ms AS4837 China, ChinaUnicom 9 219.158.19.69 169.77 ms AS4837 China, ChinaUnicom 10 219.158.107.90 184.35 ms AS4837 China, ChinaUnicom 11 119.6.197.194 178.10 ms AS4837 China, Sichuan, Chengdu, ChinaUnicom 12 119.7.220.218 183.42 ms AS4837 China, Sichuan, Chengdu, ChinaUnicom 13 119.6.6.6 181.48 ms AS4837 China, Sichuan, Chengdu, ChinaUnicom ---------------------------------------------------------------------- 上海移动 traceroute to 120.204.197.126 (120.204.197.126), 30 hops max, 32 byte packets 1 216.250.254.3 0.31 ms AS396073 United States, California, San Jose, spinservers.com 2 169.254.0.107 0.50 ms * The Local Link 3 169.254.65.1 0.42 ms * The Local Link 4 ae25-302.cr0-pao1.ip4.gtt.net (69.174.18.125) 1.06 ms AS286,AS3257 United States, California, Palo Alto, gtt.net 5 as1299.pao10.ip4.gtt.net (173.205.54.170) 2.84 ms AS286,AS3257 United States, California, Palo Alto, gtt.net 6 palo-b24-link.ip.twelve99.net (62.115.122.168) 1.50 ms AS1299 United States, California, Palo Alto, telia.com 7 chinamobile-ic342124-sea-b2.ip.twelve99-cust.net (62.115.171.221) 28.86 ms AS1299 United States, Washington, Seattle, telia.com 8 223.120.6.230 30.10 ms AS58453 China, ChinaMobile 9 223.120.12.26 201.06 ms AS58453 China, ChinaMobile 10 221.183.55.26 202.09 ms AS9808 China, ChinaMobile 11 221.176.22.205 198.91 ms AS9808 China, ChinaMobile 12 221.183.23.25 201.88 ms AS9808 China, ChinaMobile 13 221.183.62.210 199.79 ms AS9808 China, ChinaMobile 14 117.143.13.202 201.42 ms AS24400 China, Shanghai, ChinaMobile 15 120.204.194.14 241.32 ms AS24400 China, Shanghai, ChinaMobile 16 120.204.197.126 251.15 ms AS24400 China, Shanghai, ChinaMobile ---------------------------------------------------------------------- 成都移动 traceroute to 183.221.253.100 (183.221.253.100), 30 hops max, 32 byte packets 1 216.250.254.3 0.44 ms AS396073 United States, California, San Jose, spinservers.com 2 169.254.0.107 0.49 ms * The Local Link 3 169.254.65.1 0.54 ms * The Local Link 4 ae25-302.cr0-pao1.ip4.gtt.net (69.174.18.125) 5.54 ms AS286,AS3257 United States, California, Palo Alto, gtt.net 5 ae23.cr3-lax1.ip4.gtt.net (89.149.187.114) 16.31 ms AS3257 United States, California, Los Angeles, gtt.net 6 ip4.gtt.net (173.205.45.154) 10.44 ms AS286,AS3257 United States, gtt.net 7 223.120.6.217 10.19 ms AS58453 China, ChinaMobile 8 223.120.12.42 173.61 ms AS58453 China, ChinaMobile 9 * 10 221.183.25.122 169.16 ms AS9808 China, ChinaMobile 11 221.176.22.105 168.92 ms AS9808 China, ChinaMobile 12 221.176.20.126 208.33 ms AS9808 China, ChinaMobile 13 111.24.8.58 216.01 ms AS9808 China, ChinaMobile 14 183.221.32.30 218.66 ms AS9808 China, Sichuan, Chengdu, ChinaMobile 15 223.87.85.54 201.37 ms AS9808 China, Sichuan, Chengdu, ChinaMobile 16 183.221.253.100 200.01 ms AS9808 China, Sichuan, Chengdu, ChinaMobile ---------------------------------------------------------------------- 成都教育网 traceroute to 202.112.14.151 (202.112.14.151), 30 hops max, 32 byte packets 1 216.250.254.3 0.28 ms AS396073 United States, California, San Jose, spinservers.com 2 169.254.0.107 0.32 ms * The Local Link 3 169.254.65.1 0.40 ms * The Local Link 4 ae25-302.cr0-pao1.ip4.gtt.net (69.174.18.125) 1.13 ms AS286,AS3257 United States, California, Palo Alto, gtt.net 5 ae0.cr3-sjc1.ip4.gtt.net (141.136.105.130) 2.69 ms AS3257 United States, California, San Jose, gtt.net 6 * 7 be3142.ccr21.sjc01.atlas.cogentco.com (154.54.1.193) 2.45 ms AS174 United States, California, San Jose, cogentco.com 8 be3176.ccr41.lax01.atlas.cogentco.com (154.54.31.189) 12.46 ms AS174 United States, California, Los Angeles, cogentco.com 9 be3271.ccr41.lax04.atlas.cogentco.com (154.54.42.102) 12.47 ms AS174 United States, California, Los Angeles, cogentco.com 10 38.88.196.186 33.78 ms AS174 United States, California, Los Angeles, cogentco.com 11 101.4.117.169 227.92 ms AS4538 China, CHINAEDU 12 101.4.117.101 226.44 ms AS4538 China, CHINAEDU 13 101.4.114.170 199.14 ms AS4538 China, CHINAEDU 14 101.4.112.14 218.09 ms AS4538 China, CHINAEDU 15 * 16 101.4.116.158 251.03 ms AS4538 China, CHINAEDU 17 202.115.255.2 647.94 ms AS4538 China, Sichuan, Chengdu, CHINAEDU 18 202.115.254.238 217.15 ms AS4538 China, Sichuan, Chengdu, CHINAEDU 19 202.115.0.1 238.39 ms AS4538,AS24355 China, Sichuan, Chengdu, CHINAEDU 20 * 21 202.112.14.151 254.23 ms AS24355 China, Sichuan, Chengdu, CHINAEDU ----------------------------------------------------------------------
Unixbench综合性能测试
UnixBench跑分可以看出云服务器综合性能。得分小于400的性能比较差、500-1000正常、大于1000优秀、大于2000极好。当然跑分不是认定机器好坏的唯一标准,需要综合考虑。这里跑分743.1,属于正常水平。


康维主机测评-网站SEO优化








