快杰S型云服务器怎么样?前文《快杰S型云服务器好用吗?UCloud云主机最低配置1核1G内存1M带宽40G系统盘性能测评》,我们分享了UCloud北京快杰S型云服务器性能评测,那么同种配置机型的香港可用区性能如何呢?同样是最低配置1核1G内存1M带宽40G系统盘,老刘博客这里同样测评了下,供朋友们参考。
正在进行的快杰S型云服务器促销活动(UCloud全球大促)活动入口:https://www.ucloud.cn/site/active/kuaijie.html#beijing
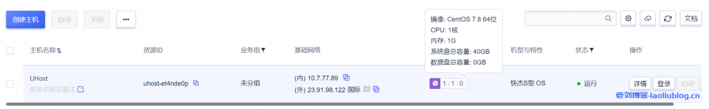
UCloud优刻得控制台主机配置信息:

接下来,老刘博客对该机器进行了性能测评,以下是测评结果信息。
主机配置:

磁盘IO性能:

带宽信息:

Ping测试:

丢包率测试:

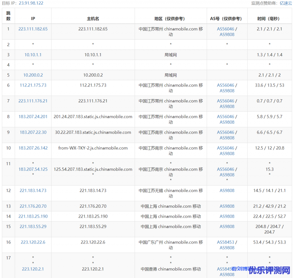
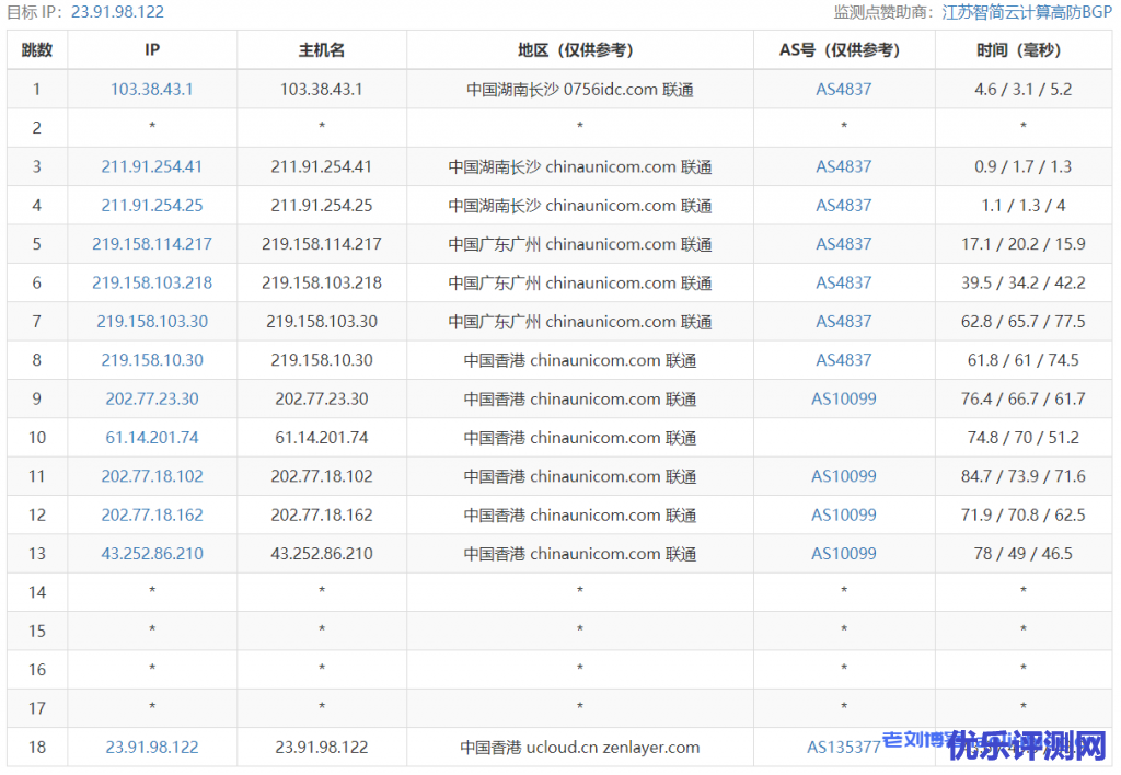
路由去程测试:
电信去程

移动去程


联通去程

路由回程测试:
---------------------------------------------------------------------- 广州电信 traceroute to 14.215.116.1 (14.215.116.1), 30 hops max, 32 byte packets 1 * 2 172.31.165.146 1.04 ms * LAN Address 3 172.31.164.217 1.15 ms * LAN Address 4 172.31.164.193 37.99 ms * LAN Address 5 210.48.139.213 3.33 ms AS4809 China, Hong Kong, ChinaTelecom 6 59.43.249.1 47.44 ms * China, ChinaTelecom 7 59.43.187.181 8.04 ms * China, ChinaTelecom 8 * 9 59.43.130.121 10.66 ms * China, ChinaTelecom 10 59.43.80.118 14.16 ms * China, ChinaTelecom 11 113.96.0.113 14.37 ms AS58466 China, Guangdong, Guangzhou, ChinaTelecom 12 183.2.167.249 10.70 ms AS58466 China, Guangdong, Guangzhou, ChinaTelecom 13 183.56.129.10 11.22 ms AS58466 China, Guangdong, Guangzhou, ChinaTelecom 14 14.215.116.1 13.60 ms AS58466 China, Guangdong, Guangzhou, ChinaTelecom ---------------------------------------------------------------------- 上海电信 traceroute to 101.95.120.109 (101.95.120.109), 30 hops max, 32 byte packets 1 * 2 172.31.161.147 0.63 ms * LAN Address 3 172.31.160.217 0.99 ms * LAN Address 4 172.31.160.193 1.26 ms * LAN Address 5 210.48.139.209 3.69 ms AS4809 China, Hong Kong, ChinaTelecom 6 59.43.248.17 4.36 ms * China, ChinaTelecom 7 59.43.248.242 43.93 ms * China, ChinaTelecom 8 59.43.246.213 31.10 ms * China, ChinaTelecom 9 59.43.130.213 35.96 ms * China, ChinaTelecom 10 59.43.80.82 28.72 ms * China, ChinaTelecom 11 101.95.120.109 32.29 ms AS4812 China, Shanghai, ChinaTelecom ---------------------------------------------------------------------- 厦门电信 traceroute to 117.28.254.129 (117.28.254.129), 30 hops max, 32 byte packets 1 * 2 172.31.161.147 0.79 ms * LAN Address 3 172.31.160.217 1.27 ms * LAN Address 4 172.31.160.193 1.32 ms * LAN Address 5 172.31.163.66 1.02 ms * LAN Address 6 43.252.86.209 1.67 ms AS10099 China, Hong Kong, ChinaUnicom 7 202.77.18.161 3.84 ms AS10099 China, Hong Kong, ChinaUnicom 8 202.77.18.98 3.81 ms AS10099 China, Hong Kong, ChinaUnicom 9 61.14.201.73 2.62 ms * China, Hong Kong, ChinaUnicom 10 202.77.23.29 3.27 ms AS10099 China, Hong Kong, ChinaUnicom 11 219.158.10.29 6.89 ms AS4837 China, ChinaUnicom 12 219.158.24.137 13.21 ms AS4837 China, ChinaUnicom 13 219.158.8.113 36.84 ms AS4837 China, ChinaUnicom 14 219.158.22.182 38.30 ms AS4837 China, ChinaUnicom 15 * 16 * 17 202.97.53.181 56.91 ms AS4134 China, ChinaTelecom 18 27.159.81.90 57.44 ms AS133775 China, Fujian, Xiamen, ChinaTelecom 19 * 20 117.25.141.106 68.48 ms AS133775 China, Fujian, Xiamen, ChinaTelecom 21 117.28.254.129 47.91 ms AS133775 China, Fujian, Xiamen, ChinaTelecom ---------------------------------------------------------------------- 重庆联通 traceroute to 113.207.25.138 (113.207.25.138), 30 hops max, 32 byte packets 1 * 2 172.31.165.146 0.68 ms * LAN Address 3 * 4 172.31.164.193 1.08 ms * LAN Address 5 43.252.86.209 1.25 ms AS10099 China, Hong Kong, ChinaUnicom 6 202.77.18.161 3.21 ms AS10099 China, Hong Kong, ChinaUnicom 7 202.77.18.98 3.75 ms AS10099 China, Hong Kong, ChinaUnicom 8 61.14.201.73 9.06 ms * China, Hong Kong, ChinaUnicom 9 43.252.86.65 8.07 ms AS10099 China, Hong Kong, ChinaUnicom 10 43.252.86.129 8.06 ms AS10099 China, Hong Kong, ChinaUnicom 11 219.158.10.53 8.57 ms AS4837 China, ChinaUnicom 12 219.158.97.26 9.41 ms AS4837 China, ChinaUnicom 13 219.158.24.125 44.53 ms AS4837 China, ChinaUnicom 14 219.158.22.74 69.11 ms AS4837 China, ChinaUnicom 15 113.207.25.138 80.63 ms AS4837 China, Chongqing, ChinaUnicom ---------------------------------------------------------------------- 成都联通 traceroute to 119.6.6.6 (119.6.6.6), 30 hops max, 32 byte packets 1 * 2 172.31.165.146 0.26 ms * LAN Address 3 172.31.164.217 0.85 ms * LAN Address 4 172.31.164.193 0.91 ms * LAN Address 5 43.252.86.209 0.98 ms AS10099 China, Hong Kong, ChinaUnicom 6 202.77.18.161 2.62 ms AS10099 China, Hong Kong, ChinaUnicom 7 202.77.18.98 5.49 ms AS10099 China, Hong Kong, ChinaUnicom 8 61.14.201.73 6.76 ms * China, Hong Kong, ChinaUnicom 9 43.252.86.65 1.86 ms AS10099 China, Hong Kong, ChinaUnicom 10 43.252.86.129 1.69 ms AS10099 China, Hong Kong, ChinaUnicom 11 219.158.20.97 6.59 ms AS4837 China, ChinaUnicom 12 219.158.96.210 7.47 ms AS4837 China, ChinaUnicom 13 219.158.103.41 56.72 ms AS4837 China, ChinaUnicom 14 219.158.97.74 88.61 ms AS4837 China, ChinaUnicom 15 * 16 119.7.220.226 90.63 ms AS4837 China, Sichuan, Chengdu, ChinaUnicom 17 119.6.6.6 88.01 ms AS4837 China, Sichuan, Chengdu, ChinaUnicom ---------------------------------------------------------------------- 上海移动 traceroute to 120.204.197.126 (120.204.197.126), 30 hops max, 32 byte packets 1 * 2 172.31.165.146 0.50 ms * LAN Address 3 172.31.164.217 0.80 ms * LAN Address 4 172.31.164.193 0.84 ms * LAN Address 5 43.252.86.209 1.21 ms AS10099 China, Hong Kong, ChinaUnicom 6 202.77.18.161 3.46 ms AS10099 China, Hong Kong, ChinaUnicom 7 202.77.18.101 4.24 ms AS10099 China, Hong Kong, ChinaUnicom 8 61.14.201.73 2.36 ms * China, Hong Kong, ChinaUnicom 9 202.77.23.29 7.12 ms AS10099 China, Hong Kong, ChinaUnicom 10 219.158.10.29 10.38 ms AS4837 China, ChinaUnicom 11 219.158.20.221 11.24 ms AS4837 China, ChinaUnicom 12 * 13 219.158.107.29 69.55 ms AS4837 China, ChinaUnicom 14 * 15 219.158.44.58 67.43 ms AS4837 China, ChinaUnicom 16 221.183.86.114 67.43 ms AS9808 China, ChinaMobile 17 111.24.4.74 69.56 ms AS9808 China, ChinaMobile 18 221.183.62.214 68.69 ms AS9808 China, ChinaMobile 19 117.143.13.70 70.75 ms AS24400 China, Shanghai, ChinaMobile 20 120.204.194.14 71.49 ms AS24400 China, Shanghai, ChinaMobile 21 120.204.197.126 70.83 ms AS24400 China, Shanghai, ChinaMobile ---------------------------------------------------------------------- 成都移动 traceroute to 183.221.253.100 (183.221.253.100), 30 hops max, 32 byte packets 1 * 2 172.31.165.146 0.92 ms * LAN Address 3 172.31.164.217 1.15 ms * LAN Address 4 172.31.164.193 1.25 ms * LAN Address 5 43.252.86.209 1.56 ms AS10099 China, Hong Kong, ChinaUnicom 6 202.77.18.161 3.83 ms AS10099 China, Hong Kong, ChinaUnicom 7 202.77.18.98 3.63 ms AS10099 China, Hong Kong, ChinaUnicom 8 61.14.201.73 9.34 ms * China, Hong Kong, ChinaUnicom 9 202.77.23.29 5.23 ms Limit Exceeded! (frk@ipip.net) 10 219.158.10.61 11.35 ms AS4837 China, ChinaUnicom 11 219.158.96.206 14.25 ms AS4837 China, ChinaUnicom 12 219.158.8.121 39.15 ms AS4837 China, ChinaUnicom 13 219.158.97.74 55.55 ms AS4837 China, ChinaUnicom 14 219.158.109.14 57.88 ms AS4837 China, ChinaUnicom 15 219.158.46.114 60.14 ms AS4837 China, ChinaUnicom 16 * 17 * 18 223.87.26.45 58.72 ms AS9808 China, Sichuan, Chengdu, ChinaMobile 19 * 20 223.87.85.54 63.80 ms Limit Exceeded! (frk@ipip.net) 21 183.221.253.100 58.74 ms AS9808 China, Sichuan, Chengdu, ChinaMobile ---------------------------------------------------------------------- 成都教育网 traceroute to 202.112.14.151 (202.112.14.151), 30 hops max, 32 byte packets 1 * 2 172.31.165.146 0.77 ms Limit Exceeded! (frk@ipip.net) 3 * 4 172.31.164.193 1.35 ms Limit Exceeded! (frk@ipip.net) 5 210.48.139.213 3.33 ms Limit Exceeded! (frk@ipip.net) 6 59.43.250.25 2.96 ms Limit Exceeded! (frk@ipip.net) 7 59.43.248.245 8.18 ms Limit Exceeded! (frk@ipip.net) 8 59.43.187.109 11.20 ms Limit Exceeded! (frk@ipip.net) 9 59.43.130.145 10.23 ms Limit Exceeded! (frk@ipip.net) 10 202.97.43.81 11.36 ms Limit Exceeded! (frk@ipip.net) 11 202.97.95.86 12.04 ms Limit Exceeded! (frk@ipip.net) 12 * 13 202.112.61.69 15.49 ms Limit Exceeded! (frk@ipip.net) 14 101.4.117.33 51.02 ms Limit Exceeded! (frk@ipip.net) 15 101.4.112.38 27.33 ms Limit Exceeded! (frk@ipip.net) 16 101.4.112.29 54.12 ms Limit Exceeded! (frk@ipip.net) 17 * 18 * 19 202.115.255.2 54.54 ms Limit Exceeded! (frk@ipip.net) 20 202.115.254.238 50.01 ms Limit Exceeded! (frk@ipip.net) 21 202.115.0.1 51.00 ms Limit Exceeded! (frk@ipip.net) 22 * 23 202.112.14.151 49.43 ms Limit Exceeded! (frk@ipip.net) ----------------------------------------------------------------------
UnixBench跑分可以看出云服务器综合性能,嫌测试麻烦的朋友拿到一台服务器后,可以直接跑个UnixBench看下机器整体情况,结合商家描述信息(这个基本不会错),可以确定要不要买了。

得分小于400的性能比较差、500-1000正常、大于1000优秀、大于2000极好。当然跑分不是认定机器好坏的唯一标准,需要综合考虑。这里跑分1541.8,又是最低配置,主机性能属于优秀级别,同等配置,建议选购UCloud香港快杰S型云服务器!

康维主机测评-网站SEO优化








