老刘博客在前文《UCloud优刻得首发基于Ampere® Altra®处理器的快杰Lite型云主机,上海1核1G内存1M带宽40G系统盘仅450元/年》介绍了UCloud最新推出的ARM架构云服务器:快杰Lite型云主机,价格上看是真便宜,上海1核1G内存1M带宽40G系统盘配置,月付45元,年付450元,2年付836元,3年付1110元,这个价格和之前通用型或者快杰型O和S来说,是真香!那么性能如何呢?老刘博客这里选购了一款最低配置(1核1G内存1M带宽40G系统盘)UCloud ARM架构云服务器进行了评测。
快杰Lite型云主机控制台配置信息
上海二 可用区A 外网IP:113.31.153.89 BGP线路,镜像: CentOS 8.2 aarch64位,CPU: 1核,内存: 1G,系统盘总容量: 40GB,数据盘总容量: 0GB。

快杰Lite型云主机配置信息测试
与官方描述一致,镜像: CentOS 8.2 aarch64位,机器是中国电信公司的。

快杰Lite型云主机IO性能测试
维持了和之前其他类型UCloud云服务器一样的I/O速度,还是这个值:78MB/s。

快杰Lite型云主机上传下载速度测试
国内上传跑满1Mbit/s,下载跑满50Mbit/s(UCloud针对低于50M带宽的下载限速50Mbit/s),延迟很低。

本地实测100MB测试文件上传速度:1.64MB/s。

本地实测100MB测试文件下载速度:114KB/s,和理论值125KB/s相差无几。

快杰Lite型云主机Ping值测试
全国各个省份延迟都在80ms以内,海外地区也不超过270ms。

快杰Lite型云主机去程路由测试
滁州电信去程,走电信AS4134线路。

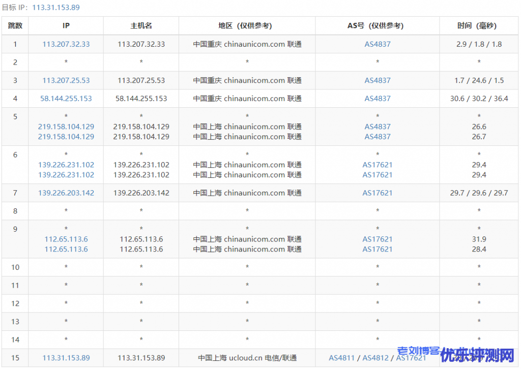
重庆联通去程,走联通AS4837线路。

移动去程,走移动AS9808线路。

从去程路由跟踪测试结果可以知道,各运营商网络去程都走了各自骨干网络,说明该服务器网络是BGP网络线路。
快杰Lite型云主机丢包率测试
国内不丢包,海外仅个别节点少量丢包。

快杰Lite型云主机综合性能测试
最后,用UnixBench脚本跑了下快杰Lite型云主机分数,分值1716.3。得分小于400的性能比较差、500-1000正常、大于1000优秀、大于2000极好。当然跑分不是认定机器好坏的唯一标准,需要综合考虑。这里跑分值属于优秀级别。

通过上面测测评,总体来说性能不错,UCloud快杰Lite型云主机性能不错,对于现在这个原价45元/月(年付450元),可以说是超值了,推荐大家入手。下面指导下大家如何购买。
快杰Lite型云主机购买教程
1,UCloud官网账户注册并实名认证:注册入口>>,注册登录后按提示进行实名认证。
2,登录UCloud官网账户,之后前往控制台,购买云主机,选择相应的配置下单,如下图:

以上就是老刘博客总结的《UCloud ARM架构云服务器_上海1核1G内存1M带宽40G系统盘快杰Lite型云主机最低配置性能测评附购买教程》全部内容,大家有什么疑问或建议,欢迎评论留言。

康维主机测评-网站SEO优化

