华纳云怎么样?华纳云,是领先的数据中心基础业务服务品牌, APNIC和ARIN会员单位,公司总部在香港,有自己的机房。主要为用户提供优质的香港服务器租用、美国/香港云服务器、香港高防服务器、高防IP、机柜出租以及云计算服务。老刘博客有多次提及该商家,如文章《华纳云双十一钜惠,香港/美国云服务器低至3.5折,爆款独享服务器低至4折》,《华纳云耗巨资建设云服务器硬件,助力企业开启云上复工复产加速度》,《华纳云年终钜惠来袭:云服务器半年付低至280元,香港高防低至999元》,《华纳云2021春节不打烊活动:香港/美国云服务器CN2 GIA线路2年付4.4折3年付3.9折》,《华纳云新人专享壕礼:新用户注册送880元现金券附领取地址》以及《华纳云:春节云服务器3.9折优惠,至强E5 8核香港服务器终身¥699/月,免备案,三网直达》,那华纳云服务器究竟怎么样呢?今天老刘博客选购了一台香港CN2线路2核4G内存5M带宽50GB系统盘云服务器(月付207元,新人下单立减40元)进行了性能测评,供网友们参考。
华纳云官网:https://www.hncloud.com/
华纳云香港云服务器推荐:https://www.hncloud.com/hk_ecs.html

主机配置信息及IO性能测试
配置信息和官网选购机器信息一致,IO性能在62.1MB/s,还凑合。

主机Ping值测试
使用站长平台Ping.chinaz.com测试,138个探测点,荷兰最慢264ms,中国香港最快2ms,平均时延47.6ms。

国内节点测速,上传下载速度跑满5Mbps左右,符合官方说法。

老刘博客本地测试了100MB测试文件在此次测试服务器上的上传下载速度,速度接近,一个564,一个581KB/s,与5M带宽理论值640KB/s接近(测试速度受实际测试环境影响)。


主机解锁NetFlix奈飞测试
支持介绍自制剧,不支持解决非自制剧。

主机宝塔跑分测试
云服务器安装宝塔用时8分钟。

宝塔跑分11427,性能彪悍,机器配置信息也与脚本测试结果一致。

主机丢包率测试
全球节点丢包率测试,仅3个节点丢包,丢包率1%,符合正常范围内。

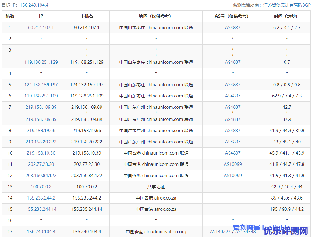
德阳电信去程,走AS4134,而且在成都、广州和香港节点走了59.43,即去程电信CN2

长沙联通去程,走AS4837,即联通163骨干网络

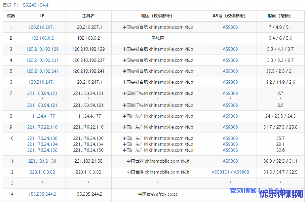
南通移动去程,走AS9808,即移动CMI

四网回程测试,电信回程走AS4809电信精品网络(走59.43,CN2线路),联通/移动回程与去程线路一致。
---------------------------------------------------------------------- 广州电信 traceroute to 14.215.116.1 (14.215.116.1), 30 hops max, 32 byte packets 1 155.235.254.254 5.47 ms AS140227 中国, 香港, afrox.co.za 2 155.235.250.254 3.64 ms AS140227 中国, 香港, afrox.co.za 3 155.235.244.13 4.86 ms * 中国, 香港, afrox.co.za 4 100.70.1.2 6.83 ms * 共享地址 5 63.140.5.141 1.45 ms AS4809 中国, 香港, chinatelecom.com.cn, 电信 6 59.43.247.69 1.90 ms * 中国, 广东, chinatelecom.com.cn, 电信 7 59.43.187.177 5.19 ms * 中国, 香港, chinatelecom.com.cn, 电信 8 * 9 59.43.130.161 15.43 ms * 中国, 广东, 广州, chinatelecom.com.cn, 电信 10 * 11 * 12 * 13 183.56.129.10 8.86 ms AS58466 中国, 广东, 广州, chinatelecom.com.cn, 电信 14 14.215.116.1 8.77 ms AS58466 中国, 广东, 广州, chinatelecom.com.cn, 电信 ---------------------------------------------------------------------- 上海电信 traceroute to 101.95.120.109 (101.95.120.109), 30 hops max, 32 byte packets 1 155.235.254.254 6.58 ms AS140227 中国, 香港, afrox.co.za 2 155.235.250.254 4.41 ms AS140227 中国, 香港, afrox.co.za 3 155.235.244.13 4.86 ms * 中国, 香港, afrox.co.za 4 100.70.1.2 2.77 ms * 共享地址 5 63.140.5.141 1.14 ms AS4809 中国, 香港, chinatelecom.com.cn, 电信 6 59.43.247.69 1.37 ms * 中国, 广东, chinatelecom.com.cn, 电信 7 59.43.183.77 30.79 ms * 中国, 上海, chinatelecom.com.cn, 电信 8 59.43.187.61 30.07 ms * 中国, 上海, chinatelecom.com.cn, 电信 9 59.43.130.217 34.22 ms * 中国, 上海, chinatelecom.com.cn, 电信 10 59.43.80.141 30.59 ms * 中国, 上海, chinatelecom.com.cn, 电信 11 * 12 101.95.120.109 30.18 ms AS4812 中国, 上海, chinatelecom.com.cn, 电信 ---------------------------------------------------------------------- 厦门电信 traceroute to 117.28.254.129 (117.28.254.129), 30 hops max, 32 byte packets 1 155.235.254.254 9.85 ms AS140227 中国, 香港, afrox.co.za 2 155.235.250.254 3.25 ms AS140227 中国, 香港, afrox.co.za 3 155.235.244.13 53.41 ms * 中国, 香港, afrox.co.za 4 hkcomminter1-10g.hkix.net (123.255.92.50) 4.51 ms * 中国, 香港, hkix.net 5 hutchcity11-100g.hkix.net (123.255.91.41) 3.03 ms * 中国, 香港, hkix.net 6 218.188.104.54 2.86 ms AS9304 中国, 香港, hgc.com.hk 7 59.43.188.125 6.19 ms * 中国, 广东, 广州, chinatelecom.com.cn, 电信 8 * 9 59.43.130.113 8.96 ms * 中国, 广东, 广州, chinatelecom.com.cn, 电信 10 59.43.19.198 25.65 ms * 中国, 福建, 厦门, chinatelecom.com.cn, 电信 11 27.159.81.246 33.88 ms AS133775 中国, 福建, 厦门, chinatelecom.com.cn, 电信 12 27.159.81.218 38.09 ms AS133775 中国, 福建, 厦门, chinatelecom.com.cn, 电信 13 117.25.141.110 39.37 ms AS133775 中国, 福建, 厦门, chinatelecom.com.cn, 电信 14 117.28.254.129 26.87 ms AS4809 中国, 福建, 厦门, chinatelecom.com.cn, 电信 ---------------------------------------------------------------------- 重庆联通 traceroute to 113.207.25.138 (113.207.25.138), 30 hops max, 32 byte packets 1 155.235.254.254 7.10 ms AS140227 中国, 香港, afrox.co.za 2 155.235.250.254 3.20 ms AS140227 中国, 香港, afrox.co.za 3 * 4 100.70.0.2 2.66 ms * 共享地址 5 61.14.203.85 1.97 ms * 中国, 香港, chinaunicom.com, 联通 6 202.77.18.194 7.93 ms AS10099 中国, 香港, chinaunicom.com, 联通 7 202.77.23.25 4.03 ms AS10099 中国, 香港, chinaunicom.com, 联通 8 219.158.10.49 7.86 ms AS4837 中国, 广东, 广州, chinaunicom.com, 联通 9 219.158.24.133 11.62 ms AS4837 中国, 广东, 广州, chinaunicom.com, 联通 10 219.158.24.125 10.64 ms AS4837 中国, 广东, 广州, chinaunicom.com, 联通 11 219.158.21.242 31.49 ms AS4837 中国, 重庆, chinaunicom.com, 联通 12 113.207.25.138 26.81 ms AS4837 中国, 重庆, chinaunicom.com, 联通 ---------------------------------------------------------------------- 成都联通 traceroute to 119.6.6.6 (119.6.6.6), 30 hops max, 32 byte packets 1 155.235.254.254 4.97 ms AS140227 中国, 香港, afrox.co.za 2 155.235.250.254 3.92 ms AS140227 中国, 香港, afrox.co.za 3 155.235.244.13 2.96 ms * 中国, 香港, afrox.co.za 4 100.70.0.2 2.84 ms * 共享地址 5 61.14.203.85 2.26 ms * 中国, 香港, chinaunicom.com, 联通 6 202.77.18.194 9.67 ms AS10099 中国, 香港, chinaunicom.com, 联通 7 202.77.23.25 5.70 ms AS10099 中国, 香港, chinaunicom.com, 联通 8 219.158.10.53 8.64 ms AS4837 中国, 广东, 广州, chinaunicom.com, 联通 9 219.158.97.30 9.21 ms AS4837 中国, 广东, 广州, chinaunicom.com, 联通 10 219.158.97.1 8.09 ms AS4837 中国, 广东, 广州, chinaunicom.com, 联通 11 219.158.97.74 37.76 ms AS4837 中国, 四川, 成都, chinaunicom.com, 联通 12 119.6.197.206 37.91 ms AS4837 中国, 四川, 成都, chinaunicom.com, 联通 13 119.7.220.218 37.96 ms AS4837 中国, 四川, 成都, chinaunicom.com, 联通 14 119.6.6.6 38.43 ms AS4837 中国, 四川, 成都, chinaunicom.com, 联通 ---------------------------------------------------------------------- 上海移动 traceroute to 120.204.197.126 (120.204.197.126), 30 hops max, 32 byte packets 1 155.235.254.254 9.26 ms AS140227 中国, 香港, afrox.co.za 2 155.235.250.254 3.15 ms AS140227 中国, 香港, afrox.co.za 3 155.235.244.13 8.18 ms * 中国, 香港, afrox.co.za 4 100.70.2.2 3.44 ms * 共享地址 5 223.119.19.189 3.11 ms AS58453 中国, 香港, chinamobile.com, 移动 6 223.120.3.89 3.24 ms AS58453 中国, 香港, chinamobile.com, 移动 7 223.120.2.41 3.63 ms AS58453 中国, 香港, chinamobile.com, 移动 8 223.120.2.14 9.26 ms AS58453 中国, 广东, 广州, chinamobile.com, 移动 9 223.120.22.5 36.26 ms AS58453 中国, 广东, 广州, chinamobile.com, 移动 10 221.183.55.26 36.04 ms AS9808 中国, 上海, chinamobile.com, 移动 11 221.176.22.205 35.80 ms AS9808 中国, 上海, chinamobile.com, 移动 12 221.176.22.33 38.21 ms AS9808 中国, 上海, chinamobile.com, 移动 13 * 14 117.143.13.202 36.86 ms AS24400 中国, 上海, chinamobile.com, 移动 15 120.204.194.10 39.79 ms AS24400 中国, 上海, chinamobile.com, 移动 16 120.204.197.126 44.12 ms AS24400 中国, 上海, chinamobile.com, 移动 ---------------------------------------------------------------------- 成都移动 traceroute to 183.221.253.100 (183.221.253.100), 30 hops max, 32 byte packets 1 155.235.254.254 4.57 ms AS140227 中国, 香港, afrox.co.za 2 155.235.250.254 2.10 ms AS140227 中国, 香港, afrox.co.za 3 155.235.244.13 12.14 ms * 中国, 香港, afrox.co.za 4 100.70.2.2 3.06 ms * 共享地址 5 223.119.19.189 2.25 ms AS58453 中国, 香港, chinamobile.com, 移动 6 223.120.3.89 11.62 ms AS58453 中国, 香港, chinamobile.com, 移动 7 223.120.2.78 7.65 ms AS58453 中国, 广东, 广州, chinamobile.com, 移动 8 * 9 221.183.25.122 7.83 ms AS9808 中国, 广东, 广州, chinamobile.com, 移动 10 221.176.22.105 7.82 ms AS9808 中国, 广东, 广州, chinamobile.com, 移动 11 221.183.22.34 9.93 ms AS9808 中国, 广东, 广州, chinamobile.com, 移动 12 221.183.11.74 12.36 ms AS9808 中国, 广东, 广州, chinamobile.com, 移动 13 117.134.42.122 14.03 ms AS9808 中国, 广东, 广州, chinamobile.com, 移动 14 183.221.253.100 8.79 ms AS9808 中国, 四川, 成都, chinamobile.com, 移动 ---------------------------------------------------------------------- 成都教育网 traceroute to 202.112.14.151 (202.112.14.151), 30 hops max, 32 byte packets 1 155.235.254.254 4.83 ms AS140227 中国, 香港, afrox.co.za 2 155.235.250.254 1.74 ms AS140227 中国, 香港, afrox.co.za 3 155.235.244.13 9.30 ms * 中国, 香港, afrox.co.za 4 100.70.1.2 4.42 ms * 共享地址 5 63.140.5.141 1.50 ms 访问限制,可联系我们 frk@ipip.net; 注明(BestTrace) 6 59.43.247.69 1.77 ms * 中国, 广东, chinatelecom.com.cn, 电信 7 59.43.248.201 6.14 ms * 中国, 广东, 广州, chinatelecom.com.cn, 电信 8 59.43.187.93 8.92 ms * 中国, 广东, 广州, chinatelecom.com.cn, 电信 9 59.43.130.153 8.73 ms * 中国, 广东, 广州, chinatelecom.com.cn, 电信 10 202.97.55.50 13.17 ms AS4134 中国, 广东, 广州, chinatelecom.com.cn, 电信 11 202.97.63.206 10.25 ms AS4134 中国, 广东, 广州, chinatelecom.com.cn, 电信 12 * 13 202.112.61.69 24.94 ms 访问限制,可联系我们 frk@ipip.net; 注明(BestTrace) 14 101.4.117.33 48.98 ms 访问限制,可联系我们 frk@ipip.net; 注明(BestTrace) 15 * 16 101.4.112.29 50.25 ms 访问限制,可联系我们 frk@ipip.net; 注明(BestTrace) 17 * 18 101.4.116.158 49.02 ms AS4538 中国, 四川, 成都, edu.cn, 教育网 19 202.115.255.2 51.00 ms AS4538 中国, 四川, 成都, 四川教育和科研计算机网, edu.cn, 教育网 20 202.115.254.238 49.38 ms AS4538 中国, 四川, 成都, 四川教育和科研计算机网, edu.cn, 教育网 21 202.115.0.1 49.81 ms 访问限制,可联系我们 frk@ipip.net; 注明(BestTrace) 22 * 23 202.112.14.151 48.03 ms 访问限制,可联系我们 frk@ipip.net; 注明(BestTrace) ----------------------------------------------------------------------
路由测试总结:电信双向CN2线路,联通和移动走各自骨干线路。
主机综合性能测试
用UnixBench脚本跑分,单程跑分1506.3,双程2513.9。得分小于400的性能比较差、500-1000正常、大于1000优秀、大于2000极好。当然跑分不是认定机器好坏的唯一标准,需要综合考虑。这里跑分值属于极好级别。
------------------------------------------------------------------------
Benchmark Run: Fri Apr 23 2021 20:53:26 - 21:21:33
2 CPUs in system; running 1 parallel copy of tests
Dhrystone 2 using register variables 31419607.3 lps (10.0 s, 7 samples)
Double-Precision Whetstone 4121.3 MWIPS (9.9 s, 7 samples)
Execl Throughput 2555.3 lps (30.0 s, 2 samples)
File Copy 1024 bufsize 2000 maxblocks 1052825.7 KBps (30.0 s, 2 samples)
File Copy 256 bufsize 500 maxblocks 310364.4 KBps (30.0 s, 2 samples)
File Copy 4096 bufsize 8000 maxblocks 2009147.5 KBps (30.0 s, 2 samples)
Pipe Throughput 2047528.6 lps (10.0 s, 7 samples)
Pipe-based Context Switching 350056.3 lps (10.0 s, 7 samples)
Process Creation 9770.9 lps (30.0 s, 2 samples)
Shell Scripts (1 concurrent) 5580.1 lpm (60.0 s, 2 samples)
Shell Scripts (8 concurrent) 1164.9 lpm (60.0 s, 2 samples)
System Call Overhead 3462395.5 lps (10.0 s, 7 samples)
System Benchmarks Index Values BASELINE RESULT INDEX
Dhrystone 2 using register variables 116700.0 31419607.3 2692.3
Double-Precision Whetstone 55.0 4121.3 749.3
Execl Throughput 43.0 2555.3 594.3
File Copy 1024 bufsize 2000 maxblocks 3960.0 1052825.7 2658.7
File Copy 256 bufsize 500 maxblocks 1655.0 310364.4 1875.3
File Copy 4096 bufsize 8000 maxblocks 5800.0 2009147.5 3464.0
Pipe Throughput 12440.0 2047528.6 1645.9
Pipe-based Context Switching 4000.0 350056.3 875.1
Process Creation 126.0 9770.9 775.5
Shell Scripts (1 concurrent) 42.4 5580.1 1316.1
Shell Scripts (8 concurrent) 6.0 1164.9 1941.5
System Call Overhead 15000.0 3462395.5 2308.3
========
System Benchmarks Index Score 1506.3
------------------------------------------------------------------------
Benchmark Run: Fri Apr 23 2021 21:21:33 - 21:49:41
2 CPUs in system; running 2 parallel copies of tests
Dhrystone 2 using register variables 62002613.6 lps (10.0 s, 7 samples)
Double-Precision Whetstone 8185.4 MWIPS (9.9 s, 7 samples)
Execl Throughput 7158.6 lps (30.0 s, 2 samples)
File Copy 1024 bufsize 2000 maxblocks 1292323.4 KBps (30.0 s, 2 samples)
File Copy 256 bufsize 500 maxblocks 362123.7 KBps (30.0 s, 2 samples)
File Copy 4096 bufsize 8000 maxblocks 3131149.7 KBps (30.0 s, 2 samples)
Pipe Throughput 3915531.9 lps (10.0 s, 7 samples)
Pipe-based Context Switching 705458.0 lps (10.0 s, 7 samples)
Process Creation 21893.7 lps (30.0 s, 2 samples)
Shell Scripts (1 concurrent) 9193.4 lpm (60.0 s, 2 samples)
Shell Scripts (8 concurrent) 1169.4 lpm (60.1 s, 2 samples)
System Call Overhead 4619449.1 lps (10.0 s, 7 samples)
System Benchmarks Index Values BASELINE RESULT INDEX
Dhrystone 2 using register variables 116700.0 62002613.6 5313.0
Double-Precision Whetstone 55.0 8185.4 1488.2
Execl Throughput 43.0 7158.6 1664.8
File Copy 1024 bufsize 2000 maxblocks 3960.0 1292323.4 3263.4
File Copy 256 bufsize 500 maxblocks 1655.0 362123.7 2188.1
File Copy 4096 bufsize 8000 maxblocks 5800.0 3131149.7 5398.5
Pipe Throughput 12440.0 3915531.9 3147.5
Pipe-based Context Switching 4000.0 705458.0 1763.6
Process Creation 126.0 21893.7 1737.6
Shell Scripts (1 concurrent) 42.4 9193.4 2168.2
Shell Scripts (8 concurrent) 6.0 1169.4 1949.0
System Call Overhead 15000.0 4619449.1 3079.6
========
System Benchmarks Index Score 2513.9
======= Script description and score comparison completed! =======

康维主机测评-网站SEO优化








