快云科技怎么样?快云科技向老刘博客投稿了一篇五一节促销活动内容,见文章《#投稿#快云科技5-1活动大反馈/年付限量50台超级钜惠》,商家也扔来了一枚测试机器:香港云新界CN2线路7区云服务器,由于对商家不甚了解,老刘博客这里测评了这台香港CN2云服务器,于是有了这篇文章,供网友们参考。总结:三网回程并不是官方说的CN2 GIA线路,而是普通CN2。
快云科技官网地址:https://kuaiyunkeji.com,快云科技测试机账密信息,系统是centos 7.6:
| 地区 | IP | 用户名 | 密码 | 端口 |
| 香港7区 | 121.127.241.48 | Root | D*************4 | 22 |
快云科技香港云新界CN2线路7区控制台信息,该配置价格29元/月起:

快云科技香港云新界CN2线路7区测试机配置及IO性能测试,4核4G内存,CPU是Intel(R) Xeon(R) CPU E5-2696 v2 @ 2.50GHz,与控制台描述一致。IO平均速度在324.7MB/s,表现还不错。

快云科技香港云新界CN2线路7区宝塔面板安装与跑分
安装宝塔面板,只花费了不到1分钟的时间。

使用炮台跑分软件,跑分结果是13734,性能彪悍。

快云科技香港云新界CN2线路7区测试机国内三网测速,上传下载均能跑满20Mbps,延迟均在两位数。

快云科技香港云新界CN2线路7区Ping测试,国内各省市平均延迟均在74ms以内。

快云科技香港云新界CN2线路7区丢包率测试,4处节点出现丢包,均在2%以内。

快云科技香港云新界CN2线路7区路由跟踪测试,经过测试确认是CN2 GIA线路,以下是具体分析:
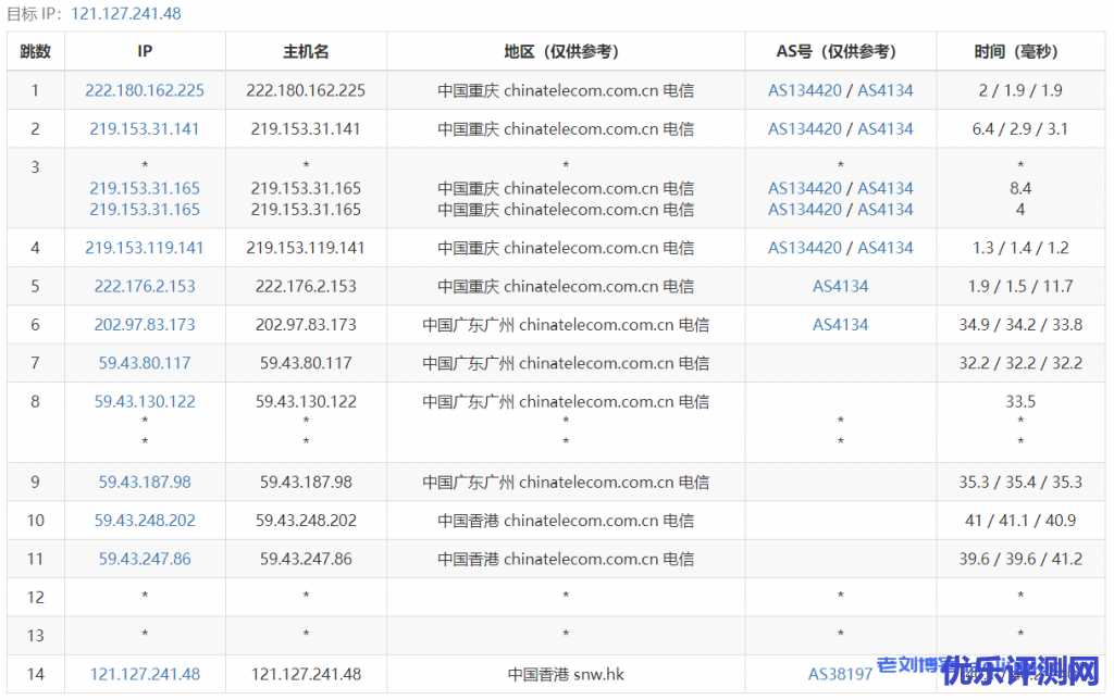
重庆电信去程,走电信AS4134线路,在广州和香港节点走了59.43,即去程电信CN2

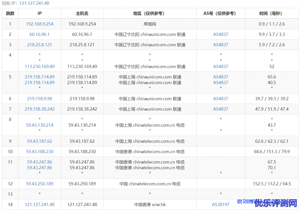
沈阳联通去程,走联系AS4837线路,即联通163骨干网络

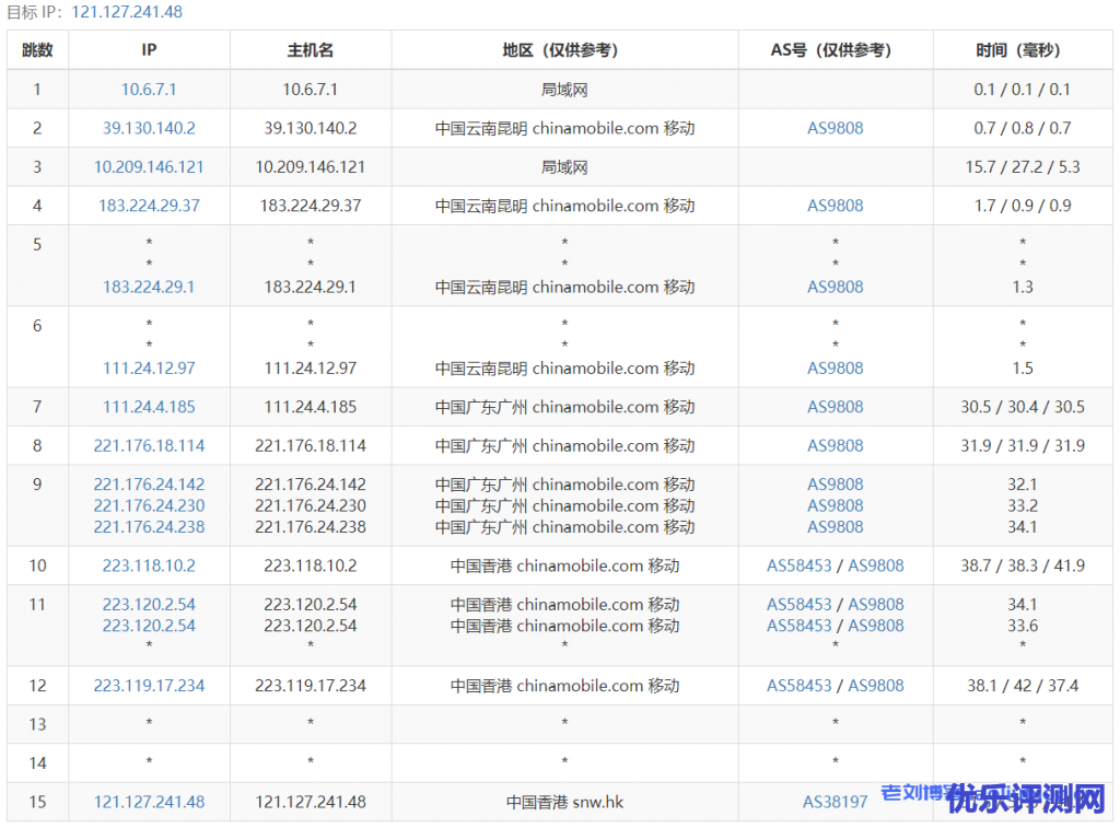
昆明移动去程,走移动AS9808线路,即移动CMI,移动去程直连

三网回程测试都走各自骨干线路,教育网走AS4134线路,且都走59.43节点,即三网回程CN2 GIA线路
---------------------------------------------------------------------- 广州电信 traceroute to 14.215.116.1 (14.215.116.1), 30 hops max, 32 byte packets 1 121.127.241.1 14.40 ms AS38197 中国, 香港, snw.hk 2 10.3.3.1 0.81 ms * 局域网 3 63.140.7.57 1.18 ms AS4809 中国, 香港, chinatelecom.com.cn, 电信 4 59.43.246.177 1.93 ms * 中国, 香港, chinatelecom.com.cn, 电信 5 59.43.250.77 6.23 ms * 中国, 香港, chinatelecom.com.cn, 电信 6 * 7 59.43.130.101 8.22 ms * 中国, 广东, 广州, chinatelecom.com.cn, 电信 8 202.97.43.81 9.44 ms AS4134 中国, 浙江, 杭州, chinatelecom.com.cn, 电信 9 * 10 113.96.4.226 15.21 ms AS58466 中国, 广东, 广州, chinatelecom.com.cn, 电信 11 183.2.145.202 9.05 ms AS58466 中国, 广东, 广州, chinatelecom.com.cn, 电信 12 183.56.129.2 9.31 ms AS58466 中国, 广东, 广州, chinatelecom.com.cn, 电信 13 14.215.116.1 9.34 ms AS58466 中国, 广东, 广州, chinatelecom.com.cn, 电信 ---------------------------------------------------------------------- 上海电信 traceroute to 101.95.120.109 (101.95.120.109), 30 hops max, 32 byte packets 1 121.127.241.1 0.82 ms AS38197 中国, 香港, snw.hk 2 10.3.3.1 0.89 ms * 局域网 3 63.140.7.57 1.17 ms AS4809 中国, 香港, chinatelecom.com.cn, 电信 4 59.43.246.181 1.02 ms * 中国, 香港, chinatelecom.com.cn, 电信 5 59.43.188.229 26.36 ms * 中国, 上海, chinatelecom.com.cn, 电信 6 59.43.246.189 27.86 ms * 中国, 上海, chinatelecom.com.cn, 电信 7 59.43.138.49 32.32 ms * 中国, 上海, chinatelecom.com.cn, 电信 8 101.95.88.174 27.51 ms AS4812 中国, 上海, chinatelecom.com.cn, 电信 9 101.95.120.109 25.65 ms AS4812 中国, 上海, chinatelecom.com.cn, 电信 ---------------------------------------------------------------------- 厦门电信 traceroute to 117.28.254.129 (117.28.254.129), 30 hops max, 32 byte packets 1 121.127.241.1 18.22 ms AS38197 中国, 香港, snw.hk 2 10.3.3.1 1.29 ms * 局域网 3 63.140.7.57 1.03 ms AS4809 中国, 香港, chinatelecom.com.cn, 电信 4 59.43.246.177 1.81 ms * 中国, 香港, chinatelecom.com.cn, 电信 5 59.43.248.201 6.41 ms * 中国, 广东, 广州, chinatelecom.com.cn, 电信 6 * 7 59.43.130.157 10.57 ms * 中国, 广东, 广州, chinatelecom.com.cn, 电信 8 59.43.143.2 31.80 ms * 中国, chinatelecom.com.cn, 电信 9 27.159.81.254 40.81 ms AS133775 中国, 福建, 厦门, chinatelecom.com.cn, 电信 10 27.148.195.98 48.59 ms AS133775 中国, 福建, 厦门, chinatelecom.com.cn, 电信 11 117.25.141.110 41.98 ms AS133775 中国, 福建, 厦门, chinatelecom.com.cn, 电信 12 117.28.254.129 33.11 ms AS4809 中国, 福建, 厦门, chinatelecom.com.cn, 电信 ---------------------------------------------------------------------- 重庆联通 traceroute to 113.207.25.138 (113.207.25.138), 30 hops max, 32 byte packets 1 121.127.241.1 1.75 ms AS38197 中国, 香港, snw.hk 2 10.3.3.1 1.21 ms * 局域网 3 63.140.7.57 1.32 ms AS4809 中国, 香港, chinatelecom.com.cn, 电信 4 59.43.247.93 1.13 ms * 中国, 香港, chinatelecom.com.cn, 电信 5 59.43.183.109 22.27 ms * 中国, 广东, 广州, chinatelecom.com.cn, 电信 6 * 7 59.43.130.121 8.52 ms * 中国, 广东, 广州, chinatelecom.com.cn, 电信 8 219.158.40.169 9.83 ms AS4837 中国, 广东, 广州, chinaunicom.com, 联通 9 219.158.10.249 10.76 ms AS4837 中国, 广东, 广州, chinaunicom.com, 联通 10 219.158.21.242 34.38 ms AS4837 中国, 重庆, chinaunicom.com, 联通 11 113.207.25.138 33.13 ms AS4837 中国, 重庆, chinaunicom.com, 联通 ---------------------------------------------------------------------- 成都联通 traceroute to 119.6.6.6 (119.6.6.6), 30 hops max, 32 byte packets 1 121.127.241.1 1.13 ms AS38197 中国, 香港, snw.hk 2 10.3.3.1 0.82 ms * 局域网 3 63.140.7.57 1.06 ms AS4809 中国, 香港, chinatelecom.com.cn, 电信 4 59.43.246.177 1.84 ms * 中国, 香港, chinatelecom.com.cn, 电信 5 59.43.183.105 5.62 ms * 中国, 广东, 广州, chinatelecom.com.cn, 电信 6 * 7 59.43.130.101 8.31 ms * 中国, 广东, 广州, chinatelecom.com.cn, 电信 8 219.158.38.245 12.00 ms AS4837 中国, 北京, chinaunicom.com, 联通 9 * 10 219.158.97.74 39.44 ms AS4837 中国, 四川, 成都, chinaunicom.com, 联通 11 119.6.197.150 38.32 ms AS4837 中国, 四川, 成都, chinaunicom.com, 联通 12 119.7.220.226 41.45 ms AS4837 中国, 四川, 成都, chinaunicom.com, 联通 13 119.6.6.6 40.60 ms AS4837 中国, 四川, 成都, chinaunicom.com, 联通 ---------------------------------------------------------------------- 上海移动 traceroute to 120.204.197.126 (120.204.197.126), 30 hops max, 32 byte packets 1 121.127.241.1 18.82 ms AS38197 中国, 香港, snw.hk 2 10.3.3.1 32.73 ms * 局域网 3 172.16.100.5 1.16 ms * 局域网 4 172.20.13.84 20.43 ms * 局域网 5 63.140.7.5 1.25 ms AS4809 中国, 香港, chinatelecom.com.cn, 电信 6 59.43.247.93 1.40 ms * 中国, 香港, chinatelecom.com.cn, 电信 7 59.43.248.109 27.36 ms * 中国, 上海, chinatelecom.com.cn, 电信 8 59.43.187.65 31.68 ms * 中国, 上海, chinatelecom.com.cn, 电信 9 59.43.138.45 31.86 ms * 中国, 上海, chinatelecom.com.cn, 电信 10 59.43.80.114 32.00 ms * 中国, 上海, chinatelecom.com.cn, 电信 11 202.97.46.10 28.55 ms AS4134 中国, 上海, chinatelecom.com.cn, 电信 12 * 13 221.183.90.237 30.58 ms AS9808 中国, chinamobile.com, 移动 14 221.183.60.50 32.53 ms AS9808 中国, 上海, chinamobile.com, 移动 15 120.204.194.14 35.19 ms AS9808,AS24400 中国, 上海, chinamobile.com, 移动 16 120.204.197.126 32.57 ms AS9808,AS24400 中国, 上海, chinamobile.com, 移动 ---------------------------------------------------------------------- 成都移动 traceroute to 183.221.253.100 (183.221.253.100), 30 hops max, 32 byte packets 1 121.127.241.1 2.66 ms AS38197 中国, 香港, snw.hk 2 10.3.3.1 4.03 ms * 局域网 3 172.16.100.5 23.97 ms * 局域网 4 172.20.13.84 6.05 ms * 局域网 5 63.140.7.5 1.09 ms AS4809 中国, 香港, chinatelecom.com.cn, 电信 6 59.43.247.93 1.26 ms * 中国, 香港, chinatelecom.com.cn, 电信 7 59.43.248.249 5.82 ms * 中国, 广东, 广州, chinatelecom.com.cn, 电信 8 59.43.187.149 39.14 ms * 中国, 广东, 广州, chinatelecom.com.cn, 电信 9 59.43.130.113 12.94 ms * 中国, 广东, 广州, chinatelecom.com.cn, 电信 10 59.43.80.126 12.22 ms * 中国, 广东, 广州, chinatelecom.com.cn, 电信 11 202.97.65.202 37.63 ms * 中国, 四川, 成都, chinatelecom.com.cn, 电信 12 * 13 221.183.65.253 39.82 ms AS9808 中国, 四川, 成都, chinamobile.com, 移动 14 221.176.20.149 37.44 ms AS9808 中国, 四川, 成都, chinamobile.com, 移动 15 221.176.20.125 37.22 ms AS9808 中国, 广东, 广州, chinamobile.com, 移动 16 221.183.22.34 38.46 ms AS9808 中国, 广东, 广州, chinamobile.com, 移动 17 221.183.37.114 40.21 ms AS9808 中国, 广东, 广州, chinamobile.com, 移动 18 117.134.42.122 39.41 ms AS9808 中国, 广东, 广州, chinamobile.com, 移动 19 183.221.253.100 38.65 ms AS9808 中国, 四川, 成都, chinamobile.com, 移动 ---------------------------------------------------------------------- 成都教育网 traceroute to 202.112.14.151 (202.112.14.151), 30 hops max, 32 byte packets 1 121.127.241.1 3.71 ms AS38197 中国, 香港, snw.hk 2 10.3.3.1 1.74 ms * 局域网 3 63.140.7.57 1.29 ms AS4809 中国, 香港, chinatelecom.com.cn, 电信 4 59.43.247.93 1.13 ms * 中国, 香港, chinatelecom.com.cn, 电信 5 59.43.183.109 12.21 ms * 中国, 广东, 广州, chinatelecom.com.cn, 电信 6 59.43.187.145 8.57 ms * 中国, 广东, 广州, chinatelecom.com.cn, 电信 7 59.43.130.157 12.34 ms * 中国, 广东, 广州, chinatelecom.com.cn, 电信 8 202.97.55.54 14.74 ms AS4134 中国, 广东, 广州, chinatelecom.com.cn, 电信 9 202.97.18.241 9.53 ms AS4134 中国, 广东, 广州, chinatelecom.com.cn, 电信 10 * 11 101.4.114.70 8.56 ms AS4538 中国, edu.cn, 教育网 12 101.4.117.217 48.52 ms AS4538 中国, 上海, edu.cn, 教育网 13 101.4.116.90 48.44 ms AS4538 中国, 四川, 成都, edu.cn, 教育网 14 202.115.255.2 51.10 ms AS4538 中国, 四川, 成都, 四川教育和科研计算机网, edu.cn, 教育网 15 202.115.254.238 49.57 ms AS4538 中国, 四川, 成都, 四川教育和科研计算机网, edu.cn, 教育网 16 * 17 * 18 202.112.14.151 48.03 ms AS24355 中国, 四川, 成都, edu.cn, 教育网 ----------------------------------------------------------------------
可以看到快云科技香港云新界CN2线路7区云服务器,电信去程走了59.43的路由,回程也走59.43的路由,不过也都走了202.97的路由,电信是普通CN2线路,联通移动回程也走59.43的路由,联通去程出国也走59.43的CN2线路,移动去程直连。等于电信去程CN2、联通去程CN2、三网回程CN2(但不是官方描述的CN2 GIA线路,有路由走了202.97的路由,是普通CN2线路)。
快云科技香港云新界CN2线路7区综合性能测试
用UnixBench脚本跑分值是2890.1(4程跑分)。得分小于400的性能比较差、500-1000正常、大于1000优秀、大于2000极好。当然跑分不是认定机器好坏的唯一标准,需要综合考虑。这里跑分值2890.1属于极好级别。


康维主机测评-网站SEO优化








