Lightlayer 这是一个成立不久的香港主机商,实际上他们的母公司我们有些朋友应该熟悉的Megalayer 服务商。他们母公司主营独立服务器和VPS业务的,而他们的新成立的Lightlayer主营的轻量服务器。目前也有多个线路,包括在这篇文章准备测评的台湾VPS网络,且有普通国际线路(Global Network)和优化精品网络(Premium Network)。
在这篇文章中,我们打算简单的测评优化精品网络(Premium Network)台湾VPS,如果我们有需要的也可以选择。毕竟在台湾VPS可选商家和产品中相比其他还是不多的。

Lightlayer台湾精品网络VPS默认起步的配置1核、1G、5M不限流量配置,自带一个独立IP地址。默认有4个套餐可选,当然后者三个是可以根据需要升级的。
我们先看看本地的PING速度延迟。

我们可以看到选择的台湾VPS精品网络的测评性能本地PING速度基本上在50ms左右,速度还是不错的。

全球随机节点的PING延迟测速,可以看到亚洲的速度还是比较完美的,毕竟我们选择优化线路肯定是服务我们亚洲地区的。如果我们选择全球节点线路,那你要服务的是欧美或者海外业务。
我们再看看全球网络的稳定延迟情况。

以上是通过工具检测到随机的全球节点的延迟情况,可以看到稳定性还是非常高的。基本没有丢包的情况。
我们这里再看看国内传统三网的去程线路。
电信节点去程:

我们可以看到走的是59.43精品网络上海出口去的香港CTG网络然后再到台湾的。
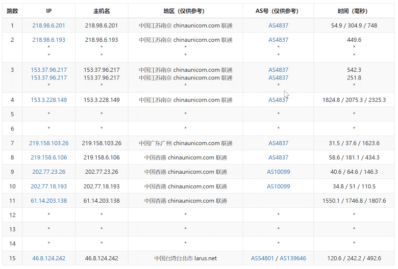
联通去程线路测试:

我们可以看到联通线路走的是广州219节点出去到香港联通再到台湾的。
移动节点去程测试:

我们可以看到移动节点走的是上海去香港移动的,再到台北。
最后,我们看看台湾VPS优化网络的线路方案。
| 核心 | 内存 | 带宽 | 价格 | 链接 |
| 1核心 | 1G | 5M/不限 | $5.00/月 | 立即选购 |
| 2核心 | 2G | 10M/不限(可升级) | $17.00/月 | 立即选购 |
| 1核心 | 1G | 10M/1T | $5.00/月 | 立即选购 |
| 2核心 | 2G | 20M/1T(可升级) | $17.00/月 | 立即选购 |
我们可以看到配置上有固定的套餐,也有可以根据需要升级硬件的。可以选择Linux和Windows系统的。
从这里测评可以看到 LightLayer服务商的台湾VPS精品网络对于有需要我们大陆、亚洲地区的云业务是可以选择的,且稳定性网络延迟都是比较好的,可以说在为数不多的有提供需要台湾VPS商家中还是有竞争力的。
投上你的一票

康维主机测评-网站SEO优化



