UFOVPS算是一个老牌的香港云服务商,有提供中国香港、美国、日本等机房的云服务器产品。对于香港云服务器机房有提供CN2和CN2 GIA云服务器和大带宽服务器,适合有需要追求速度较好的香港主机产品的用户。其中我们看到有CN2和CN2 GIA两个方案线路可选,前者其实也是直连CN2线路,但是相比,后者会更优秀一些,算是精品网络。
根据不同大带宽要求和流量的特点,有普通固定带宽不限制流量,还有大带宽限制流量的套餐。
1、香港云服务器固定带宽
| 内存 | 核心 | 硬盘 | 流量 | 带宽 | 价格 | 选择 |
| 1GB | 2核 | 30GB | 不限 | 2M | 58元/月 | 链接 |
| 1GB | 2核 | 50GB | 不限 | 2M | 68元/月 | 链接 |
| 2GB | 2核 | 80GB | 不限 | 3M | 98元/月 | 链接 |
| 3GB | 4核 | 100GB | 不限 | 3M | 198元/月 | 链接 |
2、香港云服务器大带宽
大带宽最高可以选择50M带宽,但是流量是有限制的。
| 内存 | 核心 | 硬盘 | 流量 | 带宽 | 价格 | 选择 |
| 1GB | 2核 | 20GB SSD | 不限 | 2M | 69元/月 | 链接 |
| 2GB | 2核 | 30GB SSD | 不限 | 2M | 89元/月 | 链接 |
| 2GB | 2核 | 40GB SSD | 不限 | 2M | 129元/月 | 链接 |
| 3GB | 4核 | 50GB SSD | 不限 | 3M | 229元/月 | 链接 |
如果我们要追求较好速度和稳定性,建议优先选择CN2 GIA线路方案,这里我们也测试看看。

这里先看看我们本地的晚高峰的PING值速度。平均在50ms内的,还是相对稳定。

在看看全球的随机节点PING速度测试,可以看到亚洲的节点确实速度比较好。
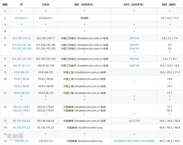
电信去程:

联通去程:

移动去程:

我们可以看到测试IP节点电信走的是CN2优化线路59.43节点,联通和移动也是走的各自优化线路。
如果我们有需要香港CN2云服务器这里UFOVPS又多一个选择。
投上你的一票

康维主机测评-网站SEO优化






